TOP
|
特許
|
意匠
|
商標
特許ウォッチ
Twitter
他の特許を見る
公開番号
2025150676
公報種別
公開特許公報(A)
公開日
2025-10-09
出願番号
2024051690
出願日
2024-03-27
発明の名称
情報処理装置、情報処理方法及びプログラム
出願人
KDDI株式会社
代理人
弁理士法人創光国際特許事務所
主分類
G06Q
50/10 20120101AFI20251002BHJP(計算;計数)
要約
【課題】ユーザに動画コンテンツを構成する素材の投稿を促す。
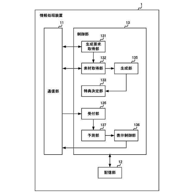
【解決手段】ユーザが所定のサービスに投稿した情報を素材として構成されるコンテンツを生成する要求である生成要求を取得する生成要求取得部131と、素材を投稿したユーザを識別するためのユーザ識別情報と関連付けた素材情報を記憶する記憶部12と、生成要求に応じて生成するコンテンツに適用する素材を取得する素材取得部132と、生成要求に対応するコンテンツが生成された場合に、コンテンツに適用された素材を投稿したユーザに付与する特典を決定する特典決定部133と、を有する情報処理装置1である。
【選択図】図2
特許請求の範囲
【請求項1】
ユーザが所定のサービスに投稿した情報を素材として構成されるコンテンツを生成する要求である生成要求を取得する生成要求取得部と、
前記素材を投稿したユーザを識別するためのユーザ識別情報と関連付けた素材情報を記憶する記憶部と、
前記生成要求に応じて生成するコンテンツに適用する素材を取得する素材取得部と、
前記生成要求に対応するコンテンツが生成された場合に、前記コンテンツに適用された素材を投稿したユーザに付与する特典を決定する特典決定部と、
を有する情報処理装置。
続きを表示(約 1,200 文字)
【請求項2】
前記素材取得部が取得した素材に基づいてコンテンツを生成する生成部をさらに有する、
請求項1に記載の情報処理装置。
【請求項3】
前記記憶部は、前記生成部が生成したコンテンツと、該コンテンツに適用された素材と、該素材を投稿したユーザのユーザ識別情報と、を関連付けたコンテンツ情報をさらに記憶し、
前記特典決定部は、前記コンテンツ情報を参照し、前記コンテンツに関連付けられた該コンテンツに適用された素材を投稿したユーザに付与する特典を決定する、
請求項2に記載の情報処理装置。
【請求項4】
前記コンテンツ情報は、生成したコンテンツに適用された素材の態様をさらに含み、
前記特典決定部は、前記コンテンツ情報において関連付けられた素材の態様に基づいて、コンテンツに適用された素材を投稿したユーザに付与する特典を決定する、
請求項3に記載の情報処理装置。
【請求項5】
前記特典決定部は、前記コンテンツ情報において同一の素材に複数のユーザ識別情報が関連付けられている場合、当該素材に付与する特典を、当該素材に関連付けられたユーザ識別情報が示す複数のユーザで按分して当該複数のユーザに付与する特典を決定する、
請求項3に記載の情報処理装置。
【請求項6】
前記素材取得部は、前記素材情報においてユーザ識別情報が関連付けられた素材をコンテンツに適用する素材として取得する、
請求項1に記載の情報処理装置。
【請求項7】
ユーザから素材の投稿を受け付ける受付部と、
該ユーザが投稿する素材がコンテンツに適用されやすさを示す見込情報を予測する予測部と、
前記見込情報を表示させる表示制御部と、
をさらに有する、請求項1に記載の情報処理装置。
【請求項8】
生成されたコンテンツの再生回数を取得する受付部をさらに有し、
前記特典決定部は、コンテンツの再生回数に基づいて、当該コンテンツに適用された素材を投稿したユーザに付与する特典を決定する、
請求項1に記載の情報処理装置。
【請求項9】
生成されたコンテンツに対する評価を受付ける受付部をさらに有し、
前記特典決定部は、コンテンツに対応する評価に基づいて、当該コンテンツに適用された素材を投稿したユーザに付与する特典を決定する、
請求項1に記載の情報処理装置。
【請求項10】
前記記憶部は、ユーザ識別情報と、該ユーザ識別情報に対応するユーザのランクと、を関連付けたユーザ情報をさらに記憶し、
前記特典決定部は、前記ユーザ情報においてコンテンツに関連付けられた素材を投稿したユーザのランクに基づいて、当該ユーザに付与する特典を決定する、
請求項1に記載の情報処理装置。
(【請求項11】以降は省略されています)
発明の詳細な説明
【技術分野】
【0001】
本発明は、情報処理装置、情報処理方法及びプログラムに関する。
続きを表示(約 1,100 文字)
【背景技術】
【0002】
素材を組み合わせることでコンテンツを構成する装置が知られている(例えば、特許文献1を参照)。
【先行技術文献】
【特許文献】
【0003】
特開2024-027453号公報
【発明の概要】
【発明が解決しようとする課題】
【0004】
しかし、このような手法により様々なユーザに受け入れられるコンテンツを制作するためには様々な素材を蓄積する必要がある一方、特定の事業者が様々な素材を収集、蓄積する負担が大きく困難である。
【0005】
そこで、本発明はこれらの点に鑑みてなされたものであり、ユーザに動画コンテンツを構成する素材の投稿を促すインセンティブを付与することを目的とする。
【課題を解決するための手段】
【0006】
本発明の第1の態様の情報処理装置においては、ユーザが所定のサービスに投稿した情報を素材として構成されるコンテンツを生成する要求である生成要求を取得する生成要求取得部と、前記素材を投稿したユーザを識別するためのユーザ識別情報と関連付けた素材情報を記憶する記憶部と、前記生成要求に応じて生成するコンテンツに適用する素材を取得する素材取得部と、前記生成要求に対応するコンテンツが生成された場合に、前記コンテンツに適用された素材を投稿したユーザに付与する特典を決定する特典決定部と、を有する。
【0007】
前記素材取得部が取得した素材に基づいてコンテンツを生成する生成部をさらに有してもよい。
【0008】
前記記憶部は、前記生成部が生成したコンテンツと、該コンテンツに適用された素材と、該素材を投稿したユーザのユーザ識別情報と、を関連付けたコンテンツ情報をさらに記憶し、前記特典決定部は、前記コンテンツ情報を参照し、前記コンテンツに関連付けられた該コンテンツに適用された素材を投稿したユーザに付与する特典を決定してもよい。
【0009】
前記コンテンツ情報は、生成したコンテンツに適用された素材の態様をさらに含み、前記特典決定部は、前記コンテンツ情報において関連付けられた素材の態様に基づいて、コンテンツに適用された素材を投稿したユーザに付与する特典を決定してもよい。
【0010】
前記特典決定部は、前記コンテンツ情報において同一の素材に複数のユーザ識別情報が関連付けられている場合、当該素材に付与する特典を、当該素材に関連付けられたユーザ識別情報が示す複数のユーザで按分して当該複数のユーザに付与する特典を決定してもよい。
(【0011】以降は省略されています)
この特許をJ-PlatPat(特許庁公式サイト)で参照する
関連特許
KDDI株式会社
無線デバイス及びプログラム
3日前
KDDI株式会社
基地局及び基地局の制御方法
23日前
KDDI株式会社
情報処理装置及び情報処理方法
1か月前
KDDI株式会社
情報処理装置及び情報処理方法
1か月前
KDDI株式会社
基地局装置およびその通信方法
25日前
KDDI株式会社
情報処理装置及び情報処理方法
24日前
KDDI株式会社
情報処理装置及び情報処理方法
24日前
KDDI株式会社
制御装置、方法及びプログラム
24日前
KDDI株式会社
情報処理装置及び情報処理方法
24日前
KDDI株式会社
情報処理装置及び情報処理方法
23日前
KDDI株式会社
情報処理装置及び情報処理方法
25日前
KDDI株式会社
情報処理装置及び情報処理方法
1か月前
KDDI株式会社
情報処理装置、方法及びプログラム
23日前
KDDI株式会社
情報処理装置、学習装置及びプログラム
24日前
KDDI株式会社
基地局装置、端末装置及び無線通信方法
23日前
KDDI株式会社
評価装置、評価方法及び評価プログラム
3日前
KDDI株式会社
ログ処理装置、端末、方法及びプログラム
18日前
KDDI株式会社
画像復号装置、画像復号方法及びプログラム
11日前
KDDI株式会社
情報処理装置、情報処理方法及びプログラム
25日前
KDDI株式会社
情報処理装置、情報処理方法及びプログラム
24日前
KDDI株式会社
情報処理装置、情報処理方法及びプログラム
24日前
KDDI株式会社
情報処理装置、情報処理方法及びプログラム
24日前
KDDI株式会社
情報処理装置、情報処理方法及びプログラム
24日前
KDDI株式会社
情報処理装置、情報処理方法及びプログラム
24日前
KDDI株式会社
プログラム、情報処理端末及び情報処理方法
24日前
KDDI株式会社
情報処理装置、情報処理方法及びプログラム
24日前
KDDI株式会社
画像復号装置、画像復号方法及びプログラム
11日前
KDDI株式会社
情報処理装置、情報処理方法及びプログラム
26日前
KDDI株式会社
情報処理装置、情報処理方法及びプログラム
26日前
KDDI株式会社
定量化装置、定量化方法及び定量化プログラム
9日前
KDDI株式会社
ネットワーク制御方法、システム及びプログラム
26日前
KDDI株式会社
通知装置、通知方法、通知システム及びプログラム
23日前
KDDI株式会社
メッシュ復号装置、メッシュ復号方法及びプログラム
9日前
KDDI株式会社
メッシュ復号装置、メッシュ復号方法及びプログラム
1か月前
KDDI株式会社
メッシュ復号装置、メッシュ復号方法及びプログラム
9日前
KDDI株式会社
メッシュ復号装置、メッシュ復号方法及びプログラム
9日前
続きを見る
他の特許を見る