TOP
|
特許
|
意匠
|
商標
特許ウォッチ
Twitter
他の特許を見る
10個以上の画像は省略されています。
公開番号
2025145302
公報種別
公開特許公報(A)
公開日
2025-10-03
出願番号
2024045407
出願日
2024-03-21
発明の名称
情報処理装置及び情報処理方法
出願人
KDDI株式会社
代理人
弁理士法人創光国際特許事務所
主分類
G06Q
30/0207 20230101AFI20250926BHJP(計算;計数)
要約
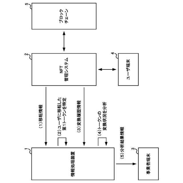
【課題】第1トークンをユーザに付与する事業者が、ユーザの第1トークンの使用状況を把握しやすくする。
【解決手段】情報処理装置1は、第1事業者が運営する店舗がユーザに付与する第1トークンの、ブロックチェーン上における所有者の移転状況を示す移転情報を取得する第1取得部131と、移転情報に基づいて、複数の第1トークンのうち、ユーザに移転した第1トークンである移転済第1トークンを特定する特定部132と、第2事業者が提供するサービスであって、移転済第1トークンを第2トークンに変換するサービスにおける、移転済第1トークンと第2トークンとの変換履歴を示す変換履歴情報を取得する第2取得部133と、変換履歴情報に基づいて、移転済第1トークンと第2トークンとの変換状況を分析する分析部134と、分析部134による分析結果を出力する出力部135と、を有する。
【選択図】図2
特許請求の範囲
【請求項1】
第1事業者が運営する店舗がユーザに付与する非代替性トークンであって、第1コンテンツと関連付けられた前記非代替性トークンである第1トークンの、ブロックチェーン上における所有者の移転状況を示す移転情報を取得する第1取得部と、
前記第1取得部が取得した前記移転情報に基づいて、複数の第1トークンのうち、ユーザに移転した第1トークンである移転済第1トークンを特定する特定部と、
第2事業者が提供するサービスであって、前記移転済第1トークンを、前記第1コンテンツと異なる第2コンテンツと関連付けられた非代替性トークンである第2トークンに変換するサービスにおける、前記移転済第1トークンと前記第2トークンとの変換履歴を示す変換履歴情報を取得する第2取得部と、
前記第2取得部が取得した前記変換履歴情報に基づいて、前記移転済第1トークンと前記第2トークンとの変換状況を分析する分析部と、
前記分析部による分析結果を出力する出力部と、
を有する情報処理装置。
続きを表示(約 1,700 文字)
【請求項2】
前記分析部は、前記移転済第1トークンの数と、前記第2トークンに引き換えられた前記移転済第1トークンの数との関係を分析する、
請求項1に記載の情報処理装置。
【請求項3】
前記特定部は、前記第1トークンの発行数を特定し、
前記分析部は、前記第1トークンの発行数と、前記第2トークンに引き換えられた前記第1トークンの数との関係を分析する、
請求項1に記載の情報処理装置。
【請求項4】
前記第1取得部は、前記第1トークンの所有者が移転した日時を示す移転日時情報を含む前記移転情報を取得し、
前記第2取得部は、前記第1トークンが前記第2トークンに変換された日時を示す変換日時情報を含む前記変換履歴情報を取得し、
前記分析部は、前記移転情報と、前記変換履歴情報とに基づいて、所定期間にわたって前記第2トークンに変換されていない前記移転済第1トークンの数を分析する、
請求項1に記載の情報処理装置。
【請求項5】
前記第2トークンは、前記店舗で利用可能な特典の付与を受けるために使用可能なトークンである、
請求項1に記載の情報処理装置。
【請求項6】
前記第2取得部は、前記店舗における前記特典の付与を受けるために使用された前記第2トークンの使用履歴を示す使用履歴情報を取得し、
前記分析部は、前記変換履歴情報と前記使用履歴情報とに基づいて、前記第1トークンと交換された複数の第2トークンの数と、前記特典の付与を受けるために使用された第2トークンの数との関係を分析する、
請求項5に記載の情報処理装置。
【請求項7】
前記サービスは、前記第1トークンを前記第2トークンに変換するとともに、複数の前記第2トークンを使用することにより、複数の前記第2トークンを、前記店舗で利用可能な特典の付与を受けるために使用可能な非代替性トークンである第3トークンに変換するサービスであり、
前記第2取得部は、前記サービスにおける、複数の前記第2トークンと前記第3トークンとの変換履歴を示す第2変換履歴情報を取得し、
前記分析部は、前記第2取得部が取得した前記第2変換履歴情報に基づいて、複数の前記第2トークンと前記第3トークンとの変換状況を分析する、
請求項1に記載の情報処理装置。
【請求項8】
前記第2取得部は、前記第2変換履歴情報と、前記店舗における前記第3トークンの使用履歴を示す使用履歴情報とを取得し、
前記分析部は、前記第2変換履歴情報と前記使用履歴情報とに基づいて、前記第2トークンと交換された第3トークンの数と、前記特典の付与を受けるために使用された第3トークンの数との関係を分析する、
請求項7に記載の情報処理装置。
【請求項9】
前記第2取得部は、前記第1トークンが前記第2トークンに変換された日時を示す第1変換日時情報を含む前記変換履歴情報と、前記第2変換履歴情報とを取得し、
前記分析部は、前記変換履歴情報及び前記第2変換履歴情報に基づいて、所有者がユーザであるとともに、所定期間にわたって前記第3トークンに変換されていない第2トークンの数を分析する、
請求項7に記載の情報処理装置。
【請求項10】
前記第2トークンには、複数の種別の前記第2コンテンツが関連付けられており、
前記ユーザは、自身が所有する前記複数の種別の前記第2コンテンツそれぞれに関連付けられている複数の第2トークンを使用することにより、前記複数の第2トークンと前記第3トークンとを交換可能であり、
前記分析部は、所有者がユーザであるとともに、所定期間にわたって前記第3トークンに変換されていない第2トークンの数を、第2トークンに関連付けられている前記第2コンテンツの種別ごとに分析する、
請求項9に記載の情報処理装置。
(【請求項11】以降は省略されています)
発明の詳細な説明
【技術分野】
【0001】
本発明は、情報処理装置及び情報処理方法に関する。
続きを表示(約 1,900 文字)
【背景技術】
【0002】
従来、ユーザが店舗において決済したことに応じて、店舗に関連する特典として、非代替性トークンをユーザに付与することが行われている(例えば、特許文献1を参照)。
【先行技術文献】
【特許文献】
【0003】
特開2023-118282号公報
【発明の概要】
【発明が解決しようとする課題】
【0004】
店舗に関連する特典をユーザに付与する際の面白みを高めるために、ユーザに付与された第1トークンを使用して、特典を付与するための抽選を行い、抽選結果に基づいて第1トークンと、特典としての第2トークンとを引き換えることがある。この場合に、第1トークンをユーザに付与する事業者と、第1トークンと第2トークンとの変換を行うサービスを提供する事業者とが異なると、第1トークンをユーザに付与する事業者が、第1トークンと第2トークンとの変換状況等のユーザの第1トークンの使用状況を把握しにくいという問題が発生する。
【0005】
そこで、本発明はこれらの点に鑑みてなされたものであり、第1トークンをユーザに付与する事業者が、ユーザの第1トークンの使用状況を把握しやすくすることを目的とする。
【課題を解決するための手段】
【0006】
本発明の第1の態様に係る情報処理装置は、第1事業者が運営する店舗がユーザに付与する非代替性トークンであって、第1コンテンツと関連付けられた前記非代替性トークンである第1トークンの、ブロックチェーン上における所有者の移転状況を示す移転情報を取得する第1取得部と、前記第1取得部が取得した前記移転情報に基づいて、複数の第1トークンのうち、ユーザに移転した第1トークンである移転済第1トークンを特定する特定部と、第2事業者が提供するサービスであって、前記移転済第1トークンを、前記第1コンテンツと異なる第2コンテンツと関連付けられた非代替性トークンである第2トークンに変換するサービスにおける、前記移転済第1トークンと前記第2トークンとの変換履歴を示す変換履歴情報を取得する第2取得部と、前記第2取得部が取得した前記変換履歴情報に基づいて、前記移転済第1トークンと前記第2トークンとの変換状況を分析する分析部と、前記分析部による分析結果を出力する出力部と、を有する。
【0007】
前記分析部は、前記移転済第1トークンの数と、前記第2トークンに引き換えられた前記移転済第1トークンの数との関係を分析してもよい。
前記特定部は、前記第1トークンの発行数を特定し、前記分析部は、前記第1トークンの発行数と、前記第2トークンに引き換えられた前記第1トークンの数との関係を分析してもよい。
【0008】
前記第1取得部は、前記第1トークンの所有者が移転した日時を示す移転日時情報を含む前記移転情報を取得し、前記第2取得部は、前記第1トークンが前記第2トークンに変換された日時を示す変換日時情報を含む前記変換履歴情報を取得し、前記分析部は、前記移転情報と、前記変換履歴情報とに基づいて、所定期間にわたって前記第2トークンに変換されていない前記移転済第1トークンの数を分析してもよい。
【0009】
前記第2トークンは、前記店舗で利用可能な特典の付与を受けるために使用可能なトークンであってもよい。
前記第2取得部は、前記店舗における前記特典の付与を受けるために使用された前記第2トークンの使用履歴を示す使用履歴情報を取得し、前記分析部は、前記変換履歴情報と前記使用履歴情報とに基づいて、前記第1トークンと交換された複数の第2トークンの数と、前記特典の付与を受けるために使用された第2トークンの数との関係を分析してもよい。
【0010】
前記サービスは、前記第1トークンを前記第2トークンに変換するとともに、複数の前記第2トークンを使用することにより、複数の前記第2トークンを、前記店舗で利用可能な特典の付与を受けるために使用可能な非代替性トークンである第3トークンに変換するサービスであり、前記第2取得部は、前記サービスにおける、複数の前記第2トークンと前記第3トークンとの変換履歴を示す第2変換履歴情報を取得し、前記分析部は、前記第2取得部が取得した前記第2変換履歴情報に基づいて、複数の前記第2トークンと前記第3トークンとの変換状況を分析してもよい。
(【0011】以降は省略されています)
特許ウォッチbot のツイートを見る
この特許をJ-PlatPat(特許庁公式サイト)で参照する
関連特許
KDDI株式会社
篏合音検出装置
6日前
KDDI株式会社
無線デバイス及びプログラム
1か月前
KDDI株式会社
評価装置、評価方法及び評価プログラム
1か月前
KDDI株式会社
ログ処理装置、端末、方法及びプログラム
1か月前
KDDI株式会社
画像復号装置、画像復号方法及びプログラム
1か月前
KDDI株式会社
画像復号装置、画像復号方法及びプログラム
1か月前
KDDI株式会社
情報処理装置、情報処理方法及びプログラム
20日前
KDDI株式会社
定量化装置、定量化方法及び定量化プログラム
1か月前
KDDI株式会社
通信装置、通信方法及びコンピュータプログラム
14日前
KDDI株式会社
情報処理装置、情報処理システム及び情報処理方法
6日前
KDDI株式会社
メッシュ復号装置、メッシュ復号方法及びプログラム
1か月前
KDDI株式会社
メッシュ復号装置、メッシュ復号方法及びプログラム
1か月前
KDDI株式会社
メッシュ復号装置、メッシュ復号方法及びプログラム
1か月前
KDDI株式会社
メッシュ復号装置、メッシュ復号方法及びプログラム
1か月前
KDDI株式会社
メッシュ復号装置、メッシュ復号方法及びプログラム
1か月前
KDDI株式会社
メッシュ復号装置、メッシュ復号方法及びプログラム
1か月前
KDDI株式会社
メッシュ復号装置、メッシュ復号方法及びプログラム
1か月前
KDDI株式会社
メッシュ復号装置、メッシュ復号方法及びプログラム
1か月前
KDDI株式会社
メッシュ復号装置、メッシュ復号方法及びプログラム
1か月前
KDDI株式会社
鍵生成装置、鍵生成方法及びコンピュータプログラム
14日前
KDDI株式会社
安全性評価装置、安全性評価方法及び安全性評価プログラム
14日前
KDDI株式会社
安全性設計装置、安全性設計方法及び安全性設計プログラム
今日
KDDI株式会社
画像復号装置、画像復号方法、プログラム及び画像符号化装置
1か月前
KDDI株式会社
篏合音検出装置
6日前
KDDI株式会社
トリガー判定装置、トリガー判定方法及びトリガー判定プログラム
1か月前
KDDI株式会社
不正文字列探索装置、不正文字列探索方法及び不正文字列探索プログラム
1か月前
KDDI株式会社
動的グラフによる異常通信検知装置、異常通信検知方法、及び異常通信検知プログラム
15日前
KDDI株式会社
利用料還元方法、及び利用料還元装置
8日前
KDDI株式会社
教師なしアプリケーション識別装置、教師なしアプリケーション識別方法及びプログラム
6日前
KDDI株式会社
画像復号装置、画像復号方法及びプログラム
1か月前
KDDI株式会社
キャリアアグリゲーションのScellにおけるOn demand SSBを効率的に運用するための端末装置、基地局装置、制御方法、及びプログラム
1か月前
三井住友建設株式会社
通信システム及び建設方法
27日前
個人
詐欺保険
1か月前
個人
縁伊達ポイン
1か月前
個人
職業自動販売機
20日前
個人
RFタグシート
1か月前
続きを見る
他の特許を見る