TOP
|
特許
|
意匠
|
商標
特許ウォッチ
Twitter
他の特許を見る
公開番号
2025151498
公報種別
公開特許公報(A)
公開日
2025-10-09
出願番号
2024052960
出願日
2024-03-28
発明の名称
情報処理装置、情報処理方法及びプログラム
出願人
KDDI株式会社
代理人
弁理士法人創光国際特許事務所
主分類
G06F
21/62 20130101AFI20251002BHJP(計算;計数)
要約
【課題】匿名化したデータ群を提供する場合にプライバシーリスクの増大を抑制する。
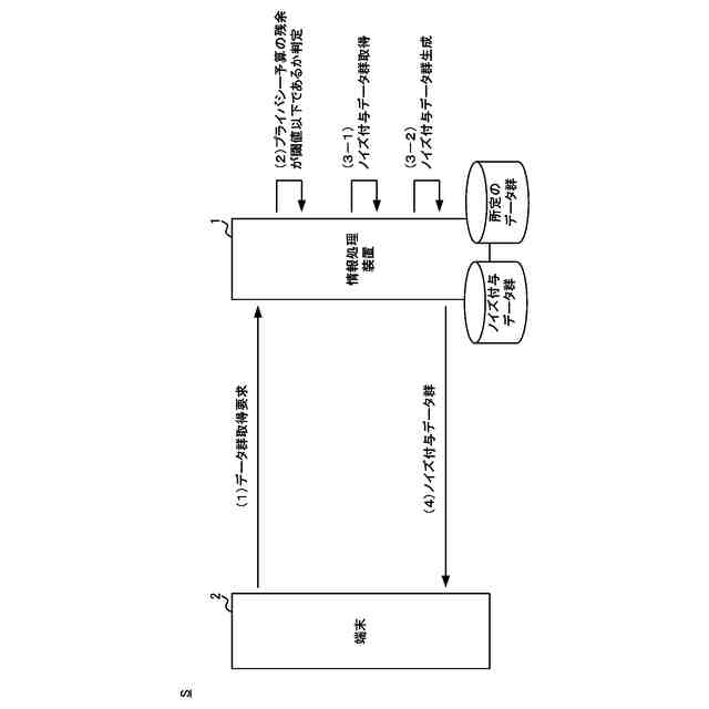
【解決手段】情報処理装置1は、所定のデータ群に対してノイズを付与したデータ群であるノイズ付与データ群と、所定のデータ群に対してノイズを追加的に付与可能か否かを示すプライバシー予算の残余とを管理する管理部131と、端末2から、ノイズ付与データ群の取得要求を受け付ける受付部132と、取得要求を受け付けたときのプライバシー予算の残余が閾値以下である場合、管理部131が管理しているノイズ付与データ群を取得する取得部133と、取得部133が取得したノイズ付与データ群を端末2に送信する送信部134と、を有する。
【選択図】図2
特許請求の範囲
【請求項1】
所定のデータ群に対してノイズを付与したデータ群であるノイズ付与データ群と、前記所定のデータ群に対して前記ノイズを追加的に付与可能か否かを示すプライバシー予算の残余とを管理する管理部と、
端末から、ノイズ付与データ群の取得要求を受け付ける受付部と、
前記取得要求を受け付けたときのプライバシー予算の残余が閾値以下である場合、前記管理部が管理している前記ノイズ付与データ群を取得する取得部と、
前記取得部が取得したノイズ付与データ群を前記端末に送信する送信部と、
を有する情報処理装置。
続きを表示(約 1,900 文字)
【請求項2】
前記所定のデータ群には、前記所定のデータ群に関連するユーザのプライバシーが特定されるリスクの許容度を示すリスク許容値が設定されており、
前記管理部は、前記所定のデータ群に対してノイズを付与して前記ノイズ付与データ群が生成されることにより前記ユーザのプライバシーが特定されるリスクを示すリスク値と、前記リスク許容値とに基づいて算出される前記プライバシー予算の残余を管理する、
請求項1に記載の情報処理装置。
【請求項3】
前記管理部は、前記リスク許容値を前記リスク値で除算することにより算出される前記プライバシー予算としての前記ノイズの付与可能回数から、前記ノイズが付与された回数である付与回数を減算した回数である、付与可能残り回数を前記プライバシー予算の残余として管理し、
前記取得部は、前記取得要求を受け付けたときの前記付与可能残り回数が0回である場合、前記管理部が管理している前記ノイズ付与データ群を取得する、
請求項2に記載の情報処理装置。
【請求項4】
前記取得部は、前記受付部が前記取得要求を受け付けた場合に前記管理部が管理している前記ノイズ付与データ群が存在しないとき、前記所定のデータ群にノイズを付与してノイズ付与データ群を生成する、
請求項1に記載の情報処理装置。
【請求項5】
前記管理部は、前記取得部により生成された前記ノイズ付与データ群を、前記所定のデータ群に対応するノイズ付与データ群として管理し、前記プライバシー予算の残余を更新する、
請求項4に記載の情報処理装置。
【請求項6】
前記所定のデータ群は、複数のバージョンを有し、
前記管理部は、複数のバージョンのそれぞれの所定のデータ群に対応するノイズ付与データ群と、前記プライバシー予算の残余とを管理し、
前記受付部は、前記端末から、前記バージョンの指定を含む、前記所定のデータ群に対応する前記ノイズ付与データ群の取得要求を受け付け、
前記取得部は、前記プライバシー予算の残余が前記閾値以下である場合、指定された前記バージョンである指定バージョンの前記所定のデータ群に対応して前記管理部が管理しているノイズ付与データ群を取得し、前記プライバシー予算の前記閾値を超える場合、前記指定バージョンの所定のデータ群に対応する新たなノイズ付与データ群を生成する、
請求項1に記載の情報処理装置。
【請求項7】
前記所定のデータ群には、バージョンの更新に従って新たなデータ群が追加され、
前記取得部は、前記ノイズ付与データ群を生成する場合、前記指定バージョンよりも前のバージョンに対して前記管理部が管理している前記ノイズ付与データ群に対応する所定のデータ群と、前記指定バージョンに対応する所定のデータ群との差分を示す差分データ群に対してノイズを付与したノイズ付与差分データ群を生成し、当該ノイズ付与差分データ群と、前記指定バージョンよりも前のバージョンに対して前記管理部が管理している前記ノイズ付与データ群とを合わせて、前記指定バージョンに対応するノイズ付与データ群を生成する、
請求項6に記載の情報処理装置。
【請求項8】
コンピュータが実行する、
所定のデータ群に対してノイズを付与したデータ群であるノイズ付与データ群と、前記所定のデータ群に対して前記ノイズを追加的に付与可能か否かを示すプライバシー予算の残余とを管理するステップと、
端末から、ノイズ付与データ群の取得要求を受け付けるステップと、
前記取得要求を受け付けたときのプライバシー予算の残余が閾値以下である場合、管理されている前記ノイズ付与データ群を取得するステップと、
取得したノイズ付与データ群を前記端末に送信するステップと、
を有する情報処理方法。
【請求項9】
コンピュータを、
所定のデータ群に対してノイズを付与したデータ群であるノイズ付与データ群と、前記所定のデータ群に対して前記ノイズを追加的に付与可能か否かを示すプライバシー予算の残余とを管理する管理部、
端末から、ノイズ付与データ群の取得要求を受け付ける受付部、
前記取得要求を受け付けたときのプライバシー予算の残余が閾値以下である場合、前記管理部が管理している前記ノイズ付与データ群を取得する取得部、及び、
前記取得部が取得したノイズ付与データ群を前記端末に送信する送信部、
として機能させるプログラム。
発明の詳細な説明
【技術分野】
【0001】
本発明は、情報処理装置、情報処理方法及びプログラムに関する。
続きを表示(約 1,500 文字)
【背景技術】
【0002】
従来、ユーザに関する情報であるユーザ情報を収集し、データ分析を行うことが実施されている。この場合、ユーザのプライバシーを保護するために、ユーザ情報の少なくとも一部に対してノイズの付与等を行い、ユーザ情報を匿名化することが行われている(例えば、特許文献1参照)。
【先行技術文献】
【特許文献】
【0003】
特開2011-117679号公報
【発明の概要】
【発明が解決しようとする課題】
【0004】
データ分析を行う場合、様々な観点からデータ分析を行うことが多く、同一のデータ群の取得要求が複数回行われることがある。同一のデータ群に対する取得要求が複数回行われる場合に、同一のデータ群に対してユーザ情報の匿名化が複数回繰り返されると、同一のデータ群に対応する複数のバリエーションのデータ群が生成される。この場合、複数のバリエーションのデータ群を分析することにより、匿名化が行われる前のデータ群の内容を推測しやすくなり、ユーザの識別性が上がる等のプライバシーリスクが増大するという問題が発生する。特に、複数事業者が連携してデータ分析を行う場合はプライバシーリスク増大が顕著になる。
【0005】
そこで、本発明はこれらの点に鑑みてなされたものであり、匿名化したデータ群を提供する場合にプライバシーリスクの増大を抑制することを目的とする。
【課題を解決するための手段】
【0006】
本発明の第1の態様に係る情報処理装置は、所定のデータ群に対してノイズを付与したデータ群であるノイズ付与データ群と、前記所定のデータ群に対して前記ノイズを追加的に付与可能か否かを示すプライバシー予算の残余とを管理する管理部と、端末から、ノイズ付与データ群の取得要求を受け付ける受付部と、前記取得要求を受け付けたときのプライバシー予算の残余が閾値以下である場合、前記管理部が管理している前記ノイズ付与データ群を取得する取得部と、前記取得部が取得したノイズ付与データ群を前記端末に送信する送信部と、を有する。
【0007】
前記所定のデータ群には、前記所定のデータ群に関連するユーザのプライバシーが特定されるリスクの許容度を示すリスク許容値が設定されており、前記管理部は、前記所定のデータ群に対してノイズを付与して前記ノイズ付与データ群が生成されることにより前記ユーザのプライバシーが特定されるリスクを示すリスク値と、前記リスク許容値とに基づいて算出される前記プライバシー予算の残余を管理してもよい。
【0008】
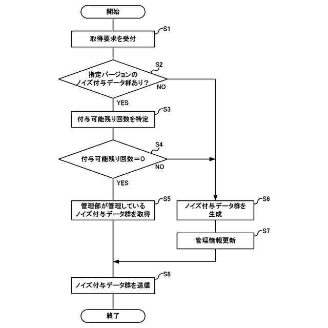
前記管理部は、前記リスク許容値を前記リスク値で除算することにより算出される前記プライバシー予算としての前記ノイズの付与可能回数から、前記ノイズが付与された回数である付与回数を減算した回数である、付与可能残り回数を前記プライバシー予算の残余として管理し、前記取得部は、前記取得要求を受け付けたときの前記付与可能残り回数が0回である場合、前記管理部が管理している前記ノイズ付与データ群を取得してもよい。
【0009】
前記取得部は、前記受付部が前記取得要求を受け付けた場合に前記管理部が管理している前記ノイズ付与データ群が存在しないとき、前記所定のデータ群にノイズを付与してノイズ付与データ群を生成してもよい。
【0010】
前記管理部は、前記取得部により生成された前記ノイズ付与データ群を、前記所定のデータ群に対応するノイズ付与データ群として管理し、前記プライバシー予算の残余を更新してもよい。
(【0011】以降は省略されています)
この特許をJ-PlatPat(特許庁公式サイト)で参照する
関連特許
KDDI株式会社
光増幅器
1か月前
KDDI株式会社
光増幅器
1か月前
KDDI株式会社
光増幅器
1か月前
KDDI株式会社
光増幅器
1か月前
KDDI株式会社
光接続ノード
1か月前
KDDI株式会社
緊急ネットワーク分離方法
1か月前
KDDI株式会社
無線デバイス及びプログラム
3日前
KDDI株式会社
基地局及び基地局の制御方法
23日前
KDDI株式会社
情報処理装置及び情報処理方法
24日前
KDDI株式会社
制御装置、方法及びプログラム
24日前
KDDI株式会社
情報処理装置及び情報処理方法
24日前
KDDI株式会社
情報処理装置及び情報処理方法
24日前
KDDI株式会社
基地局装置およびその通信方法
25日前
KDDI株式会社
情報処理装置及び情報処理方法
25日前
KDDI株式会社
情報処理装置及び情報処理方法
1か月前
KDDI株式会社
情報処理装置及び情報処理方法
1か月前
KDDI株式会社
情報処理装置及び情報処理方法
23日前
KDDI株式会社
情報処理装置及び情報処理方法
1か月前
KDDI株式会社
情報処理装置及び情報処理方法
1か月前
KDDI株式会社
情報処理装置及び情報処理方法
1か月前
KDDI株式会社
通信制御システム及び通信制御方法
1か月前
KDDI株式会社
通信制御システム及び通信制御方法
1か月前
KDDI株式会社
通信制御システム及び通信制御方法
1か月前
KDDI株式会社
通信制御システム及び通信制御方法
1か月前
KDDI株式会社
情報処理装置、方法及びプログラム
23日前
KDDI株式会社
飛行体、情報処理装置及び情報処理方法
1か月前
KDDI株式会社
通信装置、無線デバイス及びプログラム
1か月前
KDDI株式会社
情報処理装置、学習装置及びプログラム
24日前
KDDI株式会社
中継装置、中継方法及び中継プログラム
1か月前
KDDI株式会社
評価装置、評価方法及び評価プログラム
3日前
KDDI株式会社
認証装置、認証方法及び認証プログラム
1か月前
KDDI株式会社
基地局装置、端末装置及び無線通信方法
23日前
KDDI株式会社
ログ処理装置、端末、方法及びプログラム
18日前
KDDI株式会社
プログラム、情報処理端末及び情報処理方法
24日前
KDDI株式会社
支援処理装置、支援処理方法及びプログラム
1か月前
KDDI株式会社
情報処理装置、情報処理方法及びプログラム
1か月前
続きを見る
他の特許を見る