TOP
|
特許
|
意匠
|
商標
特許ウォッチ
Twitter
他の特許を見る
公開番号
2025143920
公報種別
公開特許公報(A)
公開日
2025-10-02
出願番号
2024043434
出願日
2024-03-19
発明の名称
光接続ノード
出願人
KDDI株式会社
代理人
弁理士法人大塚国際特許事務所
主分類
H04J
14/00 20060101AFI20250925BHJP(電気通信技術)
要約
【課題】コア数の異なる2つの光伝送路を接続する光接続ノードを提供する。
【解決手段】光接続ノードは、M個の波長分離デバイスそれぞれの第pポート(pは、2~Qまでの整数)に接続され、第pバンドと第1バンドとの間での波長変換を行う第p波長変換手段を含む接続手段であって、第1光伝送路のN個のコアで伝送される第1バンドの信号光のうち、第2光伝送路においては第1バンドの信号光として伝送される第1信号光についてはM個の波長多重分離デバイスのうちの1つの波長分離デバイスの第1ポートに接続し、第1光伝送路のN個のコアで伝送される第1バンドの信号光のうち、第2光伝送路においては第pバンドの信号光として伝送される第p信号光については第p波長変換手段に接続する接続手段を備え、Nは2以上の整数であり、Qは2以上の整数であり、MはNより小さく、かつ、NをQで除した数以上の整数である。
【選択図】図1
特許請求の範囲
【請求項1】
第1バンドの信号光を伝送するために使用されるN個のコアの含む第1光伝送路と、前記第1バンドから第Qバンドそれぞれの信号光を伝送するために使用されるM個のコアを含む第2光伝送路と、を接続する光接続ノードであって、
Nは2以上の整数であり、Qは2以上の整数であり、MはNより小さく、かつ、NをQで除した数以上の整数であり、
前記光接続ノードは、
M個の波長多重分離デバイスであって、前記M個の波長多重分離デバイスそれぞれは、第qバンド(qは1からQまでの整数)の信号光を入出力するための第qポートと、前記第1バンドから前記第Qバンドの信号光それぞれを入出力するための波長多重ポートと、を有し、前記M個の波長多重分離デバイスのM個の波長多重ポートは、前記第2光伝送路の前記M個のコアと1対1で接続される様に構成されている、前記M個の波長多重分離デバイスと、
前記M個の波長分離デバイスそれぞれの第pポート(pは、2~Qまでの整数)に接続され、第pバンドと前記第1バンドとの間での波長変換を行う第p波長変換手段を含む接続手段であって、前記第1光伝送路の前記N個のコアで伝送される前記第1バンドの信号光のうち、前記第2光伝送路においては前記第1バンドの信号光として伝送される第1信号光については前記M個の波長多重分離デバイスのうちの1つの波長分離デバイスの第1ポートに接続し、前記第1光伝送路の前記N個のコアで伝送される前記第1バンドの信号光のうち、前記第2光伝送路においては前記第pバンドの信号光として伝送される第p信号光については前記第p波長変換手段に接続する前記接続手段と、
を備えている、光接続ノード。
続きを表示(約 1,000 文字)
【請求項2】
前記接続手段は、
M個の第p波長変換手段を有し、
前記第1光伝送路の前記N個のコアのうちのM個の第1コアと前記M個の波長多重分離デバイスのM個の第1ポートと、を1対1で接続し、
前記第1光伝送路の前記N個のコアのうちのM個の第pコアと前記M個の第p波長変換手段と、を1対1で接続する、請求項1に記載の光接続ノード。
【請求項3】
前記接続手段は、前記第1光伝送路の前記N個のコアと、前記M個の波長多重分離デバイスのM個の第1ポートと、前記第p波長変換手段と、に接続され、前記N個のコアと、前記M個の第1ポート及び前記第p波長変換手段との間における前記第1バンドの信号光のスイッチングを行う光スイッチを備えている、請求項1に記載の光接続ノード。
【請求項4】
前記第2光伝送路は、M個のシングルコア光ファイバを含む、請求項1に記載の光接続ノード。
【請求項5】
前記第1光伝送路は、コアの総数がN個である1つ以上のマルチコア光ファイバを含む、請求項1に記載の光接続ノード。
【請求項6】
前記第1光伝送路は、N個のシングルコア光ファイバを含む、請求項1に記載の光接続ノード。
【請求項7】
前記第1光伝送路は、コアの総数がN個である1つ以上のマルチコア光ファイバ及び1つ以上のシングルコア光ファイバを含む、請求項1に記載の光接続ノード。
【請求項8】
前記第1バンドは、Cバンド、又は、Cバンド内のバンドである、請求項1に記載の光接続ノード。
【請求項9】
Qは2であり、
第2バンドは、Sバンド、Lバンド、Uバンド、Sバンドに含まれるバンド、Lバンドに含まれるバンド、又は、Uバンドに含まれるバンドである、請求項8に記載の光接続ノード。
【請求項10】
Qは3であり、
第2バンドは、Sバンド、Lバンド、Uバンド、Sバンドに含まれるバンド、Lバンドに含まれるバンド、又は、Uバンドに含まれるバンドであり、
第3バンドは、前記第2バンドとは異なり、かつ、Sバンド、Lバンド、Uバンド、Sバンドに含まれるバンド、Lバンドに含まれるバンド、又は、Uバンドに含まれるバンドである、請求項8に記載の光接続ノード。
(【請求項11】以降は省略されています)
発明の詳細な説明
【技術分野】
【0001】
本開示は、コア数の異なる2つの光伝送路を接続する光接続ノードに関する。
続きを表示(約 2,100 文字)
【背景技術】
【0002】
非特許文献1は、マルチコア光ファイバ(MCF)を用いた光海底ケーブルを開示している。MCFは、複数のコアを含む光ファイバである。MCFを用いることで光伝送路の伝送容量を増加させることができる。MCFは、長距離光伝送システム等において使用され得る。
【先行技術文献】
【非特許文献】
【0003】
Boosting Subsea Cables with Multi-Core Fiber Technology,[online],2023年9月13日,[2024年2月16日検索]<URL:https://cloud.google.com/blog/products/infrastructure/delivering-multi-core-fiber-technology-in-subsea-cables?hl=en>
【発明の概要】
【発明が解決しようとする課題】
【0004】
現在敷設されている光ケーブルは、主に、1つのコアのみを有するシングルコア光ファイバ(SCF)を収容するものであるため、MCFで構成される第1光伝送路と、SCFで構成される第2光伝送路とを混在させて光伝送システムを構築しなければならない状況が生じ得る。このような場合、1つのMCFに含まれるコア数と同じ数のSCFを確保できない状況、つまり、第1光伝送路の複数のコアで搬送される総ての光信号を、第1光伝送路よりコア数の少ない第2光伝送路で搬送しなければならない状況が生じ得る。
【0005】
本開示は、コア数の異なる2つの光伝送路を接続する光接続ノードを提供するものである。
【課題を解決するための手段】
【0006】
本開示の一態様によると、第1バンドの信号光を伝送するために使用されるN個のコアの含む第1光伝送路と、前記第1バンドから第Qバンドそれぞれの信号光を伝送するために使用されるM個のコアを含む第2光伝送路と、を接続する光接続ノードは、M個の波長多重分離デバイスであって、前記M個の波長多重分離デバイスそれぞれは、第qバンド(qは1からQまでの整数)の信号光を入出力するための第qポートと、前記第1バンドから前記第Qバンドの信号光それぞれを入出力するための波長多重ポートと、を有し、前記M個の波長多重分離デバイスのM個の波長多重ポートは、前記第2光伝送路の前記M個のコアと1対1で接続される様に構成されている、前記M個の波長多重分離デバイスと、前記M個の波長分離デバイスそれぞれの第pポート(pは、2~Qまでの整数)に接続され、第pバンドと前記第1バンドとの間での波長変換を行う第p波長変換手段を含む接続手段であって、前記第1光伝送路の前記N個のコアで伝送される前記第1バンドの信号光のうち、前記第2光伝送路においては前記第1バンドの信号光として伝送される第1信号光については前記M個の波長多重分離デバイスのうちの1つの波長分離デバイスの第1ポートに接続し、前記第1光伝送路の前記N個のコアで伝送される前記第1バンドの信号光のうち、前記第2光伝送路においては前記第pバンドの信号光として伝送される第p信号光については前記第p波長変換手段に接続する前記接続手段と、を備え、Nは2以上の整数であり、Qは2以上の整数であり、MはNより小さく、かつ、NをQで除した数以上の整数である。
【発明の効果】
【0007】
本開示によると、コア数の異なる2つの光伝送路を接続する光接続ノードが提供される。
【図面の簡単な説明】
【0008】
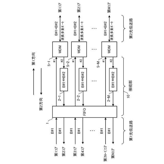
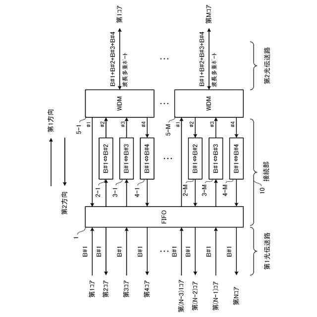
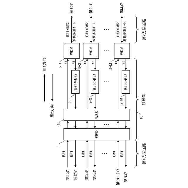
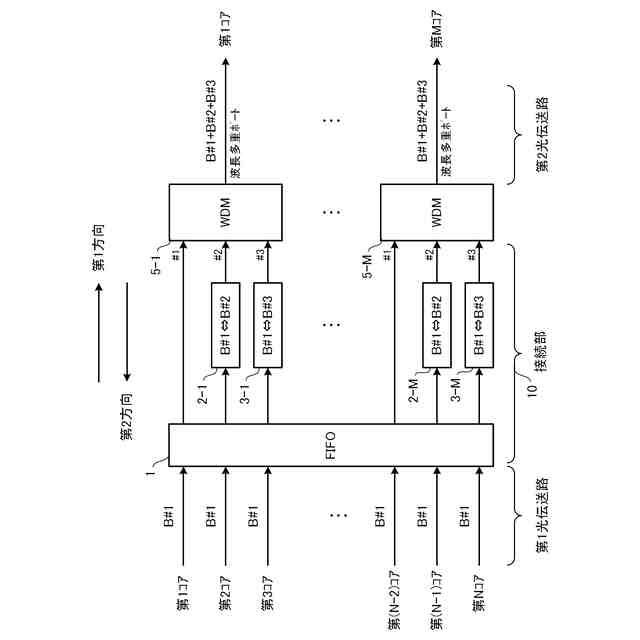
光接続ノードの構成例を示す図。
第1光伝送路及び第2光伝送路で搬送される信号光の例を示す図。
光接続ノードの構成例を示す図。
第1光伝送路及び第2光伝送路で搬送される信号光の例を示す図。
光接続ノードの構成例を示す図。
第1光伝送路及び第2光伝送路で搬送される信号光の例を示す図。
光接続ノードの構成例を示す図。
【発明を実施するための形態】
【0009】
以下、添付図面を参照して実施形態を詳しく説明する。なお、以下の実施形態は特許請求の範囲に係る発明を限定するものではなく、また実施形態で説明されている特徴の組み合わせの全てが発明に必須のものとは限らない。実施形態で説明されている複数の特徴のうち二つ以上の特徴が任意に組み合わされてもよい。また、同一若しくは同様の構成には同一の参照番号を付し、重複した説明は省略する。
【0010】
<第一実施形態>
本実施形態による光接続ノードは、第1光伝送路と第2光伝送路とを接続するものである。図1に示す様に、第1光伝送路は、N個のコアを有する1つのMCFであり、第2光伝送路は、M個のSCFである。以下の説明において、第1光伝送路に含まれるN個のコアを第1コア~第Nコアと表記し、第2光伝送路に含まれるM個のコアを第1コア~第Mコアと表記する。
(【0011】以降は省略されています)
この特許をJ-PlatPat(特許庁公式サイト)で参照する
関連特許
KDDI株式会社
光増幅器
22日前
KDDI株式会社
光増幅器
22日前
KDDI株式会社
光接続ノード
22日前
KDDI株式会社
緊急ネットワーク分離方法
23日前
KDDI株式会社
基地局及び基地局の制御方法
14日前
KDDI株式会社
情報処理装置及び情報処理方法
21日前
KDDI株式会社
情報処理装置及び情報処理方法
21日前
KDDI株式会社
基地局装置およびその通信方法
16日前
KDDI株式会社
情報処理装置及び情報処理方法
15日前
KDDI株式会社
情報処理装置及び情報処理方法
15日前
KDDI株式会社
制御装置、方法及びプログラム
15日前
KDDI株式会社
情報処理装置及び情報処理方法
21日前
KDDI株式会社
情報処理装置及び情報処理方法
15日前
KDDI株式会社
情報処理装置及び情報処理方法
14日前
KDDI株式会社
情報処理装置及び情報処理方法
16日前
KDDI株式会社
情報処理装置、方法及びプログラム
14日前
KDDI株式会社
通信制御システム及び通信制御方法
29日前
KDDI株式会社
通信制御システム及び通信制御方法
29日前
KDDI株式会社
通信装置、無線デバイス及びプログラム
25日前
KDDI株式会社
情報処理装置、学習装置及びプログラム
15日前
KDDI株式会社
基地局装置、端末装置及び無線通信方法
14日前
KDDI株式会社
飛行体、情報処理装置及び情報処理方法
25日前
KDDI株式会社
ログ処理装置、端末、方法及びプログラム
9日前
KDDI株式会社
プログラム、情報処理端末及び情報処理方法
15日前
KDDI株式会社
情報処理装置、情報処理方法及びプログラム
16日前
KDDI株式会社
情報処理装置、情報処理方法及びプログラム
15日前
KDDI株式会社
情報処理装置、情報処理方法及びプログラム
15日前
KDDI株式会社
情報処理装置、情報処理方法及びプログラム
15日前
KDDI株式会社
情報処理装置、情報処理方法及びプログラム
15日前
KDDI株式会社
情報処理装置、情報処理方法及びプログラム
15日前
KDDI株式会社
情報処理装置、情報処理方法及びプログラム
17日前
KDDI株式会社
情報処理装置、情報処理方法及びプログラム
17日前
KDDI株式会社
画像復号装置、画像復号方法及びプログラム
2日前
KDDI株式会社
情報処理装置、情報処理方法及びプログラム
29日前
KDDI株式会社
画像復号装置、画像復号方法及びプログラム
2日前
KDDI株式会社
情報処理装置、情報処理方法及びプログラム
25日前
続きを見る
他の特許を見る