TOP
|
特許
|
意匠
|
商標
特許ウォッチ
Twitter
他の特許を見る
公開番号
2025138423
公報種別
公開特許公報(A)
公開日
2025-09-25
出願番号
2024037514
出願日
2024-03-11
発明の名称
通信制御システム及び通信制御方法
出願人
KDDI株式会社
代理人
個人
,
個人
,
個人
主分類
H04W
24/02 20090101AFI20250917BHJP(電気通信技術)
要約
【課題】無線アクセスネットワークの制御においてモデルの学習効率や学習済みモデルによる推論精度の向上を図る。
【解決手段】O-RAN仕様の無線アクセスネットワークにおいて、ユーザ端末の周辺の無線環境の分類の各々に対応して設けられるモデルに対して所定の通信制御項目を推論するための学習を行う第1制御部と、第1制御部によって学習済みのモデルを、学習済みのモデルに対応する無線環境の分類に関連付けられたユーザ端末に対して用いる第2制御部と、を備え、第1制御部は、無線環境の分類の各々の学習済みのモデルをユーザ端末に関連付けるためのモデル関連付け情報を第2制御部へ送信し、第2制御部は、第1制御部から送信されたモデル関連付け情報を受信する。
【選択図】図5
特許請求の範囲
【請求項1】
O-RAN(Open Radio Access Network)仕様の無線アクセスネットワークにおいて、
ユーザ端末の周辺の無線環境の分類の各々に対応して設けられるモデルに対して所定の通信制御項目を推論するための学習を行う第1制御部と、
前記第1制御部によって学習済みのモデルを、前記学習済みのモデルに対応する無線環境の分類に関連付けられたユーザ端末に対して用いる第2制御部と、を備え、
前記第1制御部は、無線環境の分類の各々の学習済みのモデルをユーザ端末に関連付けるためのモデル関連付け情報を前記第2制御部へ送信し、
前記第2制御部は、前記第1制御部から送信された前記モデル関連付け情報を受信する、
通信制御システム。
続きを表示(約 610 文字)
【請求項2】
前記第1制御部は、「Non-RT RIC(Non-Real Time RAN Intelligent Controller)」を用いて実現され、
前記第2制御部は、「Near-RT RIC(Near-Real Time RAN Intelligent Controller)」を用いて実現され、
「Non-RT RIC」と「Near-RT RIC」との間のインターフェースに対して、前記モデル関連付け情報を伝達するためのメッセージが含められた、
請求項1に記載の通信制御システム。
【請求項3】
O-RAN(Open Radio Access Network)仕様の無線アクセスネットワークにおいて、
ユーザ端末の周辺の無線環境の分類の各々に対応して設けられるモデルに対して所定の通信制御項目を推論するための学習を行う第1制御部と、
前記第1制御部によって学習済みのモデルを、前記学習済みのモデルに対応する無線環境の分類に関連付けられたユーザ端末に対して用いる第2制御部と、を備え、
前記第1制御部は、無線環境の分類の各々の学習済みのモデルをユーザ端末に関連付けるためのモデル関連付け情報を前記第2制御部へ送信し、
前記第2制御部は、前記第1制御部から送信された前記モデル関連付け情報を受信する、
通信制御方法。
発明の詳細な説明
【技術分野】
【0001】
本発明は、通信制御システム及び通信制御方法に関する。
続きを表示(約 3,100 文字)
【背景技術】
【0002】
近年、第5世代移動通信システム(5G)より以降の「Beyond 5Gシステム」では、例えばスループットや通信遅延時間や端末接続数等の通信性能をより高めることによって、例えばロボット制御やコネクティッドカーやAR(Augmented Reality、拡張現実)やVR(Virtual Reality、仮想現実)等の多種多様なサービスを提供することが検討されている。そのためのキー技術の一つとして、AI(Artificial Intelligence、人工知能)及びML(Machine Learning、機械学習)が注目されている。例えば無線アクセスネットワーク(Radio Access Network:RAN)においては、有限のネットワークリソースによってネットワーク性能を最大化するために、例えばビームフォーミング制御や無線リソース割当や基地局機能配置等の様々な用途に強化学習を適用することが検討されている。
【0003】
また、O-RAN((Open Radio Access Network)アライアンス(O-RAN Alliance)では、5G等の次世代の無線アクセスネットワークのオープン化及びインテリジェント化が検討されており、AI及びMLを用いる制御に必要なインターフェースやワークフローなどが検討されている。O-RANには、RANを制御するコントローラーであるRIC(RAN Intelligent controller)が定義されている。RICとして、長周期制御を目的とする「Non-RT RIC(Non-Real Time RAN Intelligent Controller、非リアルタイムRANインテリジェントコントローラー)」と、短周期制御を目的とする「Near-RT RIC(Near-Real Time RAN Intelligent Controller、ニアリアルタイムRANインテリジェントコントローラー)」とがある。
【0004】
そして、AI及びMLの機能を有する学習部については潤沢な計算リソースを利用可能な「Non-RT RIC」に配置し、一方、学習済みのモデルを用いて推論を行う推論部については「Near-RT RIC」に配置することで低遅延の推論を実現することが検討されている。例えば非特許文献1には、学習データの加工処理を行う「Data Pipeline」を「Near-RT RIC」に配置することが提案されている。また、非特許文献2には、「Data Pipeline」を介した学習データの収集のために、「Non-RT RIC」と「Near-RT RIC」間のインターフェースであるA1インターフェースにおけるプロシージャが提案されている。
【0005】
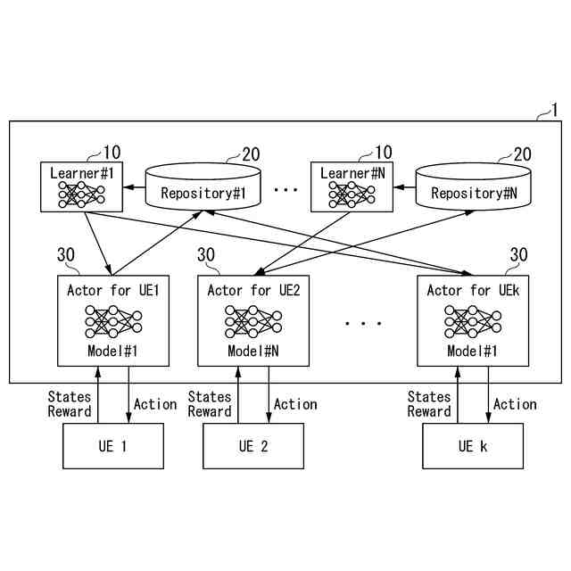
また、例えば非特許文献3には、オンライン学習において、高い学習効率を得るため分散強化学習技術が記載されている。この分散強化学習技術では、分散アーキテクチャによる並列処理として、並列実行により大量の学習データを収集すること、分散された複数の「Actor」が環境との試行錯誤を通じて学習データ(experience)を収集し、これを唯一の「Learner」が学習すること、唯一の「Learner」は学習した唯一のモデルを定期的に各「Actor」に供給して各「Actor」に共通のモデルを更新していくこと、などを特徴としている。
【先行技術文献】
【非特許文献】
【0006】
「Discussion on Data Collection for Training in Non-RT RIC」, KDDI, CMCC, O-RAN WG2, July 25 2023
「Study of AI/ML-Related Procedures for RAN Slice SLA Assurance Use Case」, KDDI, CMCC, O-RAN WG2, June 21, 2023
D. Horgan, et al. 「Distributed Prioritized Experience Replay」, ICLR, 2018
【発明の概要】
【発明が解決しようとする課題】
【0007】
RANの制御に分散強化学習技術を適用する場合、オンライン学習の処理負荷を下げるため、例えばニューラルネットワーク等のモデルの小サイズ化や学習データの少量化などが考えられる。しかしながら、大規模なRANに対しては、モデルサイズや学習データ量を縮小すると、ユーザ端末(User Equipment:UE)毎に異なり得る多様な無線環境を十分に学習できず、これにより、学習済みモデルの品質が低下し、学習済みモデルによる推論の精度が低下する可能性があった。
【0008】
本発明は、このような事情を考慮してなされたものであり、その目的は、無線アクセスネットワーク(RAN)の制御においてモデルの学習効率や学習済みモデルによる推論精度の向上を図ることにある。
【課題を解決するための手段】
【0009】
本発明の一態様は、O-RAN(Open Radio Access Network)仕様の無線アクセスネットワークにおいて、ユーザ端末の周辺の無線環境の分類の各々に対応して設けられるモデルに対して所定の通信制御項目を推論するための学習を行う第1制御部と、前記第1制御部によって学習済みのモデルを、前記学習済みのモデルに対応する無線環境の分類に関連付けられたユーザ端末に対して用いる第2制御部と、を備え、前記第1制御部は、無線環境の分類の各々の学習済みのモデルをユーザ端末に関連付けるためのモデル関連付け情報を前記第2制御部へ送信し、前記第2制御部は、前記第1制御部から送信された前記モデル関連付け情報を受信する、通信制御システムである。
本発明の一態様は、上記の通信制御システムにおいて、前記第1制御部は、「Non-RT RIC(Non-Real Time RAN Intelligent Controller)」を用いて実現され、前記第2制御部は、「Near-RT RIC(Near-Real Time RAN Intelligent Controller)」を用いて実現され、「Non-RT RIC」と「Near-RT RIC」との間のインターフェースに対して、前記モデル関連付け情報を伝達するためのメッセージが含められた、通信制御システムである。
【0010】
本発明の一態様は、O-RAN(Open Radio Access Network)仕様の無線アクセスネットワークにおいて、ユーザ端末の周辺の無線環境の分類の各々に対応して設けられるモデルに対して所定の通信制御項目を推論するための学習を行う第1制御部と、前記第1制御部によって学習済みのモデルを、前記学習済みのモデルに対応する無線環境の分類に関連付けられたユーザ端末に対して用いる第2制御部と、を備え、前記第1制御部は、無線環境の分類の各々の学習済みのモデルをユーザ端末に関連付けるためのモデル関連付け情報を前記第2制御部へ送信し、前記第2制御部は、前記第1制御部から送信された前記モデル関連付け情報を受信する、通信制御方法である。
【発明の効果】
(【0011】以降は省略されています)
この特許をJ-PlatPat(特許庁公式サイト)で参照する
関連特許
KDDI株式会社
光増幅器
14日前
KDDI株式会社
光増幅器
14日前
KDDI株式会社
光増幅器
27日前
KDDI株式会社
光増幅器
27日前
KDDI株式会社
光接続ノード
14日前
KDDI株式会社
緊急ネットワーク分離方法
15日前
KDDI株式会社
基地局及び基地局の制御方法
6日前
KDDI株式会社
情報処理装置及び情報処理方法
13日前
KDDI株式会社
情報処理装置及び情報処理方法
7日前
KDDI株式会社
情報処理装置及び情報処理方法
8日前
KDDI株式会社
情報処理装置及び情報処理方法
27日前
KDDI株式会社
基地局装置およびその通信方法
8日前
KDDI株式会社
情報処理装置及び情報処理方法
7日前
KDDI株式会社
情報処理装置及び情報処理方法
7日前
KDDI株式会社
情報処理装置及び情報処理方法
13日前
KDDI株式会社
制御装置、方法及びプログラム
7日前
KDDI株式会社
情報処理装置及び情報処理方法
13日前
KDDI株式会社
情報処理装置及び情報処理方法
1か月前
KDDI株式会社
情報処理装置及び情報処理方法
6日前
KDDI株式会社
情報処理装置及び情報処理方法
27日前
KDDI株式会社
通信制御システム及び通信制御方法
21日前
KDDI株式会社
通信制御システム及び通信制御方法
21日前
KDDI株式会社
通信制御システム及び通信制御方法
21日前
KDDI株式会社
情報処理装置、方法及びプログラム
6日前
KDDI株式会社
通信制御システム及び通信制御方法
21日前
KDDI株式会社
情報処理装置、学習装置及びプログラム
7日前
KDDI株式会社
基地局装置、端末装置及び無線通信方法
6日前
KDDI株式会社
飛行体、情報処理装置及び情報処理方法
17日前
KDDI株式会社
認証装置、認証方法及び認証プログラム
1か月前
KDDI株式会社
通信装置、無線デバイス及びプログラム
17日前
KDDI株式会社
中継装置、中継方法及び中継プログラム
1か月前
KDDI株式会社
ログ処理装置、端末、方法及びプログラム
1日前
KDDI株式会社
情報処理装置、情報処理方法及びプログラム
9日前
KDDI株式会社
情報処理装置、情報処理方法及びプログラム
28日前
KDDI株式会社
情報処理装置、情報処理方法及びプログラム
9日前
KDDI株式会社
情報処理装置、情報処理方法及びプログラム
17日前
続きを見る
他の特許を見る