TOP
|
特許
|
意匠
|
商標
特許ウォッチ
Twitter
他の特許を見る
公開番号
2025174834
公報種別
公開特許公報(A)
公開日
2025-11-28
出願番号
2025003054,2024081079
出願日
2025-01-08,2024-05-17
発明の名称
篏合音検出装置
出願人
KDDI株式会社
,
ケイディーディーアイ ヨーロッパ リミテッド
代理人
弁理士法人大塚国際特許事務所
主分類
G01H
17/00 20060101AFI20251120BHJP(測定;試験)
要約
【課題】篏合作業の作業性を高くすると共に、篏合音を精度よく検出する。
【解決手段】篏合音検出装置は、マイクロフォンと、ワイヤハーネスの端部に設けられた篏合部材を保持するための保持部材と、前記マイクロフォンが収集した音に基づくサウンドデータに基づき、前記マイクロフォンが収集した音に前記篏合部材による篏合音が含まれているか否かを判定する判定処理の実行を制御するコントローラと、を備える。
【選択図】図2
特許請求の範囲
【請求項1】
マイクロフォンと、
ワイヤハーネスの端部に設けられた篏合部材を保持するための保持部材と、
前記マイクロフォンが収集した音に基づくサウンドデータに基づき、前記マイクロフォンが収集した音に前記篏合部材による篏合音が含まれているか否かを判定する判定処理の実行を制御するコントローラと、
を備える、篏合音検出装置。
続きを表示(約 860 文字)
【請求項2】
前記保持部材によって前記篏合部材が保持された前記ワイヤハーネスを検知するセンサを備える、請求項1に記載の篏合音検出装置。
【請求項3】
前記コントローラは、前記センサが前記ワイヤハーネスを検知していない間、前記判定処理を実行しない、請求項2に記載の篏合音検出装置。
【請求項4】
前記コントローラは、前記センサが前記ワイヤハーネスを検知していない間、前記マイクロフォンによる音の収集を行わないことにより前記判定処理を実行しない、請求項3に記載の篏合音検出装置。
【請求項5】
前記保持部材は、前記マイクロフォン、前記センサ及び前記コントローラを収容する筐体に対して着脱可能に構成される、請求項2に記載の篏合音検出装置。
【請求項6】
前記センサは、前記保持部材に設けられた孔を介して光を射出することで、前記ワイヤハーネスを検知する、請求項2に記載の篏合音検出装置。
【請求項7】
前記保持部材は、前記篏合部材を挟んで保持するための2つのハンドル部材を備える、請求項1に記載の篏合音検出装置。
【請求項8】
前記2つのハンドル部材の少なくとも一方が他方に近づく方向に移動可能又は変形可能に構成される、請求項7に記載の篏合音検出装置。
【請求項9】
背景雑音を示す雑音情報を格納し、前記マイクロフォンが収集した音と前記雑音情報とに基づき、前記マイクロフォンが収集した音から前記背景雑音を減じた音を示す前記サウンドデータを出力する前処理部をさらに備えている、請求項1に記載の篏合音検出装置。
【請求項10】
学習モデルを使用して、前記判定処理を開始してから前記判定処理を終了するまでの前記サウンドデータが示す音に前記篏合音が含まれているか否かを判定する判定手段をさらに備えている、請求項1から9のいずれか1項に記載の篏合音検出装置。
(【請求項11】以降は省略されています)
発明の詳細な説明
【技術分野】
【0001】
本開示は、篏合部材を篏合させる際に生じる篏合音を検出する篏合音検出装置に関する。
続きを表示(約 1,300 文字)
【背景技術】
【0002】
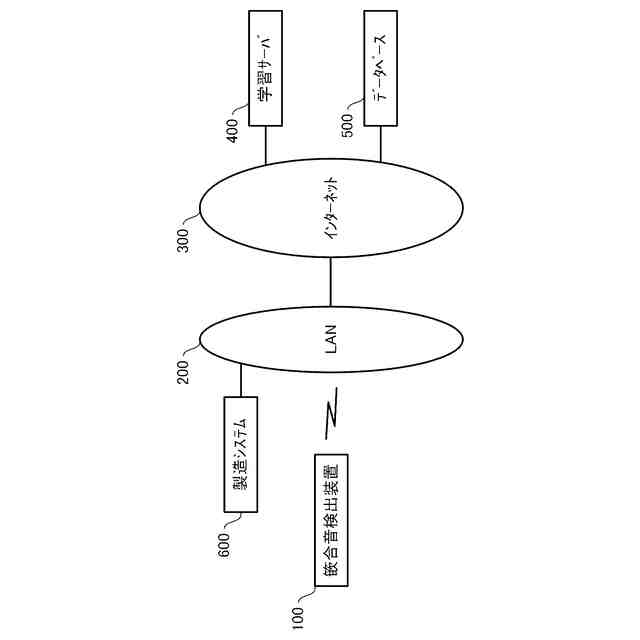
自動車、通信機器、医療機器等、電気で動作する構成要素を含む製品の製造においては、構成要素同士の接続にワイヤハーネスが使用されている。ワイヤハーネスとは、電力や電気信号等を伝送する1つ以上のケーブルの端部に、当該1つ以上のケーブルを一括して他の構成要素に接続するための篏合部材、例えば、コネクタなどを取り付けたものである。
【0003】
ワイヤハーネスを用いる製品の製造工程において、作業者は、ワイヤハーネスの端部に設けられた篏合部材を他の篏合部材に篏合させる篏合作業を行う必要がある。不適切な篏合作業により構成要素同士が電気的に正常に接続されないと、最終製品の製造不良の原因となる。
【0004】
このため、特許文献1及び特許文献2は、篏合部材を篏合させる際に生じる"篏合音"を検出することで篏合作業の良否を判定することを開示している。特許文献1及び2においては、作業者が篏合作業時に装着する腕時計型デバイスにより音データを収集して篏合音を検出している。なお、篏合音とは、篏合部材を正しく篏合させた際に生じる"所定の音"であり"クリック音"等とも呼ばれる。例えば、篏合部材はロック機構を有し、篏合部材同士を正しく篏合させるとロック機構により篏合状態が維持される様に構成される。篏合音は、ロック機構により2つの篏合部材同士が正しくロックされた際に生じる。
【先行技術文献】
【特許文献】
【0005】
特開2023-112729号公報
特開2022-108326号公報
【発明の概要】
【発明が解決しようとする課題】
【0006】
製造工程において篏合作業が必要な製品の製造不良を抑えるため、篏合作業の作業性を高くすると共に、篏合音を精度よく検出することが求められている。
【0007】
本開示は、篏合作業の作業性を高くすると共に、篏合音を精度よく検出する技術を提供するものである。
【課題を解決するための手段】
【0008】
本開示の一態様によると、篏合音検出装置は、マイクロフォンと、ワイヤハーネスの端部に設けられた篏合部材を保持するための保持部材と、前記マイクロフォンが収集した音に基づくサウンドデータに基づき、前記マイクロフォンが収集した音に前記篏合部材による篏合音が含まれているか否かを判定する判定処理の実行を制御するコントローラと、を備える。
【発明の効果】
【0009】
本開示によると、篏合作業の作業性を高くすると共に、篏合音を精度よく検出することができる。
【図面の簡単な説明】
【0010】
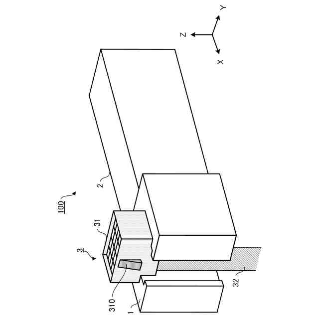
篏合音検出装置を含む篏合音検出システムの概略的な構成例を示す図。
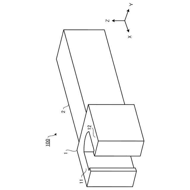
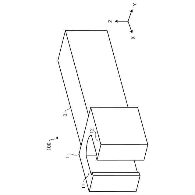
篏合音検出装置の一例を示す概略的な斜視図。
ワイヤハーネスを篏合音検出装置で保持した状態の例を示す図。
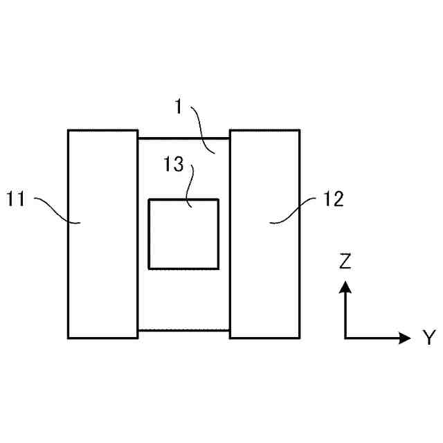
篏合音検出装置のヘッドの概略的な外観の例を示す図。
篏合音検出装置の機能的な構成例を示す図。
【発明を実施するための形態】
(【0011】以降は省略されています)
この特許をJ-PlatPat(特許庁公式サイト)で参照する
関連特許
KDDI株式会社
篏合音検出装置
6日前
KDDI株式会社
無線デバイス及びプログラム
1か月前
KDDI株式会社
基地局及び基地局の制御方法
1か月前
KDDI株式会社
情報処理装置及び情報処理方法
1か月前
KDDI株式会社
情報処理装置及び情報処理方法
1か月前
KDDI株式会社
制御装置、方法及びプログラム
1か月前
KDDI株式会社
基地局装置およびその通信方法
1か月前
KDDI株式会社
情報処理装置及び情報処理方法
1か月前
KDDI株式会社
情報処理装置及び情報処理方法
1か月前
KDDI株式会社
情報処理装置、方法及びプログラム
1か月前
KDDI株式会社
基地局装置、端末装置及び無線通信方法
1か月前
KDDI株式会社
情報処理装置、学習装置及びプログラム
1か月前
KDDI株式会社
評価装置、評価方法及び評価プログラム
1か月前
KDDI株式会社
ログ処理装置、端末、方法及びプログラム
1か月前
KDDI株式会社
情報処理装置、情報処理方法及びプログラム
20日前
KDDI株式会社
画像復号装置、画像復号方法及びプログラム
1か月前
KDDI株式会社
情報処理装置、情報処理方法及びプログラム
1か月前
KDDI株式会社
プログラム、情報処理端末及び情報処理方法
1か月前
KDDI株式会社
情報処理装置、情報処理方法及びプログラム
1か月前
KDDI株式会社
情報処理装置、情報処理方法及びプログラム
1か月前
KDDI株式会社
情報処理装置、情報処理方法及びプログラム
1か月前
KDDI株式会社
情報処理装置、情報処理方法及びプログラム
1か月前
KDDI株式会社
画像復号装置、画像復号方法及びプログラム
1か月前
KDDI株式会社
情報処理装置、情報処理方法及びプログラム
1か月前
KDDI株式会社
定量化装置、定量化方法及び定量化プログラム
1か月前
KDDI株式会社
通信装置、通信方法及びコンピュータプログラム
14日前
KDDI株式会社
情報処理装置、情報処理システム及び情報処理方法
6日前
KDDI株式会社
通知装置、通知方法、通知システム及びプログラム
1か月前
KDDI株式会社
メッシュ復号装置、メッシュ復号方法及びプログラム
1か月前
KDDI株式会社
メッシュ復号装置、メッシュ復号方法及びプログラム
1か月前
KDDI株式会社
メッシュ復号装置、メッシュ復号方法及びプログラム
1か月前
KDDI株式会社
メッシュ復号装置、メッシュ復号方法及びプログラム
1か月前
KDDI株式会社
メッシュ復号装置、メッシュ復号方法及びプログラム
1か月前
KDDI株式会社
メッシュ復号装置、メッシュ復号方法及びプログラム
1か月前
KDDI株式会社
鍵生成装置、鍵生成方法及びコンピュータプログラム
14日前
KDDI株式会社
メッシュ復号装置、メッシュ復号方法及びプログラム
1か月前
続きを見る
他の特許を見る