TOP
|
特許
|
意匠
|
商標
特許ウォッチ
Twitter
他の特許を見る
公開番号
2025161363
公報種別
公開特許公報(A)
公開日
2025-10-24
出願番号
2024064485
出願日
2024-04-12
発明の名称
メッシュ復号装置、メッシュ復号方法及びプログラム
出願人
KDDI株式会社
代理人
フェリシテ弁理士法人
主分類
G06T
9/00 20060101AFI20251017BHJP(計算;計数)
要約
【課題】符号量を削減すること。
【解決手段】
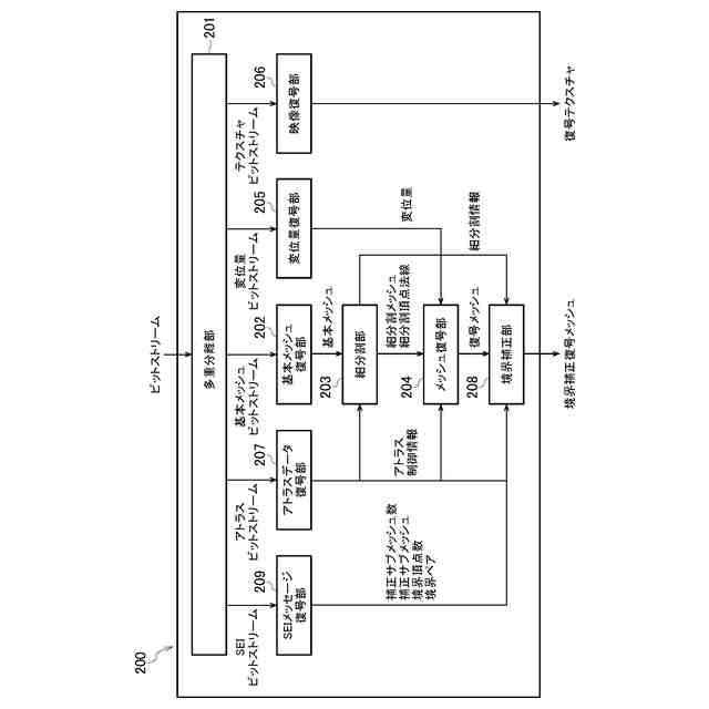
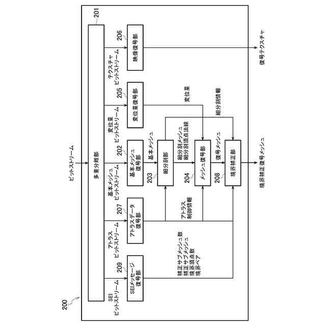
本実施形態に係るメッシュ復号装置200は、補正サブメッシュ境界頂点数を表す制御信号に対して正の整数Nを加算することで、補正サブメッシュ境界頂点数を生成して出力するように構成されているSEIメッセージ復号部209を備える。
【選択図】図2
特許請求の範囲
【請求項1】
メッシュ復号装置であって、
補正サブメッシュ境界頂点数を表す制御信号に対して正の整数Nを加算することで、補正サブメッシュ境界頂点数を生成して出力するように構成されているSEIメッセージ復号部を備えることを特徴とするメッシュ復号装置。
続きを表示(約 730 文字)
【請求項2】
前記補正サブメッシュ境界頂点数は、その他の復号部で復号されるサブメッシュの頂点数と同じ又はそれ以下になるように構成されていることを特徴とする請求項1に記載のメッシュ復号装置。
【請求項3】
前記補正サブメッシュ境界頂点数は、その他の復号部で復号されるサブメッシュの頂点数を超える場合、前記その他の復号部で復号されるサブメッシュの頂点数と同じ又はそれ以下に補正されるように構成されていることを特徴とする請求項1に記載のメッシュ復号装置。
【請求項4】
前記メッシュ復号装置は、サブメッシュ境界を補正して境界補正復号メッシュを出力し、境界頂点インデックスが示す頂点がメッシュ上に存在しないとき、該当する境界ペアに関して境界補正処理をしないように構成されている境界補正部を備えることを特徴とする、請求項1に記載のメッシュ復号装置。
【請求項5】
前記正の整数Nは1である、請求項1~4のいずれか一項に記載のメッシュ復号装置。
【請求項6】
メッシュ復号方法であって、
補正サブメッシュ境界頂点数を表す制御信号に対して正の整数Nを加算することで、補正サブメッシュ境界頂点数を生成して出力する工程Eとを有することを特徴とするメッシュ復号方法。
【請求項7】
コンピュータを、メッシュ復号装置として機能させるプログラムであって、
前記メッシュ復号装置は、
補正サブメッシュ境界頂点数を表す制御信号に対して正の整数Nを加算することで、補正サブメッシュ境界頂点数を生成して出力するように構成されているSEIメッセージ復号部を備えることを特徴とするプログラム。
発明の詳細な説明
【技術分野】
【0001】
本発明は、メッシュ復号装置、メッシュ復号方法及びプログラムに関する。
続きを表示(約 1,600 文字)
【背景技術】
【0002】
非特許文献1では、メッシュを大まかな情報を表す基本メッシュと詳細な情報を表す変位量に分けて復号しており、映像コーデックによって変位量を復号している。
【先行技術文献】
【非特許文献】
【0003】
Khaled Mammou, Jungsun Kim, Alexis Tourapis, Dimitri Podborski, Krasimir Kolarov, “[V-CG] Apple’s Dynamic Mesh Coding CfP Response,” ISO/IEC JTC 1/SC 29/WG 7 m59281, April 2022.
Google Draco、2022年5月26日アクセス[Online]、https://google.github.io/draco
【発明の概要】
【発明が解決しようとする課題】
【0004】
しかしながら、補正対象のサブメッシュ境界頂点数は、必ず1以上であるにもかかわらず、既存シンタックスでは、0を符号化できるようになっており冗長であるという問題点があった。 そこで、本発明は、上述の課題に鑑みてなされたものであり、符号量を削減することができるメッシュ復号装置、メッシュ復号方法及びプログラムを提供することを目的とする。
【課題を解決するための手段】
【0005】
本発明の第1の特徴は、メッシュ復号装置であって、補正サブメッシュ境界頂点数を表す制御信号に対して正の整数Nを加算することで、補正サブメッシュ境界頂点数を生成して出力するように構成されているSEIメッセージ復号部を備えることを要旨とする。
【0006】
本発明の第2の特徴は、メッシュ復号方法であって、補正サブメッシュ境界頂点数を表す制御信号に対して正の整数Nを加算することで、補正サブメッシュ境界頂点数を生成して出力する工程Eとを有することを要旨とする。
【0007】
本発明の第3の特徴は、コンピュータを、メッシュ復号装置として機能させるプログラムであって、前記メッシュ復号装置は、補正サブメッシュ境界頂点数を表す制御信号に対して正の整数Nを加算することで、補正サブメッシュ境界頂点数を生成して出力するように構成されているSEIメッセージ復号部を備えることを要旨とする。
【発明の効果】
【0008】
本発明によれば、符号量を削減することができるメッシュ復号装置、メッシュ復号方法及びプログラムを提供することができる。
【図面の簡単な説明】
【0009】
図1は、一実施形態に係るメッシュ処理システム1の構成の一例を示す図である。
図2は、一実施形態に係るメッシュ復号装置200の機能ブロックの一例を示す図である。
図3は、Zipperingのシンタックス構成の一例を示す図である。
図4は、基本メッシュの一例を示す図である。
図5は、細分割部203における細分割メッシュの復号方法の一例を説明するための図である。
図6は、境界補正部208における細分割頂点の境界ペアを算出する処理の一例を示すフローチャートである。
図7は、境界補正の方法を模式的に表した図である。
【発明を実施するための形態】
【0010】
以下、本発明の実施の形態について、図面を参照しながら説明する。なお、以下の実施形態における構成要素は、適宜、既存の構成要素等との置き換えが可能であり、また、他の既存の構成要素との組み合わせを含む様々なバリエーションが可能である。したがって、以下の実施形態の記載をもって、特許請求の範囲に記載された発明の内容を限定するものではない。
(【0011】以降は省略されています)
特許ウォッチbot のツイートを見る
この特許をJ-PlatPat(特許庁公式サイト)で参照する
関連特許
KDDI株式会社
光増幅器
25日前
KDDI株式会社
光増幅器
25日前
KDDI株式会社
光接続ノード
25日前
KDDI株式会社
緊急ネットワーク分離方法
26日前
KDDI株式会社
基地局及び基地局の制御方法
17日前
KDDI株式会社
基地局装置およびその通信方法
19日前
KDDI株式会社
情報処理装置及び情報処理方法
24日前
KDDI株式会社
情報処理装置及び情報処理方法
24日前
KDDI株式会社
情報処理装置及び情報処理方法
24日前
KDDI株式会社
情報処理装置及び情報処理方法
19日前
KDDI株式会社
情報処理装置及び情報処理方法
18日前
KDDI株式会社
情報処理装置及び情報処理方法
18日前
KDDI株式会社
情報処理装置及び情報処理方法
18日前
KDDI株式会社
情報処理装置及び情報処理方法
17日前
KDDI株式会社
制御装置、方法及びプログラム
18日前
KDDI株式会社
情報処理装置、方法及びプログラム
17日前
KDDI株式会社
情報処理装置、学習装置及びプログラム
18日前
KDDI株式会社
飛行体、情報処理装置及び情報処理方法
28日前
KDDI株式会社
基地局装置、端末装置及び無線通信方法
17日前
KDDI株式会社
ログ処理装置、端末、方法及びプログラム
12日前
KDDI株式会社
画像復号装置、画像復号方法及びプログラム
5日前
KDDI株式会社
情報処理装置、情報処理方法及びプログラム
18日前
KDDI株式会社
情報処理装置、情報処理方法及びプログラム
20日前
KDDI株式会社
情報処理装置、情報処理方法及びプログラム
18日前
KDDI株式会社
画像復号装置、画像復号方法及びプログラム
5日前
KDDI株式会社
プログラム、情報処理端末及び情報処理方法
18日前
KDDI株式会社
情報処理装置、情報処理方法及びプログラム
18日前
KDDI株式会社
情報処理装置、情報処理方法及びプログラム
18日前
KDDI株式会社
情報処理装置、情報処理方法及びプログラム
18日前
KDDI株式会社
情報処理装置、情報処理方法及びプログラム
20日前
KDDI株式会社
情報処理装置、情報処理方法及びプログラム
28日前
KDDI株式会社
情報処理装置、情報処理方法及びプログラム
19日前
KDDI株式会社
情報処理装置、情報処理方法及びプログラム
18日前
KDDI株式会社
定量化装置、定量化方法及び定量化プログラム
3日前
KDDI株式会社
ネットワーク制御方法、システム及びプログラム
20日前
KDDI株式会社
通知装置、通知方法、通知システム及びプログラム
17日前
続きを見る
他の特許を見る