TOP
|
特許
|
意匠
|
商標
特許ウォッチ
Twitter
他の特許を見る
公開番号
2025147912
公報種別
公開特許公報(A)
公開日
2025-10-07
出願番号
2024048422
出願日
2024-03-25
発明の名称
ネットワーク制御方法、システム及びプログラム
出願人
KDDI株式会社
代理人
個人
,
個人
主分類
H04L
41/0895 20220101AFI20250930BHJP(電気通信技術)
要約
【課題】ドメインの異なる複数のネットワーク経由でエンド・ツー・エンド間に所定のインテント要求を満たす通信路を提供するネットワーク制御システムにおいて、所望のインテントを各ネットワークへ短時間でデプロイできるようにする。
【解決手段】オーケストレータ10並びに第1及び第2データベース20,30を設け、オーケストレータ10は、各ネットワークからリソース情報を取得して第1データベースに格納し、各ネットワークから取得したリソース情報に基づいてエンド・ツー・エンドでの品質を第2データベースで管理し、エンド・ツー・エンドの品質がインテント要求を満たす伝送路の組み合わせを選択し、選択した伝送路の組み合わせに基づいてインテント要求をネットワークごとに分割し、分割したインテント要求を対応するネットワークへそれぞれ送信し、全てのネットワークがインテント要求を承諾した伝送路の組み合わせに基づいて通信路を提供する。
【選択図】図1
特許請求の範囲
【請求項1】
ドメインの異なる複数のネットワーク経由でエンド・ツー・エンド間に所定のインテント要求を満たす通信路を提供するネットワーク制御システムにおいて、
オーケストレータ並びに第1及び第2データベースを具備し、
前記オーケストレータは、
各ネットワークから当該ネットワークの伝送路ごとにリソース情報を予め取得して第1データベースにリソースインテント情報として格納し、
前記リソースインテント情報に基づいて、各ネットワークの伝送路を組み合わせたエンド・ツー・エンドでのインテント情報を予め第2データベースで管理し、
前記エンド・ツー・エンドのインテント情報が前記インテント要求を満たす伝送路の組み合わせを選択し、
前記選択した伝送路の組み合わせに基づいて前記インテント要求をネットワークごとに分割し、
分割したインテント要求を対応するネットワークへそれぞれ送信し、
全てのネットワークが前記分割したインテント要求を承諾した伝送路の組み合わせに基づいて通信路を提供することを特徴とするネットワーク制御システム。
続きを表示(約 1,600 文字)
【請求項2】
前記オーケストレータは、前記分割したインテント要求を拒否したネットワークに対して当該拒否されたインテント要求とは異なるインテント要求を改めて送信することを特徴とする請求項1に記載のネットワーク制御システム。
【請求項3】
前記オーケストレータは、前記分割したインテント要求を拒否したネットワークに対して、当該拒否されたインテント要求の数値及び条件の少なくとも一方を緩和したインテント要求を改めて送信することを特徴とする請求項1に記載のネットワーク制御システム。
【請求項4】
前記オーケストレータは、前記分割したインテント要求を拒否したネットワークに対してリソース情報の更新を要求して更新後のリソース情報を取得し、
前記更新後のリソース情報に基づいて前記第1及び2データベースを更新し、
更新されたエンド・ツー・エンドのインテント情報に基づいて、前記インテント要求を満たす伝送路の組み合わせを改めて選択することを特徴とする請求項1に記載のネットワーク制御システム。
【請求項5】
前記オーケストレータは、前記第1及び第2データベースにインテント情報のレコードが存在しないネットワークに対してリソースインテント要求を送信する手段を更に具備し、
当該リソースインテント要求に対して各ネットワークが返答したリソース情報に基づいて、前記第1及び第2データベースにインテント情報を予め格納することを特徴とすることを特徴とする請求項1に記載のネットワーク制御システム。
【請求項6】
前記各ネットワークがモバイルネットワークであることを特徴とする請求項1ないし5のいずれかに記載のネットワーク制御システム。
【請求項7】
コンピュータが、ドメインの異なる複数のネットワーク経由でエンド・ツー・エンド間に所定のインテント要求を満たす通信路を提供するネットワーク制御方法において、
各ネットワークから当該ネットワークの伝送路ごとにリソース情報を予め取得して第1データベースにリソースインテント情報として格納し、
前記リソースインテント情報に基づいて、各ネットワークの伝送路を組み合わせたエンド・ツー・エンドでのインテント情報を予め第2データベースで管理し、
前記エンド・ツー・エンドのインテント情報が前記インテント要求を満たす伝送路の組み合わせを選択し、
前記選択した伝送路の組み合わせに基づいて前記インテント要求をネットワークごとに分割し、
分割したインテント要求を対応するネットワークへそれぞれ送信し、
全てのネットワークが前記分割したインテント要求を承諾した伝送路の組み合わせに基づいて通信路を提供することを特徴とするネットワーク制御方法。
【請求項8】
前記分割したインテント要求を拒否したネットワークに対して当該拒否されたインテント要求とは異なるインテント要求を改めて送信することを特徴とする請求項7に記載のネットワーク制御方法。
【請求項9】
前記分割したインテント要求を拒否したネットワークに対して当該拒否されたインテント要求の数値及び条件の少なくとも一方を緩和したインテント要求を改めて要求することを特徴とする請求項7に記載のネットワーク制御方法。
【請求項10】
前記分割したインテント要求を拒否したネットワークに対してリソース情報の更新を要求して更新後のリソース情報を取得し、
前記更新後のリソース情報に基づいて前記第1及び2データベースを更新し、
更新されたエンド・ツー・エンドのインテント情報に基づいて、前記インテント要求を満たす伝送路の組み合わせを改めて選択することを特徴とする請求項7に記載のネットワーク制御方法。
(【請求項11】以降は省略されています)
発明の詳細な説明
【技術分野】
【0001】
本発明は、ネットワーク制御方法、システム及びプログラムに係り、特に、ドメインの異なる複数のネットワーク経由でエンド・ツー・エンド間に所定のインテント要求を満たす通信路を提供するネットワーク制御方法、システム及びプログラムに関する。
続きを表示(約 2,400 文字)
【背景技術】
【0002】
非特許文献1には、6Gモバイルネットワークに向けたIntent-Drivenのネットワークに対するClosed-LoopとManagement Frameworkというインテント(Intent)を用いたネットワーク管理に関するアーキテクチャの提案が開示されている。
【先行技術文献】
【非特許文献】
【0003】
Jingwen Zhang, Chungang Yang, Ru Dong, Yao Wang, Alagan Anpalagan, Qiang Ni and Mohsen Guizani, "Intent-Driven Closed-Loop Control and Management Framework for 6G Open Ran", IEEE Internet of Things Journal ( Volume: 11, Issue: 4, 15 February 2024) doi: 10.1109/JIOT.2023.3312795
【発明の概要】
【発明が解決しようとする課題】
【0004】
非特許文献1に示されたアーキテクチャは、サービスレベルのインテントをネットワークに適用するために抽象的なインテントをパラメータへ解釈し、分割するアーキテクチャを構築・提供する。
【0005】
しかしながら、分割したインテントをデプロイするまでのPlanおよびExecutionの間で拒否された場合のアーキテクチャが未検討である。したがって、実運用に向けてインテントの分割からExecutionまでの処理でネゴシエーションが繰り返され、デプロイまでに時間がかかってしまうという課題が存在する。
【0006】
本発明の目的は、上記の技術課題を解決し、分割したインテントをデプロイするまでのPlanおよびExecutionの間で拒否された場合でも、所望のインテントを短時間でデプロイできるネットワーク制御方法、システム及びプログラムを提供することにある。
【課題を解決するための手段】
【0007】
上記の目的を達成するために、本発明は、ドメインの異なる複数のネットワーク経由でエンド・ツー・エンド間に所定のインテント要求を満たす通信路を提供するネットワーク制御システムにおいて、オーケストレータ並びに第1及び第2データベースを設け、オーケストレータは、各ネットワークから当該ネットワークの伝送路ごとにリソース情報を取得して第1データベースに格納し、各ネットワークから取得したリソース情報に基づいて、各ネットワークの伝送路を組み合わせたエンド・ツー・エンドでの品質を第2データベースで管理し、エンド・ツー・エンドの品質が前記インテント要求を満たす伝送路の組み合わせを選択し、選択した伝送路の組み合わせに基づいて前記インテント要求をネットワークごとに分割し、分割したインテント要求を対応するネットワークへそれぞれ送信し、全てのネットワークがインテント要求を承諾した伝送路の組み合わせに基づいて通信路を提供するようにした。
【発明の効果】
【0008】
本発明によれば、予め各ネットワークから伝送路ごとにリソース情報を取得、結合することで各ネットワークの伝送路を組み合わせたエンド・ツー・エンドでの品質を管理する。そして、エンド・ツー・エンドの品質がインテント要求を満たす伝送路の組み合わせに基づいてインテント要求をネットワークごとに分割し、分割したインテント要求を対応するネットワークへそれぞれ送信するので、各ネットワークがインテント要求を拒否する可能性を著しく低減できる。したがって、分割したインテントをデプロイするまでのPlanおよびExecutionの間で拒否された場合でも、所望のインテントを短時間でデプロイできるようになる。
【図面の簡単な説明】
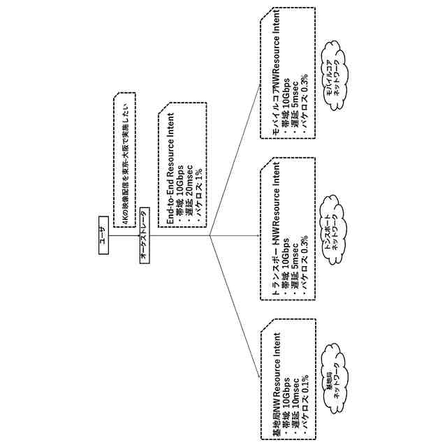
【0009】
本発明を適用したモバイルネットワーク及びその管理・運用システムの主要部の構成を示した機能ブロック図である。
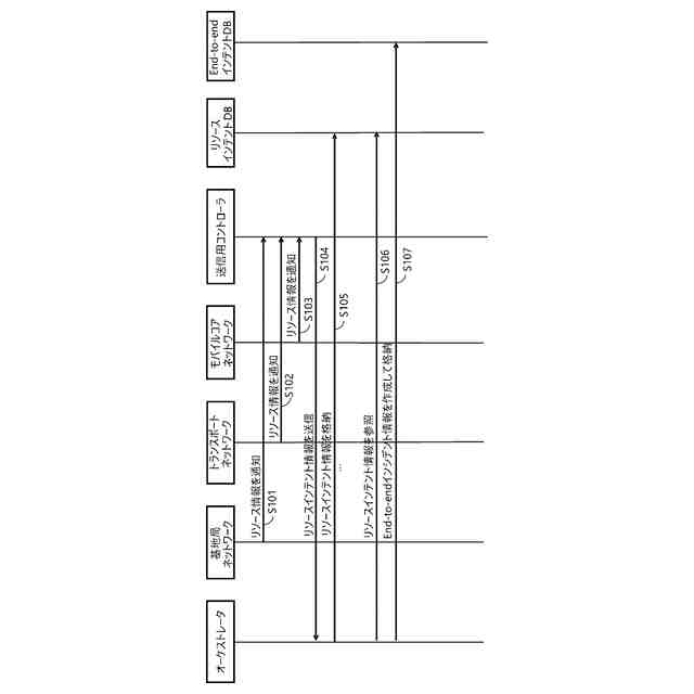
事前動作のシーケンスを示した図である。
基地局ネットワークが送信するリソース情報の例を示した図である。
トランスポートネットワークが送信するリソース情報の例を示した図である。
モバイルコアネットワークが送信するリソース情報の例を示した図である。
End-to-endインテント情報の例を示した図である。
サービスインテントを受信したオーケストレータのシーケンス図である。
End-to-Endリソースインテントを各モバイルコアネットワーク向けのリソースインテントに分解する例を示した図である。
第1の再探索手順を示したシーケンス図である。
第2の再探索手順を示したシーケンス図である。
第3の再探索手順を示したシーケンス図(その1)である。
第3の再探索手順を示したシーケンス図(その2)である。
第3の再探索手順を示したシーケンス図(その3)である。
リソースインテントの事前送信に対応していないネットワークへの適応例を示したシーケンス図である。
【発明を実施するための形態】
【0010】
以下、図面を参照して本発明の実施の形態について詳細に説明する。図1は、本発明を適用したモバイルネットワーク及びその管理・運用を実施する制御システムの主要部の構成を示した機能ブロック図である。モバイルネットワークは通信事業者や地域の企業・自治体等が通信サービスのために構築・運用しているネットワークである。
(【0011】以降は省略されています)
この特許をJ-PlatPat(特許庁公式サイト)で参照する
関連特許
KDDI株式会社
篏合音検出装置
6日前
KDDI株式会社
基地局及び基地局の制御方法
1か月前
KDDI株式会社
無線デバイス及びプログラム
1か月前
KDDI株式会社
情報処理装置及び情報処理方法
1か月前
KDDI株式会社
情報処理装置及び情報処理方法
1か月前
KDDI株式会社
制御装置、方法及びプログラム
1か月前
KDDI株式会社
情報処理装置及び情報処理方法
1か月前
KDDI株式会社
情報処理装置及び情報処理方法
1か月前
KDDI株式会社
情報処理装置、方法及びプログラム
1か月前
KDDI株式会社
評価装置、評価方法及び評価プログラム
1か月前
KDDI株式会社
情報処理装置、学習装置及びプログラム
1か月前
KDDI株式会社
基地局装置、端末装置及び無線通信方法
1か月前
KDDI株式会社
ログ処理装置、端末、方法及びプログラム
1か月前
KDDI株式会社
画像復号装置、画像復号方法及びプログラム
1か月前
KDDI株式会社
情報処理装置、情報処理方法及びプログラム
1か月前
KDDI株式会社
情報処理装置、情報処理方法及びプログラム
1か月前
KDDI株式会社
情報処理装置、情報処理方法及びプログラム
20日前
KDDI株式会社
情報処理装置、情報処理方法及びプログラム
1か月前
KDDI株式会社
情報処理装置、情報処理方法及びプログラム
1か月前
KDDI株式会社
プログラム、情報処理端末及び情報処理方法
1か月前
KDDI株式会社
情報処理装置、情報処理方法及びプログラム
1か月前
KDDI株式会社
画像復号装置、画像復号方法及びプログラム
1か月前
KDDI株式会社
定量化装置、定量化方法及び定量化プログラム
1か月前
KDDI株式会社
通信装置、通信方法及びコンピュータプログラム
14日前
KDDI株式会社
通知装置、通知方法、通知システム及びプログラム
1か月前
KDDI株式会社
情報処理装置、情報処理システム及び情報処理方法
6日前
KDDI株式会社
メッシュ復号装置、メッシュ復号方法及びプログラム
1か月前
KDDI株式会社
メッシュ復号装置、メッシュ復号方法及びプログラム
1か月前
KDDI株式会社
メッシュ復号装置、メッシュ復号方法及びプログラム
1か月前
KDDI株式会社
メッシュ復号装置、メッシュ復号方法及びプログラム
1か月前
KDDI株式会社
メッシュ復号装置、メッシュ復号方法及びプログラム
1か月前
KDDI株式会社
メッシュ復号装置、メッシュ復号方法及びプログラム
1か月前
KDDI株式会社
メッシュ復号装置、メッシュ復号方法及びプログラム
1か月前
KDDI株式会社
メッシュ復号装置、メッシュ復号方法及びプログラム
1か月前
KDDI株式会社
鍵生成装置、鍵生成方法及びコンピュータプログラム
14日前
KDDI株式会社
メッシュ復号装置、メッシュ復号方法及びプログラム
1か月前
続きを見る
他の特許を見る