TOP
|
特許
|
意匠
|
商標
特許ウォッチ
Twitter
他の特許を見る
10個以上の画像は省略されています。
公開番号
2025161656
公報種別
公開特許公報(A)
公開日
2025-10-24
出願番号
2024065028
出願日
2024-04-12
発明の名称
メッシュ復号装置、メッシュ復号方法及びプログラム
出願人
KDDI株式会社
代理人
フェリシテ弁理士法人
主分類
G06T
17/20 20060101AFI20251017BHJP(計算;計数)
要約
【課題】復号したアトラスと基本メッシュとの間でサブメッシュ数が異なる場合であっても正しくメッシュを復号すること。
【解決手段】本発明に係るメッシュ復号装置200において、アトラスサブビットストリームで定義された制御信号から、復号対象フレームにおけるサブメッシュ数を示す変数が算出され、基本メッシュ復号部202で復号され基本メッシュのサブメッシュに変位量及びテクスチャを加えて、サブメッシュ数のサブメッシュが再現される。
【選択図】図2
特許請求の範囲
【請求項1】
メッシュ復号装置であって、
アトラスビットストリームを復号して制御情報を出力するアトラスデータ復号部と、
基本メッシュビットストリームを復号し、基本メッシュを生成して出力する基本メッシュ復号部とを備え、
前記基本メッシュ復号部は、基本メッシュサブビットストリームで定義された制御信号から、復号対象フレームの基本メッシュのサブメッシュ数を算出・出力し、
アトラスサブビットストリームで定義された制御信号から、復号対象フレームにおけるサブメッシュ数を示す変数が算出され、前記基本メッシュ復号部で復号され前記基本メッシュのサブメッシュに変位量及びテクスチャを加えて、前記サブメッシュ数のサブメッシュが再現されることを特徴とするメッシュ復号装置。
続きを表示(約 1,300 文字)
【請求項2】
ビットストリームの適合性の要件は、前記変数によって示されるサブメッシュ数が、前記基本メッシュ復号部で出力された基本メッシュのサブメッシュ数より少ないこと、或いは、前記基本メッシュのサブメッシュ数同じであることであることを特徴とする請求項1に記載のメッシュ復号装置。
【請求項3】
前記変数によって示されるサブメッシュ数が、前記基本メッシュ復号部で出力された基本メッシュのサブメッシュ数より多い場合、前記変数によって示されるサブメッシュ数が、前記基本メッシュのサブメッシュ数に変更されることを特徴とする請求項1に記載のメッシュ復号装置。
【請求項4】
前記変数によって示されるサブメッシュ数が、前記基本メッシュのサブメッシュ数より多い場合、前記変数によって示されるサブメッシュ数に足りない数の前記基本メッシュのサブメッシュが、特定の基本メッシュのサブメッシュにされることを特徴とする請求項1に記載のメッシュ復号装置。
【請求項5】
前記特定の基本メッシュのサブメッシュが、頂点数が同じサブメッシュの中の一番目のサブメッシュにされることを特徴とする請求項4に記載のメッシュ復号装置。
【請求項6】
前記特定の基本メッシュのサブメッシュを、前記基本メッシュの最後のサブメッシュにすることを特徴とする請求項4に記載のメッシュ復号装置。
【請求項7】
メッシュ復号方法であって、
アトラスビットストリームを復号して制御情報を出力する工程Aと、
基本メッシュビットストリームを復号し、基本メッシュを生成して出力する工程Bとを有し、
前記工程Bにおいて、基本メッシュサブビットストリームで定義された制御信号から、復号対象フレームの基本メッシュのサブメッシュ数を算出・出力し、
アトラスサブビットストリームで定義された制御信号から、復号対象フレームにおけるサブメッシュ数を示す変数が算出され、前記工程Bにおいて復号され前記基本メッシュのサブメッシュに変位量及びテクスチャを加えて、前記サブメッシュ数のサブメッシュが再現されることを特徴とするメッシュ復号方法。
【請求項8】
コンピュータを、メッシュ復号装置として機能させるプログラムであって、
前記メッシュ復号装置は、
アトラスビットストリームを復号して制御情報を出力するアトラスデータ復号部と、
基本メッシュビットストリームを復号し、基本メッシュを生成して出力する基本メッシュ復号部とを備え、
前記基本メッシュ復号部は、基本メッシュサブビットストリームで定義された制御信号から、復号対象フレームの基本メッシュのサブメッシュ数を算出・出力し、
アトラスサブビットストリームで定義された制御信号から、復号対象フレームにおけるサブメッシュ数を示す変数が算出され、前記基本メッシュ復号部で復号され前記基本メッシュのサブメッシュに変位量及びテクスチャを加えて、前記サブメッシュ数のサブメッシュが再現されることを特徴とするプログラム。
発明の詳細な説明
【技術分野】
【0001】
本発明は、メッシュ復号装置、メッシュ復号方法及びプログラムに関する。
続きを表示(約 3,400 文字)
【背景技術】
【0002】
非特許文献1又は非特許文献4には、非特許文献5のフレームワークに従って、非特許文献2又は3を用いてメッシュを符号化する技術が開示されている。
【先行技術文献】
【非特許文献】
【0003】
Khaled Mammou, Jungsun Kim, Alexis M Tourapis, Dimitri Podborski, and Krasimir Kolarov, “[V-CG] Apple’s Dynamic Mesh Coding CfP Response,” April 2022, ISO/IEC JTC 1/SC 29/WG 7 m59281.
Google Draco、2022年5月26日アクセス[Online]、https://google.github.io/draco
Jean-Eudes Marvie, Olivier Mocquard, “[V-DMC][EE4.4-related] An efficient EdgeBreaker implementation,” April 2023, ISO/IEC JTC 1/SC 29/WG 7 m63344.
“WD 6.0 of V-DMC,” Jan. 2024, ISO/IEC JTC 1/SC 29/WG 7 N00822.
“Information technology - Coded Representation of Immersive Media - Part 5: Visual Volumetric Video-based Coding (V3C) and Video-based Point Cloud Compression (V-PCC),” ISO/IEC JTC 1/SC 29/WG 7, ISO/IEC 23090-5:2021(2E).
【発明の概要】
【発明が解決しようとする課題】
【0004】
しかしながら、従来技術では、復号したアトラスと基本メッシュとの間でサブメッシュ数が異なる場合、正しくメッシュを復号できないという問題点があった。そこで、本発明は、上述の課題に鑑みてなされたものであり、復号したアトラスと基本メッシュとの間でサブメッシュ数が異なる場合であっても正しくメッシュを復号することができるメッシュ復号装置、メッシュ復号方法及びプログラムを提供することを目的とする。
【課題を解決するための手段】
【0005】
本発明の第1の特徴は、メッシュ復号装置であって、アトラスビットストリームを復号して制御情報を出力するアトラスデータ復号部と、基本メッシュビットストリームを復号し、基本メッシュを生成して出力する基本メッシュ復号部とを備え、前記基本メッシュ復号部は、基本メッシュサブビットストリームで定義された制御信号から、復号対象フレームの基本メッシュのサブメッシュ数を算出・出力し、アトラスサブビットストリームで定義された制御信号から、復号対象フレームにおけるサブメッシュ数を示す変数が算出され、前記基本メッシュ復号部で復号され前記基本メッシュのサブメッシュに変位量及びテクスチャを加えて、前記サブメッシュ数のサブメッシュが再現されることを要旨とする。
【0006】
本発明の第2の特徴は、メッシュ復号方法であって、アトラスビットストリームを復号して制御情報を出力する工程Aと、基本メッシュビットストリームを復号し、基本メッシュを生成して出力する工程Bとを有し、前記工程Bにおいて、基本メッシュサブビットストリームで定義された制御信号から、復号対象フレームの基本メッシュのサブメッシュ数を算出・出力し、アトラスサブビットストリームで定義された制御信号から、復号対象フレームにおけるサブメッシュ数を示す変数が算出され、前記工程Bにおいて復号され前記基本メッシュのサブメッシュに変位量及びテクスチャを加えて、前記サブメッシュ数のサブメッシュが再現されることを要旨とする。
【0007】
本発明の第3の特徴は、コンピュータを、メッシュ復号装置として機能させるプログラムであって、前記メッシュ復号装置は、アトラスビットストリームを復号して制御情報を出力するアトラスデータ復号部と、基本メッシュビットストリームを復号し、基本メッシュを生成して出力する基本メッシュ復号部とを備え、前記基本メッシュ復号部は、基本メッシュサブビットストリームで定義された制御信号から、復号対象フレームの基本メッシュのサブメッシュ数を算出・出力し、アトラスサブビットストリームで定義された制御信号から、復号対象フレームにおけるサブメッシュ数を示す変数が算出され、前記基本メッシュ復号部で復号され前記基本メッシュのサブメッシュに変位量及びテクスチャを加えて、前記サブメッシュ数のサブメッシュが再現されることを要旨とする。
【発明の効果】
【0008】
本発明によれば、復号したアトラスと基本メッシュとの間でサブメッシュ数が異なる場合であっても正しくメッシュを復号することができるメッシュ復号装置、メッシュ復号方法及びプログラムを提供することができる。
【図面の簡単な説明】
【0009】
図1は、一実施形態に係るメッシュ処理システム1の構成の一例を示す図である。
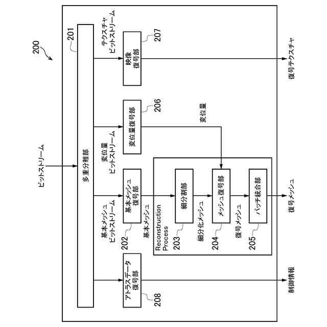
図2は、一実施形態に係るメッシュ復号装置200の機能ブロックの一例を示す図である。
図3Aは、基本メッシュ及び細分割メッシュの一例を示す図である。
図3Bは、基本メッシュ及び細分割メッシュの一例を示す図である。
図4は、一実施形態に係るメッシュ復号装置200の基本メッシュ復号部202の機能ブロックの一例を示す図である。
図5は、一実施形態に係るメッシュ復号装置200の基本メッシュ復号部202のイントラ復号部202Bの機能ブロックの一例を示す図である。
図6は、Pフレームの基本メッシュの頂点とIフレームの基本メッシュの頂点との間の対応関係の一例を示す図である。
図7は、変更例1、変更例2-1について説明するための図である。
図8は、変更例2-2について説明するための図である。
図9は、制御信号の符号化効率の測定結果の一例を示す図である。
図10は、一実施形態に係るメッシュ復号装置200の基本メッシュ復号部202のインター復号部202Eの機能ブロックの一例を示す図である。
図11は、一実施形態に係るメッシュ復号装置200の基本メッシュ復号部202のインター復号部202Eの動きベクトル予測部202E3による復号対象の頂点のMVPの算出方法の一例を説明するための図である。
図12は、一実施形態に係るメッシュ復号装置200の基本メッシュ復号部202のインター復号部202Eの動きベクトル予測部202E3の動作の一例を示すフローチャートを示す。
図13は、一実施形態に係るメッシュ復号装置200の基本メッシュ復号部202のメッシュバッファ部202Cについて説明するための図である。
図14は、一実施形態に係るメッシュ復号装置200の基本メッシュ復号部202のメッシュバッファ部202Cについて説明するための図である。
図15は、変更例2に係るメッシュ復号装置200の基本メッシュ復号部202の変更例について説明するための図である。
図21は、変更例2に係るメッシュ復号装置200の基本メッシュ復号部202の変更例について説明するための図である。
図17は、NALヘッダの一例を示す図である。
【発明を実施するための形態】
【0010】
以下、本発明の実施の形態について、図面を参照しながら説明する。なお、以下の実施形態における構成要素は、適宜、既存の構成要素等との置き換えが可能であり、また、他の既存の構成要素との組み合わせを含む様々なバリエーションが可能である。したがって、以下の実施形態の記載をもって、特許請求の範囲に記載された発明の内容を限定するものではない。
(【0011】以降は省略されています)
特許ウォッチbot のツイートを見る
この特許をJ-PlatPat(特許庁公式サイト)で参照する
関連特許
KDDI株式会社
基地局及び基地局の制御方法
1か月前
KDDI株式会社
無線デバイス及びプログラム
23日前
KDDI株式会社
情報処理装置及び情報処理方法
1か月前
KDDI株式会社
情報処理装置、方法及びプログラム
1か月前
KDDI株式会社
評価装置、評価方法及び評価プログラム
23日前
KDDI株式会社
基地局装置、端末装置及び無線通信方法
1か月前
KDDI株式会社
ログ処理装置、端末、方法及びプログラム
1か月前
KDDI株式会社
情報処理装置、情報処理方法及びプログラム
1か月前
KDDI株式会社
プログラム、情報処理端末及び情報処理方法
1か月前
KDDI株式会社
情報処理装置、情報処理方法及びプログラム
1か月前
KDDI株式会社
情報処理装置、情報処理方法及びプログラム
8日前
KDDI株式会社
画像復号装置、画像復号方法及びプログラム
1か月前
KDDI株式会社
画像復号装置、画像復号方法及びプログラム
1か月前
KDDI株式会社
定量化装置、定量化方法及び定量化プログラム
29日前
KDDI株式会社
通信装置、通信方法及びコンピュータプログラム
2日前
KDDI株式会社
通知装置、通知方法、通知システム及びプログラム
1か月前
KDDI株式会社
メッシュ復号装置、メッシュ復号方法及びプログラム
29日前
KDDI株式会社
メッシュ復号装置、メッシュ復号方法及びプログラム
29日前
KDDI株式会社
メッシュ復号装置、メッシュ復号方法及びプログラム
29日前
KDDI株式会社
メッシュ復号装置、メッシュ復号方法及びプログラム
29日前
KDDI株式会社
メッシュ復号装置、メッシュ復号方法及びプログラム
29日前
KDDI株式会社
鍵生成装置、鍵生成方法及びコンピュータプログラム
2日前
KDDI株式会社
メッシュ復号装置、メッシュ復号方法及びプログラム
29日前
KDDI株式会社
メッシュ復号装置、メッシュ復号方法及びプログラム
29日前
KDDI株式会社
メッシュ復号装置、メッシュ復号方法及びプログラム
29日前
KDDI株式会社
メッシュ復号装置、メッシュ復号方法及びプログラム
29日前
KDDI株式会社
安全性評価装置、安全性評価方法及び安全性評価プログラム
2日前
KDDI株式会社
画像復号装置、画像復号方法、プログラム及び画像符号化装置
1か月前
KDDI株式会社
トリガー判定装置、トリガー判定方法及びトリガー判定プログラム
1か月前
KDDI株式会社
端末装置、基地局装置、通信システム、制御方法、およびプログラム
1か月前
KDDI株式会社
不正文字列探索装置、不正文字列探索方法及び不正文字列探索プログラム
1か月前
KDDI株式会社
セキュリティ鍵の効率的な更新を行うための、端末装置、基地局装置、及び制御方法
1か月前
KDDI株式会社
RLC-AMにおける不要な送信を防ぐための端末装置、基地局装置、及び制御方法
1か月前
KDDI株式会社
動的グラフによる異常通信検知装置、異常通信検知方法、及び異常通信検知プログラム
3日前
KDDI株式会社
情報処理装置、情報処理方法及びプログラム
1か月前
KDDI株式会社
情報処理装置、情報処理方法及びプログラム
1か月前
続きを見る
他の特許を見る