TOP
|
特許
|
意匠
|
商標
特許ウォッチ
Twitter
他の特許を見る
公開番号
2025155537
公報種別
公開特許公報(A)
公開日
2025-10-14
出願番号
2024139641,2024053269
出願日
2024-08-21,2024-03-28
発明の名称
情報処理装置、情報処理方法及びプログラム
出願人
KDDI株式会社
代理人
弁理士法人創光国際特許事務所
主分類
G06Q
50/00 20240101AFI20251002BHJP(計算;計数)
要約
【課題】コミュニティサイトにおける広告の効果を向上させる情報処理装置、情報処理方法及びプログラムを提供する。
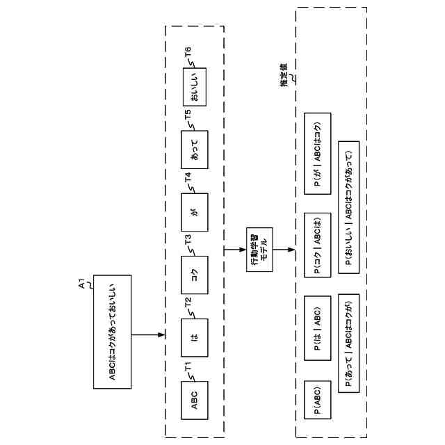
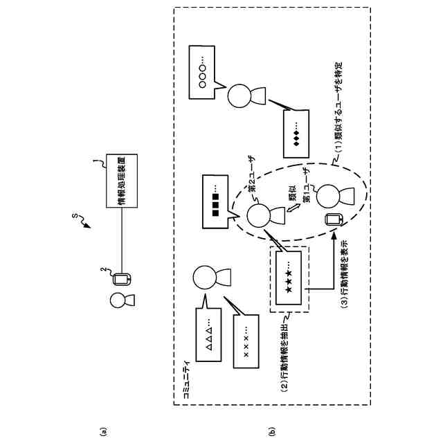
【解決手段】情報処理装置1は、第1のユーザの行動を示す行動情報を取得する取得部131と、第1のユーザの行動に類似する行動を示す第2のユーザを特定する特定部132と、第2のユーザの行動情報を行動学習モデルに入力し、行動情報が示すユーザの行動がコミュニティに所属するユーザの行動と推定される程度を示す推定値を出力させる評価部133と、評価部が出力させた推定値に基づいて、第1のユーザの情報端末に表示させるための第2のユーザの行動情報を抽出する抽出部134と、抽出部が抽出した行動情報を第1のユーザの情報端末に表示させるとともに、所定の商品に関する情報を閲覧するための情報を、抽出部が抽出した行動情報に関連付けて第1のユーザの情報端末にさらに表示させるよう制御する表示制御部135と、を有する。
【選択図】図2
特許請求の範囲
【請求項1】
所定のコミュニティに参加する複数のユーザそれぞれの行動情報を学習した行動学習モデルであって、ユーザの行動を示す行動情報を入力とし、入力された行動情報が示すユーザの行動が当該コミュニティに所属するユーザの行動と推定される程度を示す推定値を出力するよう学習された行動学習モデルを記憶する記憶部と、
前記コミュニティに参加する第1のユーザの行動を示す行動情報を取得する取得部と、
前記取得部が前記第1のユーザの行動情報を取得することを契機として、前記第1のユーザと異なる第2のユーザの行動情報を前記行動学習モデルに入力し、推定値を出力させる評価部と、
前記評価部が出力させた推定値に基づいて、前記第1のユーザの情報端末に表示させる情報を決定するための前記第2のユーザの行動情報を抽出する抽出部と、
前記抽出部が抽出した行動情報の内容に基づき、前記第1のユーザの情報端末に表示させる情報を決定する決定部と、
前記決定部が決定した情報を前記第1のユーザの情報端末に表示させるよう制御する表示制御部と、
を有する情報処理装置。
続きを表示(約 2,400 文字)
【請求項2】
前記記憶部は、事前学習された汎用言語モデルである汎用学習モデルであって、行動情報を入力として、推定値を出力するよう構成された汎用学習モデルをさらに記憶し、
前記行動学習モデルは、前記汎用学習モデルを前記所定のコミュニティに参加する複数のユーザの行動情報に基づいてファインチューニングした学習済みモデルであり、
前記評価部は、前記行動情報を前記汎用学習モデルに入力し、推定値をさらに出力させ、
前記抽出部は、前記評価部が前記行動学習モデルに出力させた推定値と、前記評価部が前記汎用学習モデルに出力させた推定値と、に基づいて、前記第1のユーザの情報端末に表示させる行動情報を抽出する、
請求項1に記載の情報処理装置。
【請求項3】
前記抽出部は、前記評価部が前記行動学習モデルに出力させた推定値と、前記評価部が前記汎用学習モデルに出力させた推定値と、の大小関係が所定の条件を満たす行動情報を、前記第1のユーザの情報端末に表示させる行動情報を抽出する、
請求項2に記載の情報処理装置。
【請求項4】
前記抽出部は、前記第1のユーザの行動情報及び前記第2のユーザの行動情報それぞれをベクトルに変換し、前記第2のユーザの行動情報に対応するベクトルと、前記第1のユーザの行動情報に対応するベクトルと、の距離を算出し、算出した距離が所定の閾値以上の行動情報を、前記第1のユーザの情報端末に表示させる行動情報として抽出する、
請求項1に記載の情報処理装置。
【請求項5】
前記表示制御部は、前記抽出部が抽出した行動情報を前記第1のユーザの情報端末に表示させるとともに、前記決定部が決定した情報を、前記抽出部が抽出した行動情報に関連付けて前記第1のユーザの情報端末に表示させるよう制御する、
請求項1に記載の情報処理装置。
【請求項6】
行動情報はコミュニティにおけるユーザの発言を示すテキストデータであり、
前記表示制御部は、前記抽出部が抽出した行動情報を前記第1のユーザの情報端末にさらに表示させるとともに、前記抽出部が抽出した行動情報に所定の商品を示す文字列が含まれる場合、前記所定の商品に関する情報を閲覧するための情報を、前記抽出部が抽出した行動情報に関連付けて前記第1のユーザの情報端末に表示させるよう制御する、
請求項5に記載の情報処理装置。
【請求項7】
前記表示制御部は、前記抽出部が抽出した行動情報を前記第1のユーザの情報端末にさらに表示させるとともに、前記抽出部が抽出した行動情報が所定の商品に関する行動を示す場合、前記所定の商品に関する情報を閲覧するための情報を、前記抽出部が抽出した行動情報に関連付けて前記第1のユーザの情報端末に表示させ、
前記情報処理装置は、前記表示制御部が情報端末に表示させた前記所定の商品に関する情報を閲覧するための情報を介して前記第1のユーザが前記所定の商品を購入した場合に、前記第2のユーザに所定の便益を付与する便益付与部をさらに有する、
請求項1に記載の情報処理装置。
【請求項8】
コンピュータが実行する、
所定のコミュニティに参加する第1のユーザの行動を示す行動情報を取得する取得ステップと、
前記取得ステップにおいて、前記第1のユーザの行動情報が取得されたことを契機として、記憶部が記憶する、前記所定のコミュニティに参加する複数のユーザそれぞれの行動情報を学習した行動学習モデルであって、行動情報を入力とし、入力された行動情報が示すユーザの行動が当該コミュニティに所属するユーザの行動と推定される程度を示す推定値を出力するよう学習された行動学習モデルに、第1のユーザと異なる第2のユーザの行動情報を入力し、推定値を出力させる評価ステップと、
前記評価ステップにおいて出力された推定値に基づいて、前記第1のユーザの情報端末に表示する情報を決定するための前記第2のユーザの行動情報を抽出する抽出ステップと、
前記抽出ステップにおいて抽出された行動情報の内容に基づき、前記第1のユーザの情報端末に表示させる情報を決定する決定ステップと、
前記決定ステップにおいて決定された情報を、前記第1のユーザの情報端末にさらに表示させる表示制御ステップと、
を有する情報処理方法。
【請求項9】
コンピュータに、
所定のコミュニティに参加する第1のユーザの行動を示す行動情報を取得する取得ステップと、
前記取得ステップにおいて、前記第1のユーザの行動情報が取得されたことを契機として、記憶部が記憶する、前記所定のコミュニティに参加する複数のユーザそれぞれの行動情報を学習した行動学習モデルであって、行動情報を入力とし、入力された行動情報が示すユーザの行動が当該コミュニティに所属するユーザの行動と推定される程度を示す推定値を出力するよう学習された行動学習モデルに、第1のユーザと異なる第2のユーザの行動情報を入力し、推定値を出力させる評価ステップと、
前記評価ステップにおいて出力された推定値に基づいて、前記第1のユーザの情報端末に表示する情報を決定するための前記第2のユーザの行動情報を抽出する抽出ステップと、
前記抽出ステップにおいて抽出された行動情報の内容に基づき、前記第1のユーザの情報端末に表示させる情報を決定する決定ステップと、
前記決定ステップにおいて決定された情報を、前記第1のユーザの情報端末にさらに表示させる表示制御ステップと、
を実行させるためのプログラム。
発明の詳細な説明
【技術分野】
【0001】
本発明は、情報処理装置、情報処理方法及びプログラムに関する。
続きを表示(約 1,600 文字)
【背景技術】
【0002】
ソーシャルネットワーキングサービス(SNS(Social Networking Service))において、広告を表示することが行われている。例えばユーザに広告を含めたSNS投稿を奨励するための広告システムが知られている(例えば、特許文献1を参照)。
【先行技術文献】
【特許文献】
【0003】
特開2018-195026号公報
【発明の概要】
【発明が解決しようとする課題】
【0004】
しかし、従来技術においては広告主が定めた内容を含む投稿をユーザがした場合に付与されるため、このような投稿は閲覧者への訴求力が劣るという問題が生じていた。
【0005】
そこで、本発明はこれらの点に鑑みてなされたものであり、コミュニティサイトにおける広告の効果を向上させることを目的とする。
【課題を解決するための手段】
【0006】
本発明の第1の態様の情報処理装置においては、所定のコミュニティに参加する複数のユーザそれぞれの行動情報を学習した行動学習モデルであって、ユーザの行動を示す行動情報を入力とし、入力された行動情報が示すユーザの行動が当該コミュニティに所属するユーザの行動と推定される程度を示す推定値を出力するよう学習された行動学習モデルを記憶する記憶部と、前記コミュニティに参加する第1のユーザの行動を示す行動情報を取得する取得部と、前記取得部が前記第1のユーザの行動情報を取得することを契機として、前記第1のユーザと異なる第2のユーザの行動情報を前記行動学習モデルに入力し、推定値を出力させる評価部と、前記評価部が出力させた推定値に基づいて、前記第1のユーザの情報端末に表示させる情報を決定するための前記第2のユーザの行動情報を抽出する抽出部と、前記抽出部が抽出した行動情報の内容に基づき、前記第1のユーザの情報端末に表示させる情報を決定する決定部と、前記決定部が決定した情報を前記第1のユーザの情報端末に表示させるよう制御する表示制御部と、を有する。
【0007】
前記記憶部は、事前学習された汎用言語モデルである汎用学習モデルであって、行動情報を入力として、推定値を出力するよう構成された汎用学習モデルをさらに記憶し、前記行動学習モデルは、前記汎用学習モデルを前記所定のコミュニティに参加する複数のユーザの行動情報に基づいてファインチューニングした学習済みモデルであり、前記評価部は、前記行動情報を前記汎用学習モデルに入力し、推定値をさらに出力させ、前記抽出部は、前記評価部が前記行動学習モデルに出力させた推定値と、前記評価部が前記汎用学習モデルに出力させた推定値と、に基づいて、前記第1のユーザの情報端末に表示させる行動情報を抽出してもよい。
【0008】
前記抽出部は、前記評価部が前記行動学習モデルに出力させた推定値と、前記評価部が前記汎用学習モデルに出力させた推定値と、の大小関係が所定の条件を満たす行動情報を、前記第1のユーザの情報端末に表示させる行動情報を抽出してもよい。
【0009】
前記抽出部は、前記第1のユーザの行動情報及び前記第2のユーザの行動情報それぞれをベクトルに変換し、前記第2のユーザの行動情報に対応するベクトルと、前記第1のユーザの行動情報に対応するベクトルと、の距離を算出し、算出した距離が所定の閾値以上の行動情報を、前記第1のユーザの情報端末に表示させる行動情報として抽出してもよい。
【0010】
前記表示制御部は、前記抽出部が抽出した行動情報を前記第1のユーザの情報端末に表示させるとともに、前記決定部が決定した情報を、前記抽出部が抽出した行動情報に関連付けて前記第1のユーザの情報端末に表示させるよう制御してもよい。
(【0011】以降は省略されています)
この特許をJ-PlatPat(特許庁公式サイト)で参照する
関連特許
KDDI株式会社
基地局及び基地局の制御方法
1か月前
KDDI株式会社
無線デバイス及びプログラム
23日前
KDDI株式会社
情報処理装置及び情報処理方法
1か月前
KDDI株式会社
制御装置、方法及びプログラム
1か月前
KDDI株式会社
情報処理装置及び情報処理方法
1か月前
KDDI株式会社
情報処理装置、方法及びプログラム
1か月前
KDDI株式会社
情報処理装置、学習装置及びプログラム
1か月前
KDDI株式会社
評価装置、評価方法及び評価プログラム
23日前
KDDI株式会社
基地局装置、端末装置及び無線通信方法
1か月前
KDDI株式会社
ログ処理装置、端末、方法及びプログラム
1か月前
KDDI株式会社
情報処理装置、情報処理方法及びプログラム
1か月前
KDDI株式会社
情報処理装置、情報処理方法及びプログラム
1か月前
KDDI株式会社
情報処理装置、情報処理方法及びプログラム
1か月前
KDDI株式会社
プログラム、情報処理端末及び情報処理方法
1か月前
KDDI株式会社
画像復号装置、画像復号方法及びプログラム
1か月前
KDDI株式会社
情報処理装置、情報処理方法及びプログラム
1か月前
KDDI株式会社
情報処理装置、情報処理方法及びプログラム
1か月前
KDDI株式会社
情報処理装置、情報処理方法及びプログラム
8日前
KDDI株式会社
画像復号装置、画像復号方法及びプログラム
1か月前
KDDI株式会社
定量化装置、定量化方法及び定量化プログラム
29日前
KDDI株式会社
通信装置、通信方法及びコンピュータプログラム
2日前
KDDI株式会社
通知装置、通知方法、通知システム及びプログラム
1か月前
KDDI株式会社
メッシュ復号装置、メッシュ復号方法及びプログラム
29日前
KDDI株式会社
鍵生成装置、鍵生成方法及びコンピュータプログラム
2日前
KDDI株式会社
メッシュ復号装置、メッシュ復号方法及びプログラム
29日前
KDDI株式会社
メッシュ復号装置、メッシュ復号方法及びプログラム
29日前
KDDI株式会社
メッシュ復号装置、メッシュ復号方法及びプログラム
29日前
KDDI株式会社
メッシュ復号装置、メッシュ復号方法及びプログラム
29日前
KDDI株式会社
メッシュ復号装置、メッシュ復号方法及びプログラム
29日前
KDDI株式会社
メッシュ復号装置、メッシュ復号方法及びプログラム
29日前
KDDI株式会社
メッシュ復号装置、メッシュ復号方法及びプログラム
29日前
KDDI株式会社
メッシュ復号装置、メッシュ復号方法及びプログラム
29日前
KDDI株式会社
安全性評価装置、安全性評価方法及び安全性評価プログラム
2日前
KDDI株式会社
画像復号装置、画像復号方法、プログラム及び画像符号化装置
1か月前
KDDI株式会社
ユーザ装置、5G移動体通信システム及びユーザ装置の制御方法
1か月前
KDDI株式会社
トリガー判定装置、トリガー判定方法及びトリガー判定プログラム
1か月前
続きを見る
他の特許を見る