TOP
|
特許
|
意匠
|
商標
特許ウォッチ
Twitter
他の特許を見る
10個以上の画像は省略されています。
公開番号
2025153268
公報種別
公開特許公報(A)
公開日
2025-10-10
出願番号
2024055653
出願日
2024-03-29
発明の名称
基地局及び基地局の制御方法
出願人
KDDI株式会社
代理人
個人
,
個人
,
個人
主分類
H04W
52/02 20090101AFI20251002BHJP(電気通信技術)
要約
【課題】ユーザ装置の接続数に応じて好適に電力消費を抑えることができる。
【解決手段】無線通信システムによって複数のユーザ装置(User Equipment:UE)と通信可能な基地局は、RLC層(Radio Link Control layer)と、MAC層(Medium Access Control layer)と、PHY層(Physical layer)とを備え、前記PHY層は、接続される複数の前記ユーザ装置について、共通する処理を行う共通処理部と、接続される複数の前記ユーザ装置について、それぞれ特有の処理を行う、複数のユーザ処理部と、を備え、複数の前記ユーザ処理部のうち、前記ユーザ装置に接続される前記ユーザ処理部には電源が供給され、前記ユーザ装置に接続されない前記ユーザ処理部には電源が供給されない。
【選択図】図2
特許請求の範囲
【請求項1】
無線通信システムによって複数のユーザ装置(User Equipment:UE)と通信可能な基地局であって、
RLC層(Radio Link Control layer)と、MAC層(Medium Access Control layer)と、PHY層(Physical layer)とを備え、
前記PHY層は、
接続される複数の前記ユーザ装置について、共通する処理を行う共通処理部と、
接続される複数の前記ユーザ装置について、それぞれ特有の処理を行う、複数のユーザ処理部と、
を備え、
複数の前記ユーザ処理部のうち、前記ユーザ装置に接続される前記ユーザ処理部には電源が供給され、前記ユーザ装置に接続されない前記ユーザ処理部には電源が供給されない、
基地局。
続きを表示(約 1,600 文字)
【請求項2】
それぞれの前記ユーザ処理部は、複数の前記ユーザ装置に接続され、
それぞれの前記ユーザ処理部に同時に接続される前記ユーザ装置の最大数は、予め定められている、
請求項1に記載の基地局。
【請求項3】
前記ユーザ処理部に同時に接続される前記ユーザ装置の最大数は、設置される地域に応じて異なる、
請求項2に記載の基地局。
【請求項4】
前記共通処理部は、前記ユーザ装置との上りリンク通信において、PRACH(Physical random access channel)を用いて、前記ユーザ装置との接続確立に用いる信号を受信する、
請求項1から請求項3のいずれか1項に記載の基地局。
【請求項5】
前記ユーザ処理部は、前記ユーザ装置との上りリンク通信において、PUSCH(Physical Uplink Shared Channel)を用いて、接続される前記ユーザ装置のユーザデータを受信する、
請求項1から請求項3のいずれか1項に記載の基地局。
【請求項6】
前記共通処理部は、それぞれの前記ユーザ処理部から送信された信号を前記ユーザ装置に送信する前に、プリコーディング(Precoding)の処理を行う、
請求項1から請求項3のいずれか1項に記載の基地局。
【請求項7】
前記共通処理部は、前記ユーザ装置との下りリンク通信において、前記ユーザ装置との接続に用いられる信号を送信し、
前記ユーザ装置との接続に用いられる信号には、
前記基地局から前記ユーザ装置に送信される、信号の検出タイミングを示す同期信号(Synchronization Signal:SS)と、
PBCH(Physical Broadcast Channel)を用いて送信される報知信号と、
が含まれる、
請求項1から請求項3のいずれか1項に記載の基地局。
【請求項8】
前記ユーザ処理部は、前記ユーザ装置との下りリンク通信において、PDSCH(Physical Downlink Shared Channel)を用いて、接続される前記ユーザ装置のユーザデータを送信する、
請求項1から請求項3のいずれか1項に記載の基地局。
【請求項9】
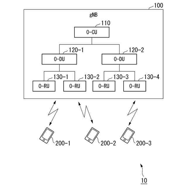
前記共通処理部及びそれぞれの前記ユーザ処理部は、少なくともMAC層を備えるDU(Distributed Unit)より下位のノード、かつ、PHY層のうち、アンテナを制御して前記ユーザ装置との通信を行うRU(Radio Unit)より上位のノードとして、別個独立に備えられる、
請求項1から請求項3のいずれか1項に記載の基地局。
【請求項10】
無線通信システムによって複数のユーザ装置(User Equipment:UE)と通信可能な基地局の制御方法であって、
RLC層(Radio Link Control layer)と、MAC層(Medium Access Control layer)と、PHY層(Physical layer)とを備え、
前記PHY層は、
接続される複数の前記ユーザ装置について、共通する処理を行う共通処理部と、
接続される複数の前記ユーザ装置について、それぞれ特有の処理を行う、複数のユーザ処理部と、
を備える基地局において、
複数の前記ユーザ処理部のうち、前記ユーザ装置に接続される前記ユーザ処理部には電源を供給し、前記ユーザ装置に接続されない前記ユーザ処理部には電源を供給しない、
基地局の制御方法。
発明の詳細な説明
【技術分野】
【0001】
本発明は、基地局及び基地局の制御方法に関する。
続きを表示(約 1,600 文字)
【背景技術】
【0002】
昨今、地域ニーズ又は個別ニーズに応じて様々な主体が利用可能な第5世代移動通信システムが注目されつつある。このような移動通信システムは、5G(5th Generation)とも呼ばれている。
【0003】
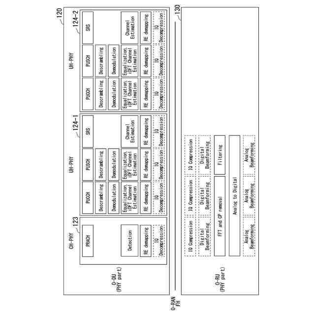
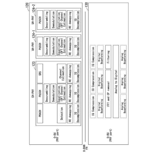
非特許文献1には、第5世代移動通信において、PHY(Physical)層の機能が、RU(Radio Unit)と、DU(Distributed Unit)とに分割して備えられる一例が示されている。また、非特許文献2には、PHY層の機能の具体的な分割例が示されている。PHY層の機能のうちDUに備えられる機能を実行する信号処理部は、H-PHY(High-Physical)層とも呼ばれている。
【先行技術文献】
【非特許文献】
【0004】
O-RAN Working Group 8 Base Station O-DU and O-CU Software Architecture and APIs
O-RAN Working Group 4 (Open Fronthaul Interfaces WG)Control, User and Synchronization Plane Specification
【発明の概要】
【発明が解決しようとする課題】
【0005】
従来、H-PHY層では、ユーザ装置(User Equipment:UE)の処理に対して、基地局の最大接続数のユーザ装置をすべて処理可能な計算リソースを有するアクセラレータが割り当てられ、すべてのユーザ装置を一括で処理していた。そのため、基地局に接続されるユーザ装置の数が最大接続数よりも少ない場合には、過剰に計算リソースが割り当てられ、不要な電力が消費されるという問題があった。
【0006】
そこで本発明は、上記のような点を鑑みてされたものであり、ユーザ装置の接続数に応じて好適に電力消費を抑えることができる技術を提供することを目的とする。
【課題を解決するための手段】
【0007】
本発明の一態様は、無線通信システムによって複数のユーザ装置(User Equipment:UE)と通信可能な基地局であって、RLC層(Radio Link Control layer)と、MAC層(Medium Access Control layer)と、PHY層(Physical layer)とを備え、前記PHY層は、接続される複数の前記ユーザ装置について、共通する処理を行う共通処理部と、接続される複数の前記ユーザ装置について、それぞれ特有の処理を行う、複数のユーザ処理部と、を備え、複数の前記ユーザ処理部のうち、前記ユーザ装置に接続される前記ユーザ処理部には電源が供給され、前記ユーザ装置に接続されない前記ユーザ処理部には電源が供給されない、基地局である。
【0008】
また、本発明の一態様において、それぞれの前記ユーザ処理部は、複数の前記ユーザ装置に接続され、それぞれの前記ユーザ処理部に同時に接続される前記ユーザ装置の最大数は、予め定められているものである。
【0009】
また、本発明の一態様において、前記ユーザ処理部に同時に接続される前記ユーザ装置の最大数は、設置される地域に応じて異なるものである。
【0010】
また、本発明の一態様において、前記共通処理部は、前記ユーザ装置との上りリンク通信において、PRACH(physical random access channel)を用いて、前記ユーザ装置との接続確立に用いる信号を受信するものである。
(【0011】以降は省略されています)
この特許をJ-PlatPat(特許庁公式サイト)で参照する
関連特許
KDDI株式会社
光増幅器
2か月前
KDDI株式会社
光増幅器
2か月前
KDDI株式会社
光増幅器
2か月前
KDDI株式会社
光接続ノード
2か月前
KDDI株式会社
篏合音検出装置
6日前
KDDI株式会社
緊急ネットワーク分離方法
2か月前
KDDI株式会社
無線デバイス及びプログラム
1か月前
KDDI株式会社
基地局及び基地局の制御方法
1か月前
KDDI株式会社
情報処理装置及び情報処理方法
1か月前
KDDI株式会社
制御装置、方法及びプログラム
1か月前
KDDI株式会社
情報処理装置及び情報処理方法
1か月前
KDDI株式会社
情報処理装置及び情報処理方法
2か月前
KDDI株式会社
情報処理装置及び情報処理方法
1か月前
KDDI株式会社
情報処理装置及び情報処理方法
1か月前
KDDI株式会社
情報処理装置及び情報処理方法
2か月前
KDDI株式会社
情報処理装置及び情報処理方法
2か月前
KDDI株式会社
情報処理装置及び情報処理方法
2か月前
KDDI株式会社
情報処理装置及び情報処理方法
1か月前
KDDI株式会社
基地局装置およびその通信方法
1か月前
KDDI株式会社
情報処理装置、方法及びプログラム
1か月前
KDDI株式会社
通信制御システム及び通信制御方法
2か月前
KDDI株式会社
通信制御システム及び通信制御方法
2か月前
KDDI株式会社
通信制御システム及び通信制御方法
2か月前
KDDI株式会社
通信制御システム及び通信制御方法
2か月前
KDDI株式会社
評価装置、評価方法及び評価プログラム
1か月前
KDDI株式会社
飛行体、情報処理装置及び情報処理方法
2か月前
KDDI株式会社
基地局装置、端末装置及び無線通信方法
1か月前
KDDI株式会社
通信装置、無線デバイス及びプログラム
2か月前
KDDI株式会社
情報処理装置、学習装置及びプログラム
1か月前
KDDI株式会社
ログ処理装置、端末、方法及びプログラム
1か月前
KDDI株式会社
画像復号装置、画像復号方法及びプログラム
1か月前
KDDI株式会社
情報処理装置、情報処理方法及びプログラム
1か月前
KDDI株式会社
情報処理装置、情報処理方法及びプログラム
1か月前
KDDI株式会社
情報処理装置、情報処理方法及びプログラム
20日前
KDDI株式会社
情報処理装置、情報処理方法及びプログラム
1か月前
KDDI株式会社
情報処理装置、情報処理方法及びプログラム
1か月前
続きを見る
他の特許を見る