TOP
|
特許
|
意匠
|
商標
特許ウォッチ
Twitter
他の特許を見る
10個以上の画像は省略されています。
公開番号
2025149766
公報種別
公開特許公報(A)
公開日
2025-10-08
出願番号
2024050594
出願日
2024-03-26
発明の名称
基地局装置およびその通信方法
出願人
KDDI株式会社
代理人
弁理士法人大塚国際特許事務所
主分類
H04L
7/00 20060101AFI20251001BHJP(電気通信技術)
要約
【課題】アナログRoF(Radio over Fiber)方式で通信を行う基地局の張出局側において所望の無線信号を所望のタイミングで制御できるようにする。
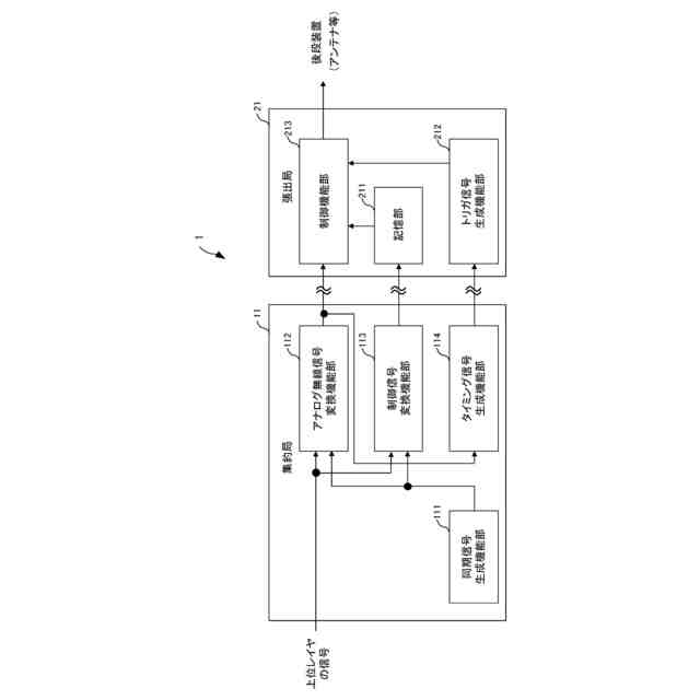
【解決手段】集約局は、同期信号を生成する同期信号生成機能部と、同期信号を基に上位レイヤ信号をアナログ波形であるアナログ無線信号に変換するアナログ無線信号変換機能部と、前記アナログ無線信号と同期したタイミングで切り替わるタイミング信号を生成するタイミング信号生成機能部と、アナログ無線信号を制御するための張出制御信号を抽出する制御信号変換機能部と、を備え、張出局は、取得した張出制御信号を蓄積する記憶部と、タイミング信号が切り替わったタイミングで制御信号を読み出すトリガ信号を生成するトリガ信号生成機能部と、トリガ信号に基づき記憶部に蓄積された張出制御信号を読み出しアナログ無線信号を制御する制御機能部と、を備える。
【選択図】図1
特許請求の範囲
【請求項1】
アナログRoF(Radio over Fiber)方式が適用されたフロントホールで接続された集約局と張出局を備える基地局装置であって、
前記集約局は、
各信号間の同期タイミングを調整するための同期信号を生成する同期信号生成機能部と、
前記同期信号を基に、上位レイヤから送信された無線信号および前記無線信号を制御する制御信号を含む上位レイヤ信号を、アナログ波形であるアナログ無線信号に変換するアナログ無線信号変換機能部と、
前記アナログ無線信号と同期したタイミングで切り替わるタイミング信号を生成するタイミング信号生成機能部と、
前記制御信号から、張出局側で前記アナログ無線信号を制御するための張出制御信号を抽出する制御信号変換機能部と、を備え、
前記張出局は、
取得した前記張出制御信号を蓄積する記憶部と、
前記タイミング信号が切り替わったタイミングで前記制御信号を読み出すトリガ信号を生成するトリガ信号生成機能部と、
前記トリガ信号に基づき、前記記憶部に蓄積された張出制御信号を読み出し、前記アナログ無線信号を制御する制御機能部と、を備えることを特徴とする基地局装置。
続きを表示(約 2,600 文字)
【請求項2】
前記張出局は、転送機能を有する転送機能部と、をさらに備え、
前記集約局は、各信号の受信時刻から送信タイミングの補正時刻を算出する差分計算機能部と、をさらに備え、
前記記憶部は、前記制御信号の受信完了後、前記張出制御信号の受信完了を知らせる信号である第1のフラグ情報を生成し、
前記トリガ信号生成機能部は、前記タイミング信号を受信したタイミングで第2のフラグ情報を生成し、
前記転送機能部は、前記第1のフラグ情報および前記第2のフラグ情報を前記差分計算機能部へ転送し、
前記差分計算機能部は、前記第1のフラグ情報および前記第2のフラグ情報を用いて、前記張出局における前記制御信号と前記アナログ無線信号の受信時刻の差から算出された遅延補正情報を出力し、
前記制御信号変換機能部は、前記出力された遅延補正情報を用いて、前記張出制御信号の送信タイミング調整することを特徴とする請求項1記載の基地局装置。
【請求項3】
前記張出局は、転送機能を有する転送機能部と、をさらに備え、
前記集約局は、各信号の受信時刻から送信タイミングの補正時刻を算出する差分計算機能部と、をさらに備え、
前記記憶部は、前記制御信号の受信完了後、前記張出制御信号の受信完了を知らせる信号である第1のフラグ情報を生成し、
前記トリガ信号生成機能部は、前記タイミング信号を受信したタイミングで第2のフラグ情報を生成し、
前記転送機能部は、前記第1のフラグ情報および前記第2のフラグ情報を前記差分計算機能部へ転送し、
前記差分計算機能部は、前記第1のフラグ情報および前記第2のフラグ情報を用いて、前記張出局における前記制御信号と前記アナログ無線信号の受信時刻の差を算出し、
前記制御信号変換機能部は、前記差分計算機能部から前記受信時刻の差を受信し、受信した前記受信時刻の差を遅延補正情報として用いて、前記張出制御信号の送信タイミング調整することを特徴とする請求項1記載の基地局装置。
【請求項4】
前記張出局は、転送機能を有する転送機能部と、をさらに備え、
前記集約局は、各信号の受信時刻から送信タイミングの補正時刻を算出する差分計算機能部と、をさらに備え、
前記制御信号変換機能部は、前記タイミング信号の整数倍の間隔で整数倍基準信号を生成し、
前記記憶部は、整数倍基準信号の受信完了後、前記張出制御信号の受信完了を知らせる信号である第1のフラグ情報を生成し、
前記トリガ信号生成機能部は、前記整数倍基準信号の倍率と同じ回数生成したタイミングで第2のフラグ情報を生成し、
前記転送機能部は、前記第1のフラグ情報および前記第2のフラグ情報を前記差分計算機能部へ転送し、
前記差分計算機能部は、前記第1のフラグ情報および前記第2のフラグ情報を用いて、前記張出局における前記制御信号と前記アナログ無線信号の受信時刻の差を算出し、
前記制御信号変換機能部は、前記差分計算機能部から前記受信時刻の差を受信し、受信した前記受信時刻の差を遅延補正情報として用いて、前記張出制御信号の送信タイミング調整することを特徴とする請求項1記載の基地局装置。
【請求項5】
前記差分計算機能部は、前記受信時刻の差が、第1の許容値を超えた場合は、前記制御信号変換機能部へ送信時刻を補正するための前記遅延補正情報を送信することを特徴とする請求項2から請求項4のいずれかに記載の基地局装置。
【請求項6】
アナログRoF(Radio over Fiber)方式が適用されたフロントホールで接続された集約局と張出局を備える基地局装置であって、
前記集約局は、
各信号間の同期タイミングを調整するための同期信号を生成する同期信号生成機能部と、
前記同期信号を基に、上位レイヤから送信された無線信号および前記無線信号を制御する制御信号を含む上位レイヤ信号を、アナログ波形であるアナログ無線信号に変換するアナログ無線信号変換機能部と、
前記アナログ無線信号と同期したタイミング信号を生成するタイミング信号生成機能部と、
前記制御信号から、張出局側で前記アナログ無線信号を制御するための張出制御信号を抽出する制御信号変換機能部と、を備え、
前記張出局は、
取得した前記張出制御信号を蓄積する記憶部と、
前記タイミング信号を予め設定された倍率に変換された第2のタイミング信号を生成するタイミング信号変換機能部と、
前記第2のタイミング信号が制御を変更する最小の間隔と同じタイミングで切り替わったときに前記制御信号を読み出すトリガ信号を生成するトリガ信号生成機能部と、
前記トリガ信号に基づき、前記記憶部に蓄積された張出制御信号を読み出し、前記アナログ無線信号を制御する制御機能部と、
を備えることを特徴とする基地局装置。
【請求項7】
アナログRoF(Radio over Fiber)方式が適用されたフロントホールで接続された集約局と張出局を備える基地局装置の通信制御方法であって、
前記集約局において、
各信号間の同期タイミングを調整するための同期信号を生成するステップと、
前記同期信号を基に、上位レイヤから送信された無線信号および前記無線信号を制御する制御信号を含む上位レイヤ信号を、アナログ波形であるアナログ無線信号に変換するステップと、
前記アナログ無線信号と同期したタイミングで切り替わるタイミング信号を生成するステップと、
前記制御信号から、張出局側で前記アナログ無線信号を制御するための張出制御信号を抽出するステップと、
前記張出局において、
前記集約局から取得した前記張出制御信号を記憶部に蓄積するステップと、
前記タイミング信号が切り替わったタイミングで前記制御信号を読み出すトリガ信号を生成するステップと、
前記トリガ信号に基づき、前記記憶部に蓄積された張出制御信号を読み出し、前記アナログ無線信号を制御するステップと、を少なくとも含むことを特徴とする基地局装置の通信方法。
発明の詳細な説明
【技術分野】
【0001】
本発明は、アナログRoF(Radio over Fiber)方式が適用されたフロントホールで接続された集約局と張出局を備える基地局装置の通信方法およびその通信方法に関する。
続きを表示(約 2,600 文字)
【背景技術】
【0002】
近年、基地局の集約局~張出局間を接続するための回線として、一般的にモバイルフロントホール(MFH)が利用されている。MFHは、アンテナから放射する無線信号の波形データを伝送するだけでなく、ビームフォーミングに関する情報など、無線信号を張出局側で制御するための制御信号も伝送している。このため、無線通信を正常に行うには、無線信号と制御信号を適切なタイミングで紐づける必要がある。
【0003】
非特許文献1では、無線信号(U-Plane:User-Plane)及び制御信号(C-Plane:Control-Plane)の両信号をデジタル方式で伝送している。両信号には無線信号関連や制御信号関連のデータの他に、信号の送信タイミングなどを識別するためのヘッダが設けられている。そのため、U-PlaneとC-Planeがどのようなタイミングで届いても、両信号を受信する張出局側で両信号のヘッダを参照することで、適切に両信号の紐づけができ、その結果、所望の無線信号に所望のタイミングで制御を適用することができる。
【先行技術文献】
【非特許文献】
【0004】
ETSI TS 103 859 V7.0.2: “Publicly Available Specification (PAS); O-RAN Fronthaul Control, User and Synchronization Plane Specification v07.02,” Sept. 2022.
【発明の概要】
【発明が解決しようとする課題】
【0005】
非特許文献の場合、無線信号と制御信号の両信号をデジタル方式で伝送しているため、ヘッダや識別番号を容易に追加することができる。
【0006】
一方、アナログRadio over Fiber(RoF)ベースのMFHの場合、無線信号のアナログ波形と相関性のある波形データを直接光伝送する方式(アナログ方式)を用いている。波形が連続的に変化する、無線信号の起点を判別することができず、制御信号を適切に紐づけることができない。つまり、非特許文献1のように無線信号に対して、デジタル的にヘッダや識別番号を付加することはできない。そのため、張出局側において所望の無線信号を所望のタイミングで制御するための新たな制御方式が必要となる。
【0007】
本発明は、このような事情に鑑みてなされたものであり、集約局側から張出局側へ供給する無線信号と制御信号の送信タイミングを調整し、さらに無線信号とタイミングを一致させたタイミング信号も供給することに加え、張出局側ではタイミング信号を基に先の制御信号を反映するタイミングを決定することで、張出局側において所望の無線信号を所望のタイミングで制御できるようにするものである。
【課題を解決するための手段】
【0008】
(1)上記の目的を達成するために、本発明は、以下のような手段を講じた。すなわち、本発明の基地局装置は、アナログRoF(Radio over Fiber)方式が適用されたフロントホールで接続された集約局と張出局を備える基地局装置であって、前記集約局は、各信号間の同期タイミングを調整するための同期信号を生成する同期信号生成機能部と、前記同期信号を基に、上位レイヤから送信された無線信号および前記無線信号を制御する制御信号を含む上位レイヤ信号を、アナログ波形であるアナログ無線信号に変換するアナログ無線信号変換機能部と、前記アナログ無線信号と同期したタイミングで切り替わるタイミング信号を生成するタイミング信号生成機能部と、前記制御信号から、張出局側で前記アナログ無線信号を制御するための張出制御信号を抽出する制御信号変換機能部と、を備え、前記張出局は、取得した前記張出制御信号を蓄積する記憶部と、前記タイミング信号が切り替わったタイミングで前記制御信号を読み出すトリガ信号を生成するトリガ信号生成機能部と、前記トリガ信号に基づき、前記記憶部に蓄積された張出制御信号を読み出し、前記アナログ無線信号を制御する制御機能部と、を備えることを特徴としている。
【0009】
(2)また、本発明の基地局装置において、前記張出局は、転送機能を有する転送機能部と、をさらに備え、前記集約局は、各信号の受信時刻から送信タイミングの補正時刻を算出する差分計算機能部と、をさらに備え、前記記憶部は、前記制御信号の受信完了後、前記張出制御信号の受信完了を知らせる信号である第1のフラグ情報を生成し、前記トリガ信号生成機能部は、前記タイミング信号を受信したタイミングで第2のフラグ情報を生成し、前記転送機能部は、前記第1のフラグ情報および前記第2のフラグ情報を前記差分計算機能部へ転送し、前記差分計算機能部は、前記第1のフラグ情報および前記第2のフラグ情報を用いて、前記張出局における前記制御信号と前記アナログ無線信号の受信時刻の差から算出された遅延補正情報を出力し、前記制御信号変換機能部は、前記出力された遅延補正情報を用いて、前記張出制御信号の送信タイミング調整することを特徴としている。
【0010】
(3)また、本発明の基地局装置において、前記張出局は、転送機能を有する転送機能部と、をさらに備え、前記集約局は、各信号の受信時刻から送信タイミングの補正時刻を算出する差分計算機能部と、をさらに備え、前記記憶部は、前記制御信号の受信完了後、前記張出制御信号の受信完了を知らせる信号である第1のフラグ情報を生成し、前記トリガ信号生成機能部は、前記タイミング信号を受信したタイミングで第2のフラグ情報を生成し、前記転送機能部は、前記第1のフラグ情報および前記第2のフラグ情報を前記差分計算機能部へ転送し、前記差分計算機能部は、前記第1のフラグ情報および前記第2のフラグ情報を用いて、前記張出局における前記制御信号と前記アナログ無線信号の受信時刻の差を算出し、前記制御信号変換機能部は、前記差分計算機能部から前記受信時刻の差 を受信し、受信した前記受信時刻の差を遅延補正情報として用いて、前記張出制御信号の送信タイミング調整することを特徴としている。
(【0011】以降は省略されています)
特許ウォッチbot のツイートを見る
この特許をJ-PlatPat(特許庁公式サイト)で参照する
関連特許
KDDI株式会社
光増幅器
1か月前
KDDI株式会社
光増幅器
1か月前
KDDI株式会社
光接続ノード
1か月前
KDDI株式会社
緊急ネットワーク分離方法
1か月前
KDDI株式会社
基地局及び基地局の制御方法
25日前
KDDI株式会社
無線デバイス及びプログラム
5日前
KDDI株式会社
情報処理装置及び情報処理方法
26日前
KDDI株式会社
情報処理装置及び情報処理方法
1か月前
KDDI株式会社
情報処理装置及び情報処理方法
26日前
KDDI株式会社
基地局装置およびその通信方法
27日前
KDDI株式会社
情報処理装置及び情報処理方法
27日前
KDDI株式会社
情報処理装置及び情報処理方法
25日前
KDDI株式会社
情報処理装置及び情報処理方法
26日前
KDDI株式会社
情報処理装置及び情報処理方法
1か月前
KDDI株式会社
情報処理装置及び情報処理方法
1か月前
KDDI株式会社
制御装置、方法及びプログラム
26日前
KDDI株式会社
通信制御システム及び通信制御方法
1か月前
KDDI株式会社
通信制御システム及び通信制御方法
1か月前
KDDI株式会社
通信制御システム及び通信制御方法
1か月前
KDDI株式会社
情報処理装置、方法及びプログラム
25日前
KDDI株式会社
通信制御システム及び通信制御方法
1か月前
KDDI株式会社
情報処理装置、学習装置及びプログラム
26日前
KDDI株式会社
飛行体、情報処理装置及び情報処理方法
1か月前
KDDI株式会社
通信装置、無線デバイス及びプログラム
1か月前
KDDI株式会社
基地局装置、端末装置及び無線通信方法
25日前
KDDI株式会社
評価装置、評価方法及び評価プログラム
5日前
KDDI株式会社
ログ処理装置、端末、方法及びプログラム
20日前
KDDI株式会社
情報処理装置、情報処理方法及びプログラム
26日前
KDDI株式会社
情報処理装置、情報処理方法及びプログラム
28日前
KDDI株式会社
情報処理装置、情報処理方法及びプログラム
26日前
KDDI株式会社
情報処理装置、情報処理方法及びプログラム
26日前
KDDI株式会社
情報処理装置、情報処理方法及びプログラム
28日前
KDDI株式会社
情報処理装置、情報処理方法及びプログラム
1か月前
KDDI株式会社
情報処理装置、情報処理方法及びプログラム
1か月前
KDDI株式会社
情報処理装置、情報処理方法及びプログラム
26日前
KDDI株式会社
情報処理装置、情報処理方法及びプログラム
27日前
続きを見る
他の特許を見る