TOP
|
特許
|
意匠
|
商標
特許ウォッチ
Twitter
他の特許を見る
公開番号
2025143917
公報種別
公開特許公報(A)
公開日
2025-10-02
出願番号
2024043431
出願日
2024-03-19
発明の名称
光増幅器
出願人
KDDI株式会社
代理人
弁理士法人大塚国際特許事務所
主分類
G02F
1/39 20060101AFI20250925BHJP(光学)
要約
【課題】残留するアイドラ光の成分を抑える。
【解決手段】光増幅器は、増幅前の信号光と第1ポンプ光とを合波して第1合波光を生成し、増幅前の信号光と第2ポンプ光とを合波して第2合波光を生成する手段と、第1合波光に含まれる第1ポンプ光により光パラメトリック増幅することで、増幅後の信号光と光パラメトリック増幅により生成されたアイドラ光とを含む第3合波光を出力し、かつ、第2合波光に含まれる第2ポンプ光により光パラメトリック増幅することで、増幅後の信号光と光パラメトリック増幅により生成されたアイドラ光とを含む第4合波光を出力する手段と、第3合波光及び第4合波光に基づき増幅後の信号光を出力する処理を行う手段と、を備え、第1ポンプ光と第2ポンプ光の周波数は同じであり、第1ポンプ光の位相は第2ポンプ光の位相とπ/2だけ異なる。
【選択図】図1
特許請求の範囲
【請求項1】
増幅前の信号光と第1ポンプ光とを合波して第1合波光を生成する第1合波手段と、
増幅前の前記信号光と第2ポンプ光とを合波して第2合波光を生成する第2合波手段と、
前記第1合波光に含まれる前記第1ポンプ光により前記第1合波光に含まれる前記信号光を光パラメトリック増幅することで、増幅後の前記信号光と前記光パラメトリック増幅により生成されたアイドラ光とを含む第3合波光を出力し、かつ、前記第2合波光に含まれる前記第2ポンプ光により前記第2合波光に含まれる前記信号光を光パラメトリック増幅することで、増幅後の前記信号光と前記光パラメトリック増幅により生成されたアイドラ光とを含む第4合波光を出力する増幅手段と、
前記第3合波光及び前記第4合波光に基づき増幅後の前記信号光を出力する処理を行う処理手段と、
を備え、
前記第1ポンプ光と前記第2ポンプ光の周波数は同じであり、前記第1ポンプ光の位相は前記第2ポンプ光の位相とπ/2だけ異なる、光増幅器。
続きを表示(約 870 文字)
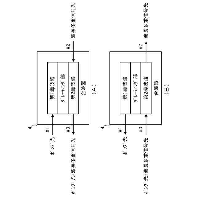
【請求項2】
前記第1合波手段は、前記第1ポンプ光が入力される第1ポートと、増幅前の前記信号光が入力される第2ポートと、前記第1合波光が出力される第3ポートと、前記第1ポンプ光の波長の光を反射し、かつ、前記信号光の波長の光を反射しないグレーティング構造と、を有し、
前記第2合波手段は、前記第2ポンプ光が入力される第1ポートと、増幅前の前記信号光が入力される第2ポートと、前記第2合波光が出力される第3ポートと、前記第2ポンプ光の波長の光を反射し、かつ、前記信号光の波長の光を反射しないグレーティング構造と、を有する、請求項1に記載の光増幅器。
【請求項3】
前記第3合波光は、前記第2合波手段の前記第3ポートに入力され、
前記第4合波光は、前記第1合波手段の前記第3ポートに入力される、請求項2に記載の光増幅器。
【請求項4】
前記処理手段は、前記第2合波手段の前記第2ポートから出力される合波光と、前記第1合波手段の前記第2ポートから出力される合波光と、を合波することで増幅後の前記信号光を出力する第3合波手段を備えている、請求項3に記載の光増幅器。
【請求項5】
前記第3合波手段は、増幅後の前記信号光を出力するポートに入力された増幅前の前記信号光を分岐して、前記第1合波手段の前記第2ポート及び前記第2合波手段の前記第2ポートに出力する、請求項4に記載の光増幅器。
【請求項6】
ポンプ光を生成する光源と、
前記光源が生成した前記ポンプ光を少なくとも2つのポンプ光に分岐し、前記少なくとも2つのポンプ光のうちの1つのポンプ光を前記第2ポンプ光として前記第2合波手段の前記第1ポートに出力する分岐手段と、
前記少なくとも2つのポンプ光のうちの他の1つのポンプ光の位相をπ/2だけシフトさせて前記第1ポンプ光として前記第1合波手段の前記第1ポートに出力するシフト手段と、
を備えている、請求項2から5のいずれか1項に記載の光増幅器。
発明の詳細な説明
【技術分野】
【0001】
本開示は、光増幅器に関する。
続きを表示(約 1,900 文字)
【背景技術】
【0002】
2次や3次等の非線形光学効果を用いた光増幅器は、光パラメトリック増幅器と呼ばれる。EDFA等のイオンを添加したイオン添加光ファイバを使用する光増幅器と比較して、光パラメトリック増幅器では、非常に広い帯域の信号の増幅が可能になる。
【0003】
光パラメトリック増幅器は、信号光をポンプ光で増幅する。ポンプ光は、通常、無変調の連続光である。ポンプ光による増幅の過程においてポンプ光は減衰すると共にアイドラ光が生じる。アイドラ光は、周波数軸上において、ポンプ光を中心として、信号光とは逆側の位置に生じ、その帯域幅は信号光の帯域幅に対応する。
【0004】
例えば、複数の信号光を含む波長多重信号光を光パラメトリック増幅器で増幅する場合、アイドラ光が信号光に対する干渉光とはならない様にする必要がある。つまり、アイドラ光が信号光と重複することがない様に複数の信号光及びポンプ光の周波数配置を決定する必要がある。また、アイドラ光は不要な信号であるため、光増幅器は、フィルタ等によりアイドラ光を除去する必要がある。
【0005】
非特許文献1は、アイドラ光を除去するためのフィルタを必要としない光増幅器を開示している。非特許文献1によると、波長多重信号光とポンプ光を合波した合波光を2×2カプラにより第1合波光と第2合波光に分岐する。そして、第1合波光については、第1非線形媒体で光パラメトリック増幅し、第2合波光については、第2合波光に含まれるポンプ光の位相をシフトさせた後、第2非線形媒体で光パラメトリック増幅し、光パラメトリック増幅した第1合波光と、光パラメトリック増幅した第2合波光と、を合波している。第1合波光に含まれるポンプ光と第2合波光に含まれるポンプ光の位相差により、第1合波光の光パラメトリック増幅で生じるアイドラ光と第2合波光の光パラメトリック増幅で生じるアイドラ光の位相差はπとなるため、光パラメトリック増幅した第1合波光と、光パラメトリック増幅した第2合波光と、を合波することでアイドラ光を除去することができる。
【0006】
第2合波光に含まれるポンプ光の位相をシフトさせるため、非特許文献1では、ポンプ光の一部のパワーを反射し、ポンプ光の残りのパワーと波長多重信号光とを通過させる様に構成したファイバブラッググレーティング(FBG)を使用している。FBGは、反射波長近傍の光に対して位相変化を与えるため、FBGにより、第2合波光に含まれるポンプ光の位相をシフトさせることができる。
【先行技術文献】
【非特許文献】
【0007】
Vladimir Gordienko,et al.,"Design of an interferometric fiber optic parametric amplifier for the rejection of unwanted four-wave mixing products"Opt.Express 31,226-8239,2023年
【発明の概要】
【発明が解決しようとする課題】
【0008】
非特許文献1の構成では、第1合波光と第2合波光を異なる非線形媒体で光パラメトリック増幅している。2つの非線形媒体の特性が異なると、第1合波光の光パラメトリック増幅で生じるアイドラ光は、第2合波光の光パラメトリック増幅で生じるアイドラ光を反転させたものとはならない。したがって、2つの非線形媒体の特性が異なる場合、光パラメトリック増幅した第1合波光と、光パラメトリック増幅した第2合波光と、を合波してもアイドル光成分が残留することになる。
【0009】
さらに、非特許文献1の構成では、FBGにより第2合波光に含まれるポンプ光のパワーが減少する。したがって、2つの非線形媒体の特性が同一であったとしても、第1合波光に含まれるポンプ光のパワーと第2合波光に含まれるポンプ光のパワーとの差により、第1合波光の光パラメトリック増幅で生じるアイドラ光は、第2合波光の光パラメトリック増幅で生じるアイドラ光を反転させたものとはならない。したがって、2つの合波光に含まれるポンプ光のパワーの差によってもアイドル光成分が残留することになる。
【0010】
本開示は、残留するアイドラ光の成分を抑える技術を提供するものである。
【課題を解決するための手段】
(【0011】以降は省略されています)
特許ウォッチbot のツイートを見る
この特許をJ-PlatPat(特許庁公式サイト)で参照する
関連特許
KDDI株式会社
基地局及び基地局の制御方法
19日前
KDDI株式会社
情報処理装置及び情報処理方法
20日前
KDDI株式会社
基地局装置およびその通信方法
21日前
KDDI株式会社
情報処理装置及び情報処理方法
20日前
KDDI株式会社
情報処理装置及び情報処理方法
20日前
KDDI株式会社
情報処理装置及び情報処理方法
19日前
KDDI株式会社
制御装置、方法及びプログラム
20日前
KDDI株式会社
情報処理装置及び情報処理方法
21日前
KDDI株式会社
情報処理装置、方法及びプログラム
19日前
KDDI株式会社
基地局装置、端末装置及び無線通信方法
19日前
KDDI株式会社
情報処理装置、学習装置及びプログラム
20日前
KDDI株式会社
ログ処理装置、端末、方法及びプログラム
14日前
KDDI株式会社
情報処理装置、情報処理方法及びプログラム
20日前
KDDI株式会社
情報処理装置、情報処理方法及びプログラム
22日前
KDDI株式会社
プログラム、情報処理端末及び情報処理方法
20日前
KDDI株式会社
情報処理装置、情報処理方法及びプログラム
20日前
KDDI株式会社
情報処理装置、情報処理方法及びプログラム
21日前
KDDI株式会社
情報処理装置、情報処理方法及びプログラム
22日前
KDDI株式会社
情報処理装置、情報処理方法及びプログラム
20日前
KDDI株式会社
画像復号装置、画像復号方法及びプログラム
7日前
KDDI株式会社
情報処理装置、情報処理方法及びプログラム
20日前
KDDI株式会社
情報処理装置、情報処理方法及びプログラム
20日前
KDDI株式会社
情報処理装置、情報処理方法及びプログラム
20日前
KDDI株式会社
画像復号装置、画像復号方法及びプログラム
7日前
KDDI株式会社
定量化装置、定量化方法及び定量化プログラム
5日前
KDDI株式会社
ネットワーク制御方法、システム及びプログラム
22日前
KDDI株式会社
通知装置、通知方法、通知システム及びプログラム
19日前
KDDI株式会社
メッシュ復号装置、メッシュ復号方法及びプログラム
5日前
KDDI株式会社
メッシュ復号装置、メッシュ復号方法及びプログラム
5日前
KDDI株式会社
メッシュ復号装置、メッシュ復号方法及びプログラム
5日前
KDDI株式会社
メッシュ復号装置、メッシュ復号方法及びプログラム
5日前
KDDI株式会社
メッシュ復号装置、メッシュ復号方法及びプログラム
5日前
KDDI株式会社
メッシュ復号装置、メッシュ復号方法及びプログラム
5日前
KDDI株式会社
メッシュ復号装置、メッシュ復号方法及びプログラム
5日前
KDDI株式会社
メッシュ復号装置、メッシュ復号方法及びプログラム
5日前
KDDI株式会社
メッシュ復号装置、メッシュ復号方法及びプログラム
5日前
続きを見る
他の特許を見る