TOP
|
特許
|
意匠
|
商標
特許ウォッチ
Twitter
他の特許を見る
10個以上の画像は省略されています。
公開番号
2025149393
公報種別
公開特許公報(A)
公開日
2025-10-08
出願番号
2024050013
出願日
2024-03-26
発明の名称
情報処理装置、情報処理方法及びプログラム
出願人
KDDI株式会社
代理人
弁理士法人創光国際特許事務所
主分類
G06Q
50/10 20120101AFI20251001BHJP(計算;計数)
要約
【課題】ユーザの好みに合うコンテンツが提供されるようにする。
【解決手段】複数のユーザそれぞれのユーザ識別情報と、属性と、を関連付けたユーザ情報を記憶するユーザ情報記憶部121と、素材を識別するための素材識別情報と、該素材の性質を記憶する素材情報記憶部122と、素材を当て嵌めてコンテンツを構成するためのテンプレートを示すテンプレート情報を記憶するテンプレート記憶部123と、複数のユーザのうち少なくともいずれかのユーザに提供するコンテンツを生成することを指示するための生成指示を取得する生成指示取得部131と、生成指示が示すコンテンツを生成する対象のユーザである対象ユーザの属性に対応する性質を有する素材を取得する素材取得部132と、取得した素材を、テンプレート情報が示すテンプレートに適用してコンテンツを生成する生成部133と、を有する情報処理装置1である。
【選択図】図3
特許請求の範囲
【請求項1】
複数のユーザそれぞれのユーザ識別情報と、前記複数のユーザそれぞれの属性と、を関連付けたユーザ情報を記憶するユーザ情報記憶部と、
コンテンツを構成する要素である素材を識別するための素材識別情報と、該素材の性質を記憶する素材情報記憶部と、
素材を当て嵌めてコンテンツを構成するためのテンプレートを示すテンプレート情報を記憶するテンプレート記憶部と、
前記複数のユーザのうち少なくともいずれかのユーザに提供するコンテンツを生成することを指示するための生成指示を取得する生成指示取得部と、
前記生成指示が示すコンテンツを生成する対象のユーザである対象ユーザの属性に対応する性質を有する素材を取得する素材取得部と、
取得した素材を、前記テンプレート情報が示すテンプレートに適用してコンテンツを生成する生成部と、
を有する情報処理装置。
続きを表示(約 2,100 文字)
【請求項2】
複数のユーザそれぞれの属性と、該複数のユーザそれぞれが好むコンテンツが有する性質と、の関係を学習した学習済みモデルであって、ユーザの属性を入力として、該ユーザに提供する素材が有する性質を出力するよう学習した学習済みモデルを記憶するモデル記憶部をさらに有し、
前記素材取得部は、前記対象ユーザの属性を入力としたときの前記学習済みモデルが出力した性質を有する素材を前記対象ユーザの属性に対応する性質を有する素材として取得する、
請求項1に記載の情報処理装置。
【請求項3】
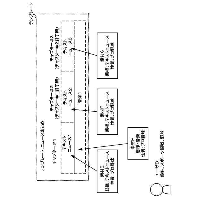
前記テンプレート情報は、動画像であるコンテンツを構成するためのテンプレートであって、2以上の素材それぞれを適用するタイミングを示す情報を少なくとも含み、
前記生成部は、前記テンプレート情報が示すタイミングに前記素材取得部が取得した素材を適用してコンテンツを生成する、
請求項1に記載の情報処理装置。
【請求項4】
前記素材情報記憶部は、複数の素材それぞれを識別するための前記素材識別情報と、前記複数の素材それぞれの性質と、該複数の素材の態様と、を関連付けて記憶し、
前記素材取得部は、同種の性質を有する複数の素材であって、それぞれ態様が異なる該複数の素材を取得し、
前記生成部は、該複数の素材それぞれを前記テンプレート情報が示すテンプレートに適用してコンテンツを生成する、
請求項1記載の情報処理装置。
【請求項5】
前記素材情報記憶部は、複数の素材それぞれを識別するための前記素材識別情報と、前記複数の素材それぞれの性質と、該複数の素材の態様と、を関連付けて記憶し、
前記素材取得部は、前記対象ユーザの属性に対応する性質を有する素材のうち、態様に応じて定められた優先度のうち最も優先される優先度を有する素材である第1素材を取得し、かつ、前記第1素材に関連付けられた性質と同じ性質を有する素材であって、かつ、最も優先される優先度を有する素材の態様と異なる態様の素材である第2素材を取得し、
前記生成部は、少なくとも前記第1素材及び前記第2素材を前記テンプレート情報が示すンプレートに適用してコンテンツを生成する、
請求項1に記載の情報処理装置。
【請求項6】
前記素材情報記憶部は、複数の素材それぞれを識別するための前記素材識別情報と、前記複数の素材それぞれの性質と、該複数の素材の態様と、を関連付けて記憶し、
前記テンプレート情報においては、2以上の素材それぞれを適用するタイミングを示す情報と、該タイミングそれぞれに適用する素材の態様と、を含み、
前記素材取得部は、前記ユーザの属性に対応する性質を有する素材を、前記テンプレート情報が示す態様ごとに取得する、
請求項1に記載の情報処理装置。
【請求項7】
コンピュータが実行する、
複数のユーザのうち少なくともいずれかのユーザに提供するコンテンツを生成することを指示するための生成指示を取得する生成指示取得ステップと、
(1)ユーザ情報記憶部が記憶する、前記複数のユーザそれぞれのユーザ識別情報と、前記複数のユーザそれぞれの属性と、を関連付けたユーザ情報と、
(2)素材情報記憶部が記憶する、コンテンツを構成する要素である素材を識別するための素材識別情報と、該素材の性質と、を関連付けた素材情報と、
を参照し、前記生成指示が示すコンテンツを生成する対象のユーザである対象ユーザの属性に対応する性質を有する素材を取得する素材取得ステップと、
テンプレート記憶部が記憶する、素材を当て嵌めてコンテンツを構成するためのテンプレートを示すテンプレート情報を参照し、前記素材取得ステップにおいて取得した素材を、前記テンプレート情報が示すテンプレートに適用してコンテンツを生成する生成ステップと、
を有する情報処理方法。
【請求項8】
コンピュータに、
複数のユーザのうち少なくともいずれかのユーザに提供するコンテンツを生成することを指示するための生成指示を取得する生成指示取得ステップと、
(1)ユーザ情報記憶部が記憶する、前記複数のユーザそれぞれのユーザ識別情報と、前記複数のユーザそれぞれの属性と、を関連付けたユーザ情報と、
(2)素材情報記憶部が記憶する、コンテンツを構成する要素である素材を識別するための素材識別情報と、該素材の性質と、を関連付けた素材情報と、
を参照し、前記生成指示が示すコンテンツを生成する対象のユーザである対象ユーザの属性に対応する性質を有する素材を取得する素材取得ステップと、
テンプレート記憶部が記憶する、素材を当て嵌めてコンテンツを構成するためのテンプレートを示すテンプレート情報を参照し、前記素材取得ステップにおいて取得した素材を、前記テンプレート情報が示すテンプレートに適用してコンテンツを生成する生成ステップと、
を実行させるプログラム。
発明の詳細な説明
【技術分野】
【0001】
本発明は、情報処理装置、情報処理方法及びプログラムに関する。
続きを表示(約 1,600 文字)
【背景技術】
【0002】
ユーザの選択に応じてユーザが興味を有するカテゴリを推定し、当該カテゴリに属するコンテンツをユーザにレコメンドする装置が知られている(例えば、特許文献1を参照)。
【先行技術文献】
【特許文献】
【0003】
特開2024-013530号公報
【発明の概要】
【発明が解決しようとする課題】
【0004】
しかし、従来技術においては、出来上がったコンテンツをユーザの行動に合わせて推薦するものであり、コンテンツを視聴するユーザの好みに合わないコンテンツが提供される場合があった。
【0005】
そこで、本発明はこれらの点に鑑みてなされたものであり、ユーザの好みに合うコンテンツが提供されるようにすることを目的とする。
【課題を解決するための手段】
【0006】
本発明の第1の態様の情報処理装置においては、複数のユーザそれぞれのユーザ識別情報と、前記複数のユーザそれぞれの属性と、を関連付けたユーザ情報を記憶するユーザ情報記憶部と、コンテンツを構成する要素である素材を識別するための素材識別情報と、該素材の性質を記憶する素材情報記憶部と、素材を当て嵌めてコンテンツを構成するためのテンプレートを示すテンプレート情報を記憶するテンプレート記憶部と、前記複数のユーザのうち少なくともいずれかのユーザに提供するコンテンツを生成することを指示するための生成指示を取得する生成指示取得部と、前記生成指示が示すコンテンツを生成する対象のユーザである対象ユーザの属性に対応する性質を有する素材を取得する素材取得部と、取得した素材を、前記テンプレート情報が示すテンプレートに適用してコンテンツを生成する生成部と、を有する。
【0007】
複数のユーザそれぞれの属性と、該複数のユーザそれぞれが好むコンテンツが有する性質と、の関係を学習した学習済みモデルであって、ユーザの属性を入力として、該ユーザに提供する素材が有する性質を出力するよう学習した学習済みモデルを記憶するモデル記憶部をさらに有し、前記素材取得部は、前記対象ユーザの属性を入力としたときの前記学習済みモデルが出力した性質を有する素材を前記対象ユーザの属性に対応する性質を有する素材として取得してもよい。
【0008】
前記テンプレート情報は、動画像であるコンテンツを構成するためのテンプレートであって、2以上の素材それぞれを適用するタイミングを示す情報を少なくとも含み、前記生成部は、前記テンプレート情報が示すタイミングに前記素材取得部が取得した素材を適用してコンテンツを生成してもよい。
【0009】
前記素材情報記憶部は、複数の素材それぞれを識別するための前記素材識別情報と、前記複数の素材それぞれの性質と、該複数の素材の態様と、を関連付けて記憶し、前記素材取得部は、同種の性質を有する複数の素材であって、それぞれ態様が異なる該複数の素材を取得し、前記生成部は、該複数の素材それぞれを前記テンプレート情報が示すテンプレートに適用してコンテンツを生成してもよい。
【0010】
前記素材情報記憶部は、複数の素材それぞれを識別するための前記素材識別情報と、前記複数の素材それぞれの性質と、該複数の素材の態様と、を関連付けて記憶し、前記素材取得部は、前記対象ユーザの属性に対応する性質を有する素材のうち、態様に応じて定められた優先度のうち最も優先される優先度を有する素材である第1素材を取得し、かつ、前記第1素材に関連付けられた性質と同じ性質を有する素材であって、かつ、最も優先される優先度を有する素材の態様と異なる態様の素材である第2素材を取得し、前記生成部は、少なくとも前記第1素材及び前記第2素材を前記テンプレート情報が示すンプレートに適用してコンテンツを生成してもよい。
(【0011】以降は省略されています)
この特許をJ-PlatPat(特許庁公式サイト)で参照する
関連特許
KDDI株式会社
光増幅器
1か月前
KDDI株式会社
光増幅器
1か月前
KDDI株式会社
光増幅器
1か月前
KDDI株式会社
光増幅器
1か月前
KDDI株式会社
光接続ノード
1か月前
KDDI株式会社
緊急ネットワーク分離方法
1か月前
KDDI株式会社
無線デバイス及びプログラム
3日前
KDDI株式会社
基地局及び基地局の制御方法
23日前
KDDI株式会社
情報処理装置及び情報処理方法
24日前
KDDI株式会社
制御装置、方法及びプログラム
24日前
KDDI株式会社
情報処理装置及び情報処理方法
24日前
KDDI株式会社
情報処理装置及び情報処理方法
24日前
KDDI株式会社
基地局装置およびその通信方法
25日前
KDDI株式会社
情報処理装置及び情報処理方法
1か月前
KDDI株式会社
情報処理装置及び情報処理方法
1か月前
KDDI株式会社
情報処理装置及び情報処理方法
25日前
KDDI株式会社
情報処理装置及び情報処理方法
1か月前
KDDI株式会社
情報処理装置及び情報処理方法
1か月前
KDDI株式会社
情報処理装置及び情報処理方法
1か月前
KDDI株式会社
情報処理装置及び情報処理方法
23日前
KDDI株式会社
通信制御システム及び通信制御方法
1か月前
KDDI株式会社
通信制御システム及び通信制御方法
1か月前
KDDI株式会社
通信制御システム及び通信制御方法
1か月前
KDDI株式会社
通信制御システム及び通信制御方法
1か月前
KDDI株式会社
情報処理装置、方法及びプログラム
23日前
KDDI株式会社
飛行体、情報処理装置及び情報処理方法
1か月前
KDDI株式会社
通信装置、無線デバイス及びプログラム
1か月前
KDDI株式会社
情報処理装置、学習装置及びプログラム
24日前
KDDI株式会社
評価装置、評価方法及び評価プログラム
3日前
KDDI株式会社
基地局装置、端末装置及び無線通信方法
23日前
KDDI株式会社
ログ処理装置、端末、方法及びプログラム
18日前
KDDI株式会社
画像復号装置、画像復号方法及びプログラム
11日前
KDDI株式会社
情報処理装置、情報処理方法及びプログラム
24日前
KDDI株式会社
情報処理装置、情報処理方法及びプログラム
26日前
KDDI株式会社
情報処理装置、情報処理方法及びプログラム
1か月前
KDDI株式会社
情報処理装置、情報処理方法及びプログラム
25日前
続きを見る
他の特許を見る