TOP
|
特許
|
意匠
|
商標
特許ウォッチ
Twitter
他の特許を見る
公開番号
2025146016
公報種別
公開特許公報(A)
公開日
2025-10-03
出願番号
2024046580
出願日
2024-03-22
発明の名称
情報処理装置及び情報処理方法
出願人
KDDI株式会社
代理人
弁理士法人創光国際特許事務所
主分類
G06Q
20/38 20120101AFI20250926BHJP(計算;計数)
要約
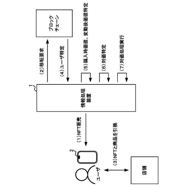
【課題】商品の価格の変動時に利害関係者が被る損失を抑制する。
【解決手段】情報処理装置1は、商品との引換に利用され、ユーザに販売される非代替性トークンを識別するためのトークン識別情報と、非代替性トークンを保有するユーザを識別するためのユーザ識別情報とを関連付けて記憶するブロックチェーンを参照し、非代替性トークンを保有するユーザを特定するユーザ特定部132と、非代替性トークンを保有するユーザが非代替性トークンを購入したときの非代替性トークンの価値である購入時価値と、非代替性トークンの価値変動後の価値である変動後価値とを特定する価値特定部133と、価値特定部133が特定した、ユーザが保有する非代替性トークンの購入時価値と、変動後価値との差分に基づいて、当該ユーザに支払う対価、又は当該ユーザから支払いを受ける対価を特定する対価特定部134と、を有する。
【選択図】図2
特許請求の範囲
【請求項1】
商品との引換に利用され、ユーザに販売される非代替性トークンを識別するためのトークン識別情報と、前記非代替性トークンを保有するユーザを識別するためのユーザ識別情報とを関連付けて記憶するブロックチェーンを参照し、前記非代替性トークンを保有するユーザを特定するユーザ特定部と、
前記非代替性トークンを保有する前記ユーザが前記非代替性トークンを購入したときの前記非代替性トークンの価値である購入時価値と、前記非代替性トークンの価値変動後の価値である変動後価値とを特定する価値特定部と、
前記価値特定部が特定した、前記ユーザが保有する前記非代替性トークンの前記購入時価値と、前記変動後価値との差分に基づいて、当該ユーザに支払う対価、又は当該ユーザから支払いを受ける対価を特定する対価特定部と、
を有する情報処理装置。
続きを表示(約 1,200 文字)
【請求項2】
前記対価特定部が特定した前記対価を前記ユーザに付与、又は前記対価を前記ユーザから徴収する処理である対価処理を実行する対価処理部を有する、
請求項1に記載の情報処理装置。
【請求項3】
前記対価処理部は、前記購入時価値よりも前記変動後価値が低い場合には前記対価を前記ユーザに付与し、前記購入時価値よりも前記変動後価値が高い場合には前記対価を前記ユーザから徴収する、
請求項2に記載の情報処理装置。
【請求項4】
前記対価処理部は、前記対価処理として、前記対価特定部が特定した前記対価を、前記ユーザの口座に送金、又は、前記ユーザの口座から引き落とす処理である入出金処理を実行する、
請求項3に記載の情報処理装置。
【請求項5】
前記対価処理部は、前記購入時価値よりも前記変動後価値が低い場合には、前記商品を販売する事業者の口座から前記対価を引き落とすとともに前記対価を前記ユーザの口座に送金する前記入出金処理を実行する、
請求項4に記載の情報処理装置。
【請求項6】
前記対価処理部は、前記購入時価値よりも前記変動後価値が高い場合には、前記ユーザの代わりに前記対価を支払う契約を前記ユーザと締結している保険会社の口座から前記対価を引き落とす入出金処理を前記対価処理として実行する、
請求項3に記載の情報処理装置。
【請求項7】
前記対価処理部は、前記購入時価値よりも前記変動後価値が低い場合には、前記ユーザに前記対価として所定の特典を付与する、
請求項3に記載の情報処理装置。
【請求項8】
前記対価特定部は、前記ユーザ特定部が前記非代替性トークンを保有するユーザを特定したことに応じて、前記対価を特定し、
前記対価処理部は、前記対価特定部が前記対価を特定したことに応じて、前記対価処理を実行する、
請求項2に記載の情報処理装置。
【請求項9】
前記ユーザ特定部は、前記商品と前記非代替性トークンとの引換時に、当該非代替性トークンの前記トークン識別情報を特定し、前記ブロックチェーンにおいて前記トークン識別情報と関連付けられているユーザ識別情報を特定することにより、当該非代替性トークンを保有するユーザを特定する、
請求項8に記載の情報処理装置。
【請求項10】
前記ユーザ特定部は、前記非代替性トークンの価値の変動時に、当該非代替性トークンの前記トークン識別情報を特定し、前記ブロックチェーンにおいて前記トークン識別情報と関連付けられているユーザ識別情報を特定することにより、当該非代替性トークンを保有するユーザを特定する、
請求項8に記載の情報処理装置。
(【請求項11】以降は省略されています)
発明の詳細な説明
【技術分野】
【0001】
本発明は、情報処理装置及び情報処理方法に関する。
続きを表示(約 1,200 文字)
【背景技術】
【0002】
従来、商品等と交換可能なトークンを発行することが行われている(例えば、特許文献1を参照)。
【先行技術文献】
【特許文献】
【0003】
特開2023-023438号公報
【発明の概要】
【発明が解決しようとする課題】
【0004】
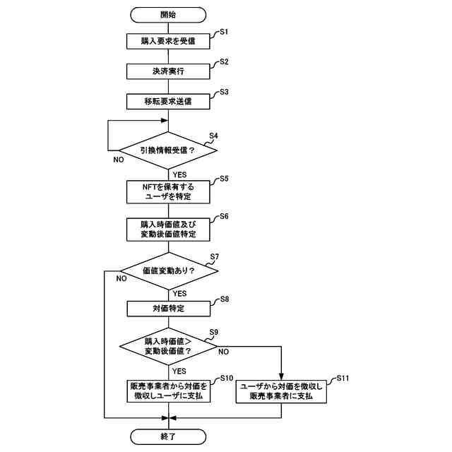
ユーザが商品等と交換可能なトークンを購入した場合、ユーザのトークンの購入後に商品の価格が変動することがある。例えば、商品の価格がトークンの購入価格よりも低くなると、ユーザが損失を被るという問題が発生し、商品の価格がトークンの購入価格よりも高くなると、商品の提供者が損失を被るという問題が発生する。
【0005】
そこで、本発明はこれらの点に鑑みてなされたものであり、商品の価格の変動時に利害関係者が被る損失を抑制することを目的とする。
【課題を解決するための手段】
【0006】
本発明の第1の態様に係る情報処理装置は、商品との引換に利用され、ユーザに販売される非代替性トークンを識別するためのトークン識別情報と、前記非代替性トークンを保有するユーザを識別するためのユーザ識別情報とを関連付けて記憶するブロックチェーンを参照し、前記非代替性トークンを保有するユーザを特定するユーザ特定部と、前記非代替性トークンを保有する前記ユーザが前記非代替性トークンを購入したときの前記非代替性トークンの価値である購入時価値と、前記非代替性トークンの価値変動後の価値である変動後価値とを特定する価値特定部と、前記価値特定部が特定した、前記ユーザが保有する前記非代替性トークンの前記購入時価値と、前記変動後価値との差分に基づいて、当該ユーザに支払う対価、又は当該ユーザから支払いを受ける対価を特定する対価特定部と、を有する。
【0007】
前記情報処理装置は、前記対価特定部が特定した前記対価を前記ユーザに付与、又は前記対価を前記ユーザから徴収する処理である対価処理を実行する対価処理部を有してもよい。
【0008】
前記対価処理部は、前記購入時価値よりも前記変動後価値が低い場合には前記対価を前記ユーザに付与し、前記購入時価値よりも前記変動後価値が高い場合には前記対価を前記ユーザから徴収してもよい。
【0009】
前記対価処理部は、前記対価処理として、前記対価特定部が特定した前記対価を、前記ユーザの口座に送金、又は、前記ユーザの口座から引き落とす処理である入出金処理を実行してもよい。
【0010】
前記対価処理部は、前記購入時価値よりも前記変動後価値が低い場合には、前記商品を販売する事業者の口座から前記対価を引き落とすとともに前記対価を前記ユーザの口座に送金する前記入出金処理を実行してもよい。
(【0011】以降は省略されています)
この特許をJ-PlatPat(特許庁公式サイト)で参照する
関連特許
KDDI株式会社
光増幅器
1日前
KDDI株式会社
光増幅器
1日前
KDDI株式会社
光増幅器
14日前
KDDI株式会社
光増幅器
14日前
KDDI株式会社
光接続ノード
1日前
KDDI株式会社
緊急ネットワーク分離方法
2日前
KDDI株式会社
情報処理装置及び情報処理方法
14日前
KDDI株式会社
情報処理装置及び情報処理方法
今日
KDDI株式会社
情報処理装置及び情報処理方法
今日
KDDI株式会社
情報処理装置及び情報処理方法
今日
KDDI株式会社
情報処理装置及び情報処理方法
14日前
KDDI株式会社
通信制御システム及び通信制御方法
8日前
KDDI株式会社
通信制御システム及び通信制御方法
8日前
KDDI株式会社
通信制御システム及び通信制御方法
8日前
KDDI株式会社
通信制御システム及び通信制御方法
8日前
KDDI株式会社
中継装置、中継方法及び中継プログラム
23日前
KDDI株式会社
飛行体、情報処理装置及び情報処理方法
4日前
KDDI株式会社
認証装置、認証方法及び認証プログラム
23日前
KDDI株式会社
通信装置、無線デバイス及びプログラム
4日前
KDDI株式会社
情報処理装置、情報処理方法及びプログラム
8日前
KDDI株式会社
情報処理装置、情報処理方法及びプログラム
15日前
KDDI株式会社
情報処理装置、情報処理方法及びプログラム
4日前
KDDI株式会社
支援処理装置、支援処理方法及びプログラム
14日前
KDDI株式会社
情報処理装置、情報処理方法及び情報処理システム
14日前
KDDI株式会社
情報処理装置、情報処理方法及び情報処理システム
14日前
KDDI株式会社
情報処理装置、情報処理方法及び情報処理システム
14日前
KDDI株式会社
タスクオフロード制御システム、方法及びプログラム
1日前
KDDI株式会社
メッシュ復号装置、メッシュ復号方法及びプログラム
今日
KDDI株式会社
メッシュ復号装置、メッシュ復号方法及びプログラム
今日
KDDI株式会社
移動通信ネットワークのネットワークノード及びプログラム
22日前
KDDI株式会社
移動通信ネットワークの基地局装置及びネットワークノード
15日前
KDDI株式会社
水中移動体制御システム、水中移動体及び水中移動体制御方法
1日前
KDDI株式会社
方針違反検知装置、方針違反検知方法及び方針違反検知プログラム
14日前
KDDI株式会社
移動通信ネットワークのネットワークノード、サーバ及びプログラム
22日前
KDDI株式会社
移動通信ネットワークのネットワークノード、サーバ及びプログラム
22日前
KDDI株式会社
ネットワークノード、ネットワークノードによる方法及びプログラム
2日前
続きを見る
他の特許を見る