TOP
|
特許
|
意匠
|
商標
特許ウォッチ
Twitter
他の特許を見る
公開番号
2025152024
公報種別
公開特許公報(A)
公開日
2025-10-09
出願番号
2024053719
出願日
2024-03-28
発明の名称
情報処理装置、情報処理方法及びプログラム
出願人
KDDI株式会社
代理人
弁理士法人創光国際特許事務所
主分類
G06T
1/00 20060101AFI20251002BHJP(計算;計数)
要約
【課題】コンテンツに適合するよう素材を修正する負担を軽減する。
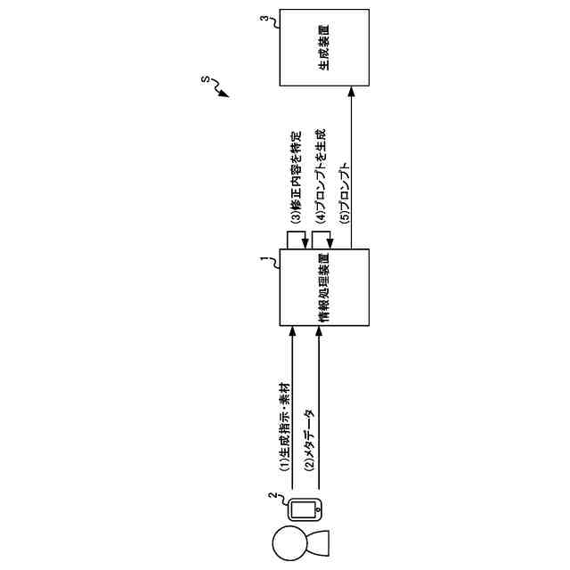
【解決手段】動画コンテンツを構成するための素材と、動画コンテンツを生成するための生成指示と、を受付ける受付部131と、素材について記述されたデータであるメタデータを取得する取得部132と、生成指示と、素材のメタデータと、に基づいて、素材を動画コンテンツに適用するための修正内容を特定する特定部133と、特定した修正内容に基づき、素材を修正する指示を画像生成AIに入力するためのプロンプトを生成する生成部134と、を有する情報処理装置1である。
【選択図】図2
特許請求の範囲
【請求項1】
動画コンテンツを構成するための素材と、前記動画コンテンツを生成するための生成指示と、を受付ける受付部と、
前記素材について記述されたデータであるメタデータを取得する取得部と、
前記生成指示と、前記素材のメタデータと、に基づいて、前記素材を前記動画コンテンツに適用するための修正内容を特定する特定部と、
特定した修正内容に基づき、前記素材を修正する指示を画像生成AIに入力するためのプロンプトを生成する生成部と、
を有する情報処理装置。
続きを表示(約 1,600 文字)
【請求項2】
前記メタデータは、前記素材のアスペクト比を含み、
前記生成指示は、前記動画コンテンツにおいて基準となるアスペクト比である基準アスペクト比を含み、
前記特定部は、前記メタデータが示すアスペクト比と、前記基準アスペクト比と、が異なる場合、前記素材のアスペクト比の変更を前記修正内容として特定し、
前記生成部は、前記素材のアスペクト比を前記特定部が特定したアスペクト比に変更するためのプロンプトを生成する、
請求項1に記載の情報処理装置。
【請求項3】
前記生成指示は、前記動画コンテンツを説明する記載を含み、
前記生成部は、前記特定部がアスペクト比の変更を前記修正内容として特定した場合、前記生成指示に基づいて、前記素材のアスペクト比を前記修正内容に基づいて変更するために不足する部分を当該生成指示が示す動画コンテンツを説明する記載に基づいて補完することを指示するためのプロンプトを生成する、
請求項2に記載の情報処理装置。
【請求項4】
前記生成部は、前記特定部がアスペクト比の変更を前記修正内容として特定した場合、前記生成指示に基づいて、前記素材のアスペクト比を前記修正内容に基づいて変更した場合に余剰となる部分を切り取ることを指示するためのプロンプトを生成する、
請求項2に記載の情報処理装置。
【請求項5】
前記素材は写真画像を含み、
前記メタデータは、前記写真画像の被写体を説明する記載を含み、
前記生成指示は、前記動画コンテンツを説明する記載を含み、
前記生成部は、前記メタデータが示す前記写真画像の被写体を説明する記載と、前記生成指示が示す前記動画コンテンツを説明する記載と、が一致しない場合に、前記生成指示が示す前記動画コンテンツを説明する記載に基づいて、前記写真画像を修正するためのプロンプトを生成する、
請求項1に記載の情報処理装置。
【請求項6】
前記メタデータと、前記生成指示と、に基づいて、前記素材を前記動画コンテンツに適用するための修正が必要か否かを判定する判定部をさらに有し、
前記特定部は、前記素材の修正が必要と前記判定部が判定する場合に、前記修正内容を特定する、
請求項1から5のいずれか1項に記載の情報処理装置。
【請求項7】
前記生成指示は、前記動画コンテンツにおいて表現が制限される事項を示す制限事項をさらに含み、
前記生成部は、前記制限事項をさらに含むプロンプトを生成する、
請求項1から5のいずれか1項に記載の情報処理装置。
【請求項8】
コンピュータが実行する、
動画コンテンツを構成するための素材と、前記動画コンテンツを生成するための生成指示と、を受付けるステップと、
前記素材について記述されたデータであるメタデータを取得するステップと、
前記生成指示と、前記素材のメタデータと、に基づいて、前記素材を前記動画コンテンツに適用するための修正内容を特定するステップと、
特定した修正内容に基づき、前記素材を修正する指示を画像生成AIに入力するためのプロンプトを生成するステップと、
を有する情報処理方法。
【請求項9】
コンピュータに、
動画コンテンツを構成するための素材と、前記動画コンテンツを生成するための生成指示と、を受付けるステップと、
前記素材について記述されたデータであるメタデータを取得するステップと、
前記生成指示と、前記素材のメタデータと、に基づいて、前記素材を前記動画コンテンツに適用するための修正内容を特定するステップと、
特定した修正内容に基づき、前記素材を修正する指示を画像生成AIに入力するためのプロンプトを生成するステップと、
を実行させるプログラム。
発明の詳細な説明
【技術分野】
【0001】
本発明は、情報処理装置、情報処理方法及びプログラムに関する。
続きを表示(約 1,300 文字)
【背景技術】
【0002】
素材を組み合わせることでコンテンツを構成する装置が知られている(例えば、特許文献1を参照)。
【先行技術文献】
【特許文献】
【0003】
特開2024-027453号公報
【発明の概要】
【発明が解決しようとする課題】
【0004】
このような素材が所望の動画コンテンツに適合しない場合があり、コンテンツの生成に制限がある一方、素材を人手で修正する負担が大きいという問題が生じていた。
【0005】
そこで、本発明はこれらの点に鑑みてなされたものであり、コンテンツに適合するよう素材を修正する負担を軽減することができるようにすることを目的とする。
【課題を解決するための手段】
【0006】
本発明の第1の態様の情報処理装置においては、動画コンテンツを構成するための素材と、前記動画コンテンツを生成するための生成指示と、を受付ける受付部と、前記素材について記述されたデータであるメタデータを取得する取得部と、前記生成指示と、前記素材のメタデータと、に基づいて、前記素材を前記動画コンテンツに適用するための修正内容を特定する特定部と、特定した修正内容に基づき、前記素材を修正する指示を画像生成AIに入力するためのプロンプトを生成する生成部と、を有する。
【0007】
前記メタデータは、前記素材のアスペクト比を含み、前記生成指示は、前記動画コンテンツにおいて基準となるアスペクト比である基準アスペクト比を含み、前記特定部は、前記メタデータが示すアスペクト比と、前記基準アスペクト比と、が異なる場合、前記素材のアスペクト比の変更を前記修正内容として特定し、前記生成部は、前記素材のアスペクト比を前記特定部が特定したアスペクト比に変更するためのプロンプトを生成してもよい。
【0008】
前記生成指示は、前記動画コンテンツを説明する記載を含み、前記生成部は、前記特定部がアスペクト比の変更を前記修正内容として特定した場合、前記生成指示に基づいて、前記素材のアスペクト比を前記修正内容に基づいて変更するために不足する部分を当該生成指示が示す動画コンテンツを説明する記載に基づいて補完することを指示するためのプロンプトを生成してもよい。
【0009】
前記生成部は、前記特定部がアスペクト比の変更を前記修正内容として特定した場合、前記生成指示に基づいて、前記素材のアスペクト比を前記修正内容に基づいて変更した場合に余剰となる部分を切り取ることを指示するためのプロンプトを生成してもよい。
【0010】
前記素材は写真画像を含み、前記メタデータは、前記写真画像の被写体を説明する記載を含み、前記生成指示は、前記動画コンテンツを説明する記載を含み、前記生成部は、前記メタデータが示す前記写真画像の被写体を説明する記載と、前記生成指示が示す前記動画コンテンツを説明する記載と、が一致しない場合に、前記生成指示が示す前記動画コンテンツを説明する記載に基づいて、前記写真画像を修正するためのプロンプトを生成してもよい。
(【0011】以降は省略されています)
この特許をJ-PlatPat(特許庁公式サイト)で参照する
関連特許
KDDI株式会社
篏合音検出装置
6日前
KDDI株式会社
評価装置、評価方法及び評価プログラム
1か月前
KDDI株式会社
情報処理装置、情報処理方法及びプログラム
20日前
KDDI株式会社
通信装置、通信方法及びコンピュータプログラム
14日前
KDDI株式会社
情報処理装置、情報処理システム及び情報処理方法
6日前
KDDI株式会社
鍵生成装置、鍵生成方法及びコンピュータプログラム
14日前
KDDI株式会社
安全性設計装置、安全性設計方法及び安全性設計プログラム
今日
KDDI株式会社
安全性評価装置、安全性評価方法及び安全性評価プログラム
14日前
KDDI株式会社
篏合音検出装置
6日前
KDDI株式会社
利用料還元方法、及び利用料還元装置
8日前
KDDI株式会社
動的グラフによる異常通信検知装置、異常通信検知方法、及び異常通信検知プログラム
15日前
KDDI株式会社
教師なしアプリケーション識別装置、教師なしアプリケーション識別方法及びプログラム
6日前
三井住友建設株式会社
通信システム及び建設方法
27日前
個人
詐欺保険
1か月前
個人
縁伊達ポイン
1か月前
個人
RFタグシート
1か月前
個人
職業自動販売機
20日前
個人
5掛けポイント
27日前
個人
地球保全システム
2か月前
個人
ペルソナ認証方式
1か月前
個人
QRコードの彩色
1か月前
個人
情報処理装置
1か月前
個人
自動調理装置
1か月前
個人
残土処理システム
1か月前
個人
農作物用途分配システム
1か月前
NISSHA株式会社
入力装置
今日
個人
知的財産出願支援システム
1か月前
個人
タッチパネル操作指代替具
1か月前
個人
サービス情報提供システム
22日前
個人
インターネットの利用構造
1か月前
個人
学習用データ生成装置
1日前
個人
スケジュール調整プログラム
1か月前
個人
携帯端末障害問合せシステム
1か月前
個人
システム及びプログラム
2か月前
株式会社キーエンス
受発注システム
2か月前
個人
海外支援型農作物活用システム
2か月前
続きを見る
他の特許を見る