TOP
|
特許
|
意匠
|
商標
特許ウォッチ
Twitter
他の特許を見る
10個以上の画像は省略されています。
公開番号
2025161576
公報種別
公開特許公報(A)
公開日
2025-10-24
出願番号
2024064880
出願日
2024-04-12
発明の名称
メッシュ復号装置、メッシュ復号方法及びプログラム
出願人
KDDI株式会社
代理人
フェリシテ弁理士法人
主分類
G06T
9/00 20060101AFI20251017BHJP(計算;計数)
要約
【課題】算術復号を用いた場合に、符号量を削減することができる符号化効率を向上させること。
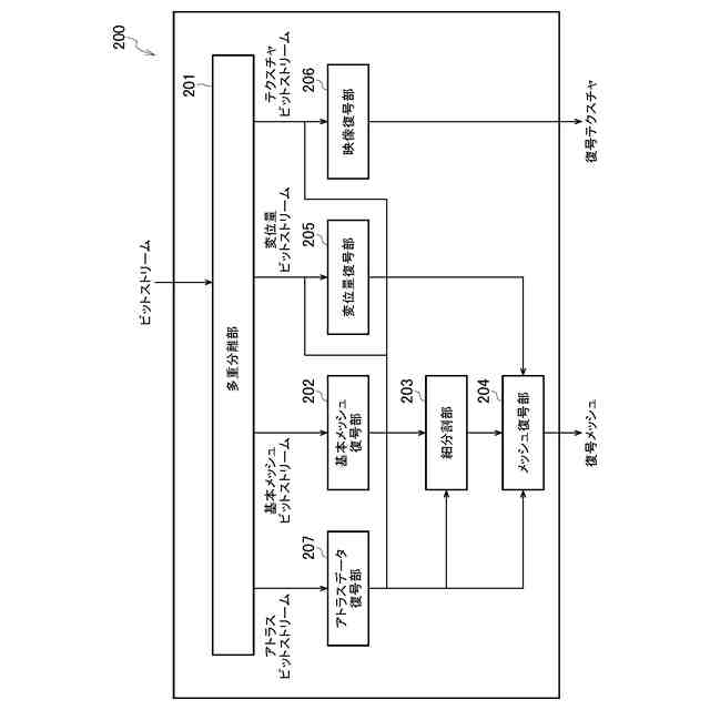
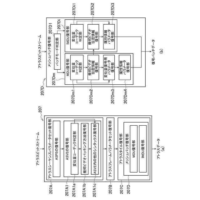
【解決手段】本発明に係るメッシュ復号装置200のアトラス復号部207のメッシュパッチ復号部207Dは、変位量が映像コーデックによる復号であるか或いは算術復号であるかについて判定する変位量コーデック判定部207Dm1/207Di1と、変位量が映像コーデックによる復号であると判定された場合に、復号された変位量の映像のフレームにおけるパッチの存在範囲を特定するための情報を復号する幾何ビデオ位置情報復号部207Dm2/207Di2とを備え、幾何ビデオ位置情報復号部207Dm2/207Di2は、変位量が映像コーデックによる復号でないと判定された場合に、復号された変位量の映像のフレームにおけるパッチの存在範囲を特定するための情報を復号しない。
【選択図】図4
特許請求の範囲
【請求項1】
メッシュ復号装置であって、
アトラスビットストリームを復号して出力するように構成されているアトラス復号部を備え、
前記アトラス復号部は、パッチを復号するメッシュパッチ復号部を備え、
前記メッシュパッチ復号部は、
変位量が映像コーデックによる復号であるか否かについて判定する変位量コーデック判定部と、
前記変位量が前記映像コーデックによる復号であると判定された場合に、復号された変位量の映像のフレームにおけるパッチの存在範囲を特定するための情報を復号する幾何ビデオ位置情報復号部と、を備え、
前記幾何ビデオ位置情報復号部は、前記変位量が前記映像コーデックによる復号でないと判定された場合に、前記復号された変位量の映像のフレームにおけるパッチの存在範囲を特定するための情報を復号しないことを特徴とするメッシュ復号装置。
続きを表示(約 1,700 文字)
【請求項2】
前記復号された変位量の映像のフレームにおけるパッチの存在範囲を特定するための情報は、矩形のいずれか一点を示す頂点座標又は前記頂点座標を量子化したものと、矩形の幅及び高さ又は前記矩形の幅及び高さを量子化したものとを含むことを特徴とする請求項1に記載のメッシュ復号装置。
【請求項3】
前記復号された変位量の映像のフレームにおけるパッチの存在範囲を特定するための情報は、ブロックの開始位置と、最後のブロックの頂点数とを含むことを特徴とする請求項1に記載のメッシュ復号装置。
【請求項4】
メッシュ復号装置であって、
アトラスビットストリームを復号して出力するように構成されているアトラス復号部を備え、
前記アトラス復号部は、パッチを復号するメッシュパッチ復号部を備え、
前記メッシュパッチ復号部は、
変位量が映像コーデックによる復号であるか否かについて判定する変位量コーデック判定部と、
前記変位量が前記映像コーデックによる復号であると判定された場合に、復号された変位量の映像のフレームにおける頂点数を復号する幾何ビデオ位置情報復号部と、を備え、
前記幾何ビデオ位置情報復号部は、前記変位量が前記映像コーデックによる復号でないと判定された場合に、前記復号された変位量の映像のフレームにおける頂点数を復号しないことを特徴とするメッシュ復号装置。
【請求項5】
メッシュ復号装置であって、
アトラスビットストリームを復号して出力するように構成されているアトラス復号部を備え、
前記アトラス復号部は、アトラスシーケンスパラメータセットを復号するアトラスシーケンスパラメータセット復号部を備え、
前記アトラスシーケンスパラメータセット復号部は、
変位量が映像コーデックによる復号であるか否かについて判定する変位量コーデック判定部と、
前記変位量が前記映像コーデックによる復号であると判定された場合に、復号された変位量のパッキング方法を復号する幾何ビデオパッキング方法復号部と、を備え、
前記幾何ビデオパッキング方法復号部は、前記変位量が前記映像コーデックによる復号でないと判定された場合に、前記復号された変位量のパッキング方法を復号しないことを特徴とするメッシュ復号装置。
【請求項6】
メッシュ復号方法であって、
アトラスビットストリームを復号して出力する工程を有し、
前記工程は、パッチを復号する工程Aを有し、
前記工程Aは、
変位量が映像コーデックによる復号であるか否かについて判定する工程A1と、
前記変位量が前記映像コーデックによる復号であると判定された場合に、復号された変位量の映像のフレームにおけるパッチの存在範囲を特定するための情報を復号する工程A2と、
前記変位量が前記映像コーデックによる復号でないと判定された場合に、前記復号された変位量の映像のフレームにおけるパッチの存在範囲を特定するための情報を復号しない工程A3と、を有することを特徴とするメッシュ復号方法。
【請求項7】
コンピュータを、メッシュ復号装置として機能させるプログラムであって、
前記メッシュ復号装置は、アトラスビットストリームを復号して出力するように構成されているアトラス復号部を備え、
前記アトラス復号部は、パッチを復号するメッシュパッチ復号部を備え、
前記メッシュパッチ復号部は、
変位量が映像コーデックによる復号であるか否かについて判定する変位量コーデック判定部と、
前記変位量が前記映像コーデックによる復号であると判定された場合に、復号された変位量の映像のフレームにおけるパッチの存在範囲を特定するための情報を復号する幾何ビデオ位置情報復号部と、を備え、
前記幾何ビデオ位置情報復号部は、前記変位量が前記映像コーデックによる復号でないと判定された場合に、前記復号された変位量の映像のフレームにおけるパッチの存在範囲を特定するための情報を復号しないことを特徴とするプログラム。
発明の詳細な説明
【技術分野】
【0001】
本発明は、メッシュ復号装置、メッシュ復号方法及びプログラムに関する。
続きを表示(約 2,500 文字)
【背景技術】
【0002】
非特許文献1では、映像情報とアトラスと呼ばれる付加情報とを用いて、点群を復号する技術が開示されている。
【0003】
非特許文献2には、メッシュを大まかな基本メッシュと詳細な変位量とに分けて復号し、変位量について映像に変換した後で映像コーデックによって符号化する技術について開示されている。
【0004】
非特許文献3には、変位量について映像コーデックによって復号する技術及び算術復号する技術の仕様について開示されている。変位量の復号は、映像コーデックによる復号或いは算術復号のどちらか一方を使うことができる。また、非特許文献3には、変位量の画像パッキングの仕様について開示されている。
【先行技術文献】
【非特許文献】
【0005】
"Information technology - Coded Representation of Immersive Media - Part 5: Visual Volumetric Video-based Coding (V3C) and Video-based Point Cloud Compression (V-PCC)," ISO/IEC JTC 1/SC 29/WG 7, ISO/IEC 23090-5:2021(2E).
Khaled Mammou, Jungsun Kim, Alexis Tourapis, Dimitri Podborski, Krasimir Kolarov, "[V-CG] Apple’s Dynamic Mesh Coding CfP Response," ISO/IEC JTC 1/SC 29/WG 7 m59281, April 2022.
"WD 6.0 of V-DMC," ISO/IEC JTC 1/SC 29/WG7 w23617, March 2024.
Jungsun Kim et.al., “[V-DMC][new] Usage of parameters in the patches in the Atlas Data sub-bitstream, ISO/IEC JTC 1/SC 20/WG7 m65852, January 2024.
Patrice Rndao Alface et. al., “[V-DMC][EE4.7-related][New] LOD-based displacement frame packing into rectangular regions, ISO/IEC JTC 1/SC 29/WG7 m66206, January 2024.
【発明の概要】
【発明が解決しようとする課題】
【0006】
ここで、非特許文献2及び3に開示されている技術では、幾何情報の1つである変位量を、映像コーデックによるビデオ符号化又は算術符号化を用いて符号化することができる。
【0007】
しかしながら、変位量の復号を算術復号で行う際に、符号量が増大する問題点があった。 そこで、本発明は、上述の課題に鑑みてなされたものであり、変位量の復号時に映像コーデックを用いない場合に、符号量を削減することができる符号化効率を向上させることができる算術復号を用いた場合に符号量を削減することができるメッシュ復号装置、メッシュ復号方法及びプログラムを提供することを目的とする。
【課題を解決するための手段】
【0008】
本発明の第1の特徴は、メッシュ復号装置であって、アトラスビットストリームを復号して出力するように構成されているアトラス復号部を備え、前記アトラス復号部は、パッチを復号するメッシュパッチ復号部を備え、前記メッシュパッチ復号部は、変位量が映像コーデックによる復号であるか否かについて判定する変位量コーデック判定部と、前記変位量が前記映像コーデックによる復号であると判定された場合に、復号された変位量の映像のフレームにおけるパッチの存在範囲を特定するための情報を復号する幾何ビデオ位置情報復号部と、を備え、前記幾何ビデオ位置情報復号部は、前記変位量が前記映像コーデックによる復号でないと判定された場合に、前記復号された変位量の映像のフレームにおけるパッチの存在範囲を特定するための情報を復号しないことを要旨とする。
【0009】
本発明の第2の特徴は、メッシュ復号装置であって、アトラスビットストリームを復号して出力するように構成されているアトラス復号部を備え、前記アトラス復号部は、パッチを復号するメッシュパッチ復号部を備え、前記メッシュパッチ復号部は、変位量が映像コーデックによる復号であるか否かについて判定する変位量コーデック判定部と、前記変位量が前記映像コーデックによる復号であると判定された場合に、復号された変位量の映像のフレームにおける頂点数を復号する幾何ビデオ位置情報復号部と、を備え、前記幾何ビデオ位置情報復号部は、前記変位量が前記映像コーデックによる復号でないと判定された場合に、前記復号された変位量の映像フレームにおける頂点数を復号しないことを要旨とする。
【0010】
本発明の第3の特徴は、メッシュ復号装置であって、アトラスシーケンスパラメータセットを復号するアトラスシーケンスパラメータセット復号部を備え、前記アトラスシーケンスパラメータセット復号部は、変位量が映像コーデックによる復号であるか否かについて判定する判定部と、前記変位量が前記映像コーデックによる復号であると判定された場合に、復号された変位量のパッキング方法を復号する幾何ビデオパッキング方法復号部と、を備え、前記幾何ビデオパッキング方法復号部は、前記変位量が前記映像コーデックによる復号でないと判定された場合に、前記復号された変位量のパッキング方法を復号しないことを要旨とする。
(【0011】以降は省略されています)
特許ウォッチbot のツイートを見る
この特許をJ-PlatPat(特許庁公式サイト)で参照する
関連特許
個人
詐欺保険
13日前
個人
縁伊達ポイン
13日前
個人
RFタグシート
今日
個人
地球保全システム
26日前
個人
QRコードの彩色
17日前
個人
残土処理システム
19日前
個人
農作物用途分配システム
12日前
個人
知的財産出願支援システム
20日前
個人
タッチパネル操作指代替具
6日前
個人
携帯端末障害問合せシステム
5日前
個人
スケジュール調整プログラム
5日前
個人
海外支援型農作物活用システム
1か月前
株式会社キーエンス
受発注システム
25日前
個人
食品レシピ生成システム
25日前
株式会社キーエンス
受発注システム
25日前
株式会社キーエンス
受発注システム
25日前
キヤノン株式会社
表示システム
25日前
大同特殊鋼株式会社
疵判定方法
1か月前
エッグス株式会社
情報処理装置
6日前
個人
帳票自動生成型SaaSシステム
20日前
キヤノン株式会社
印刷システム
5日前
個人
音声・通知・再配達UX制御構造
20日前
トヨタ自動車株式会社
通知装置
3日前
個人
マーケティング活動支援装置
24日前
大同特殊鋼株式会社
棒材計数方法
18日前
株式会社キーエンス
製品受発注システム
25日前
フリー株式会社
情報処理システム
1か月前
株式会社カネカ
製造工場の管理システム
20日前
太陽誘電株式会社
表示装置
3日前
トヨタ自動車株式会社
車両
4日前
TOTO株式会社
姿勢評価システム
18日前
TOTO株式会社
衛生評価システム
18日前
株式会社PIPS
2次元可視コード
10日前
個人
本人認証連動型帳票出力支援システム
28日前
株式会社オカムラ
電力供給システム
17日前
ブラザー工業株式会社
サポートプログラム
1か月前
続きを見る
他の特許を見る