TOP
|
特許
|
意匠
|
商標
特許ウォッチ
Twitter
他の特許を見る
公開番号
2025144639
公報種別
公開特許公報(A)
公開日
2025-10-03
出願番号
2024044386
出願日
2024-03-21
発明の名称
マーケティング活動支援装置
出願人
個人
代理人
個人
主分類
G06Q
30/02 20230101AFI20250926BHJP(計算;計数)
要約
【課題】スクリプトを基に現実に即したロールプレイングモデルを生成することで、マーケティング活動を十分に支援する。
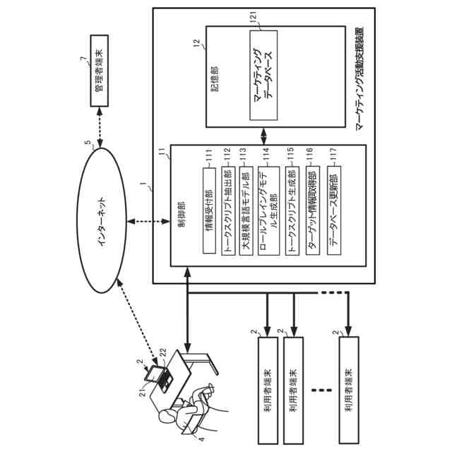
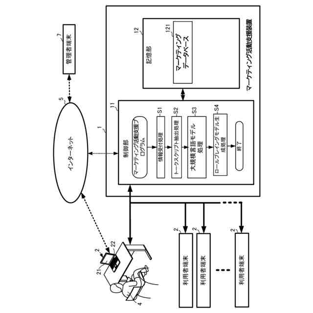
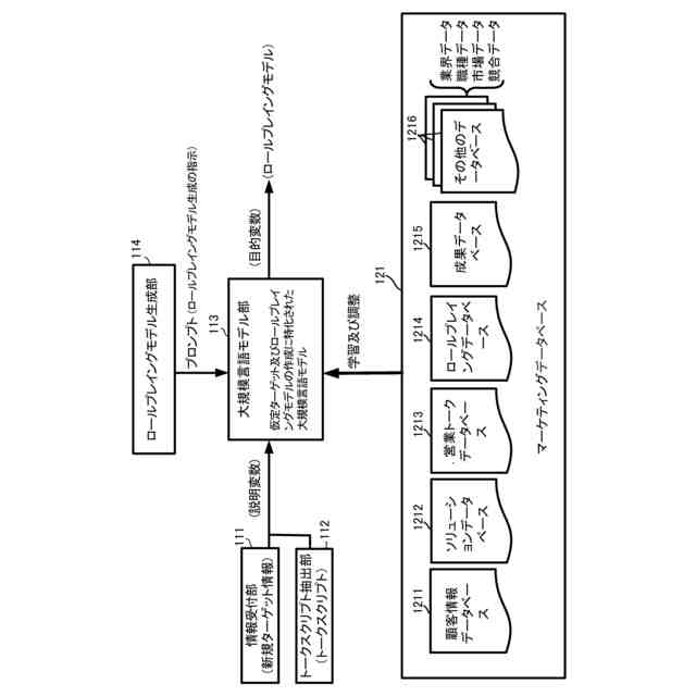
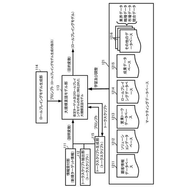
【解決手段】本発明のマーケティング活動支援装置1は、新規ターゲット情報と、マーケティングデータベース121のターゲット情報及び成否情報とに基づいて、マーケティング活動を成功させたトークスクリプトを抽出するトークスクリプト抽出部112と、仮定ターゲット及びロールプレイングモデルの作成に特化された大規模言語モデルを有した大規模言語モデル部113と、大規模言語モデル部113に対してプロンプトを出力することで、新規ターゲット情報に基づいて仮定ターゲットを生成し、トークスクリプト抽出部112で抽出されたトークスクリプトを仮定ターゲットに適用した場合におけるロールプレイングモデルを生成させるロールプレイングモデル生成部114とを有する。
【選択図】図1
特許請求の範囲
【請求項1】
マーケティング活動におけるターゲットに関する複数のターゲット要素からなるターゲット情報と、前記ターゲットに対するトークスクリプトと、前記トークスクリプトによる前記マーケティング活動の成否を示す成否情報とが対応付けて記憶されたマーケティングデータベースと、
1以上のターゲット要素からなる新規ターゲット情報を受け付ける情報受付部と、
前記新規ターゲット情報と、前記マーケティングデータベースの前記ターゲット情報及び前記成否情報とに基づいて、前記マーケティング活動を成功させた前記トークスクリプトを抽出するトークスクリプト抽出部と、
前記マーケティングデータベースの前記ターゲット情報に基づいて、自然言語処理の1種以上を組み合わせることにより、プロンプトで与えられた単語や文章が自然言語としてどのように起こりやすいかを確率的に予測し、仮定ターゲット及びロールプレイングモデルを文章生成、質問応答により生成するように学習及び調整が行われることで、前記仮定ターゲット及び前記ロールプレイングモデルの作成に特化された大規模言語モデルを有した大規模言語モデル部と、
前記大規模言語モデル部に対して前記プロンプトを出力することで、前記新規ターゲット情報に基づいて前記仮定ターゲットを生成し、前記トークスクリプト抽出部で抽出された前記トークスクリプトを前記仮定ターゲットに適用した場合における前記ロールプレイングモデルを生成させるロールプレイングモデル生成部と
を有する、マーケティング活動支援装置。
続きを表示(約 910 文字)
【請求項2】
前記トークスクリプト抽出部は、
前記ターゲット情報、前記トークスクリプト、および前記成否情報を教師データとして使用し、前記ターゲット情報と前記成否情報とに基づいて成功した前記トークスクリプトを予測するように学習されたトークスクリプト予測モデルを備えた機械学習により、前記新規ターゲット情報に対して前記マーケティング活動を成功させる可能性の高いトークスクリプトを抽出する
請求項1に記載のマーケティング活動支援装置。
【請求項3】
前記大規模言語モデル部に対して前記プロンプトを出力することで、前記トークスクリプト抽出部で抽出された前記トークスクリプトと、前記新規ターゲット情報とに基づいて、前記新規ターゲット情報に対して前記マーケティング活動をさらに成功させる可能性の高いトークスクリプトを生成させるトークスクリプト生成部を有し、
ロールプレイングモデル生成部は、前記トークスクリプト抽出部で抽出された前記トークスクリプトに代えて、前記トークスクリプト生成部で生成されたトークスクリプトを前記仮定ターゲットに適用した場合における前記ロールプレイングモデルを生成させる
請求項2に記載のマーケティング活動支援装置。
【請求項4】
前記トークスクリプト抽出部において複数の前記トークスクリプトが抽出された場合、前記大規模言語モデル部に対して前記プロンプトを出力することで、前記複数のトークスクリプトに基づいて、前記新規ターゲット情報に対して前記マーケティング活動を成功させる可能性の高いトークスクリプトを生成させるトークスクリプト生成部を有する
請求項1に記載のマーケティング活動支援装置。
【請求項5】
営業主体が前記マーケティング活動を行った際に集積される前記ターゲット情報を取得するターゲット情報取得部と、
前記ターゲット情報取得部において前記ターゲット情報が取得される度に、前記マーケティングデータベースを更新するデータベース更新部と
を有する請求項1に記載のマーケティング活動支援装置。
発明の詳細な説明
【技術分野】
【0001】
本発明は、マーケティング活動支援装置に関する。
続きを表示(約 1,900 文字)
【背景技術】
【0002】
営業戦略の分野において、顧客又は見込み顧客に関する情報を収集して分析することで、営業効率を高めようとする試みは、活発に行われている。
【0003】
例えば、特許文献1には、営業主体が営業活動を行った際に集積される情報を、営業データとして取得する営業データ取得手段と、営業データを解析する営業データ解析手段と、営業データ解析手段による解析結果に基づいて、営業主体が架電する対象の候補が羅列されたターゲットリストを生成するターゲットリスト生成手段とを備えており、解析結果に基づいてオペレータがターゲットに架電する際に話すべき会話の流れを示すトークスクリプトを生成するとともに、新たに取得された営業データを少なくとも含む情報に、機械学習に関する手法を適用し、その結果に基づいてターゲットリスト生成手段のリスト生成で利用されるアルゴリズムを更新する技術が開示されている。
【0004】
これにより、特許文献1の技術によれば、多量の情報を収集して整理することで、営業活動を効率的に行うことが可能になっている。
【先行技術文献】
【特許文献】
【0005】
特開2019-164648号公報
【発明の概要】
【発明が解決しようとする課題】
【0006】
ところで、特許文献1の技術は、トークスクリプトを生成することでマーケティング活動を支援することを可能にしているが、生成したトークスクリプトをターゲットに対してどのようにマーケティング活動に活用するか不明である点においてさらなる改良の余地がある。
【0007】
本発明はかかる事情に鑑みてなされたものであり、その目的は、スクリプトを基に現実に即したロールプレイングモデルを生成することで、マーケティング活動を十分に支援することができるマーケティング活動支援装置を提供することである。
【課題を解決するための手段】
【0008】
本発明者らは、上記課題を解決するために鋭意検討した結果、新規ターゲット情報を受け取り、過去の成功例から最適なトークスクリプトを抽出し、仮定ターゲット及びロールプレイングモデルの作成に特化された大規模言語モデルを用いて、そのトークスクリプトを基に現実に即したロールプレイングモデルを生成することによって、上記の目的を達成できることを見いだした。そして、本発明者らは、本発明を完成させるに至った。具体的に、本発明は以下のものを提供する。
【0009】
本発明は、マーケティング活動におけるターゲットに関する複数のターゲット要素からなるターゲット情報と、前記ターゲットに対するトークスクリプトと、前記トークスクリプトによる前記マーケティング活動の成否を示す成否情報とが対応付けて記憶されたマーケティングデータベースと、
1以上のターゲット要素からなる新規ターゲット情報を受け付ける情報受付部と、
前記新規ターゲット情報と、前記マーケティングデータベースの前記ターゲット情報及び前記成否情報とに基づいて、前記マーケティング活動を成功させた前記トークスクリプトを抽出するトークスクリプト抽出部と、
前記マーケティングデータベースの前記ターゲット情報に基づいて、前記自然言語処理の1種以上を組み合わせることにより、プロンプトで与えられた単語や文章が自然言語としてどのように起こりやすいかを確率的に予測し、仮定ターゲット及びロールプレイングモデルを文章生成、質問応答により生成するように学習及び調整が行われることで、前記仮定ターゲット及び前記ロールプレイングモデルの作成に特化された大規模言語モデルを有した大規模言語モデル部と、
前記大規模言語モデル部に対して前記プロンプトを出力することで、前記新規ターゲット情報に基づいて前記仮定ターゲットを生成し、前記トークスクリプト抽出部で抽出された前記トークスクリプトを前記仮定ターゲットに適用した場合における前記ロールプレイングモデルを生成させるロールプレイングモデル生成部と
を有する、マーケティング活動支援装置である。
【0010】
本発明によれば、新規ターゲット情報を受け取り、過去の成功例から最適なトークスクリプトを抽出し、仮定ターゲット及びロールプレイングモデルの作成に特化された大規模言語モデルを用いて、そのトークスクリプトを基に現実に即したロールプレイングモデルを生成することで、マーケティング活動を十分に支援することが可能になる。
【発明の効果】
(【0011】以降は省略されています)
この特許をJ-PlatPat(特許庁公式サイト)で参照する
関連特許
個人
フラワーコートA
1か月前
個人
地球保全システム
3日前
個人
工程設計支援装置
1か月前
個人
為替ポイント伊達夢貯
1か月前
個人
冷凍食品輸出支援構造
1か月前
個人
介護情報提供システム
2か月前
個人
携帯情報端末装置
1か月前
個人
表変換編集支援システム
23日前
個人
結婚相手紹介支援システム
1か月前
個人
知財出願支援AIシステム
1か月前
個人
AIによる情報の売買の仲介
1か月前
個人
行動時間管理システム
25日前
個人
パスワード管理支援システム
23日前
個人
食品レシピ生成システム
2日前
株式会社キーエンス
受発注システム
2日前
日本精機株式会社
施工管理システム
1か月前
個人
システム及びプログラム
16日前
株式会社キーエンス
受発注システム
2日前
株式会社キーエンス
受発注システム
2日前
株式会社アジラ
進入判定装置
1か月前
個人
パスポートレス入出国システム
1か月前
個人
海外支援型農作物活用システム
15日前
個人
AIキャラクター制御システム
23日前
個人
アンケート支援システム
2か月前
大同特殊鋼株式会社
疵判定方法
9日前
個人
冷凍加工連携型農場運用システム
1か月前
サクサ株式会社
中継装置
2か月前
サクサ株式会社
中継装置
23日前
大阪瓦斯株式会社
住宅設備機器
1か月前
個人
音声対話型帳票生成支援システム
23日前
個人
未来型家系図構築システム
15日前
個人
食事受注会計処理システム
1か月前
個人
人格進化型対話応答制御システム
23日前
個人
社会還元・施設向け供給支援構造
23日前
個人
SaaS型勤務調整支援システム
23日前
個人
ジェスチャーパッドのガイド部材
2か月前
続きを見る
他の特許を見る