TOP
|
特許
|
意匠
|
商標
特許ウォッチ
Twitter
他の特許を見る
公開番号
2025163878
公報種別
公開特許公報(A)
公開日
2025-10-30
出願番号
2024067478
出願日
2024-04-18
発明の名称
ワイヤソー装置の目視安全確認構造
出願人
オリエンタル白石株式会社
,
コンクリートコーリング株式会社
代理人
個人
,
個人
主分類
B28D
7/02 20060101AFI20251023BHJP(セメント,粘土,または石材の加工)
要約
【課題】カバーで汚染水の飛散や粉塵の拡散を遮蔽しつつワイヤソー装置が安全に回転駆動しているかを常時目視で確認できるワイヤソー装置の目視安全確認構造を提供する。
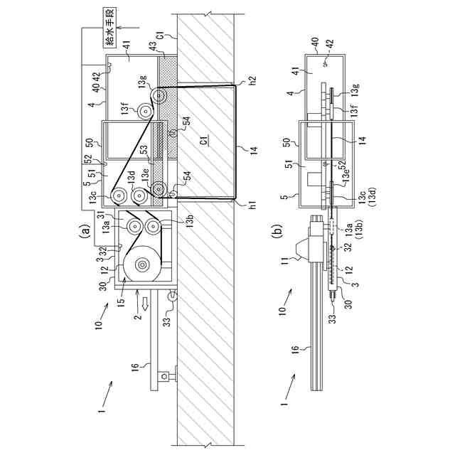
【解決手段】ワイヤソー装置の目視安全確認構造において、防護カバー2は、ワイヤソー装置10のワイヤソー14を回転駆動する駆動モーター11を有し、レール16上をスライド移動するワイヤソー本体15の廻りを覆う本体カバー3と、ワイヤソー本体15と最も離れた移動しない従動プーリーの廻りを覆う固定カバー4と、切断の進行に伴ってレール16上をスライド移動して固定カバー4から離れる本体カバー3との間を覆う追従カバー5,6を備え、本体カバー3、固定カバー4、及び追従カバー5をそれぞれ透明板で覆い、外部からワイヤソー装置10が回転駆動しているかを目視可能に構成する。
【選択図】図1
特許請求の範囲
【請求項1】
ワイヤソー装置と、前記ワイヤソー装置の廻りに設置された防護カバーを備え、防護カバーでワイヤソー装置の周囲を遮蔽しつつワイヤソー装置が安全に回転駆動しているかを目視で確認できるワイヤソー装置の目視安全確認構造であって、
前記防護カバーは、前記ワイヤソー装置のワイヤソーを回転駆動する駆動モーターを有し、レール上をスライド移動するワイヤソー本体の廻りを覆う本体カバーと、前記ワイヤソー本体と最も離れた移動しない従動プーリーの廻りを覆う固定カバーと、切断の進行に伴って前記レール上をスライド移動して前記固定カバーから離れる本体カバーとの間を覆う追従カバーを備え、
前記本体カバー、前記固定カバー、及び追従カバーは、それぞれ透明板で覆われ、外部から前記ワイヤソー装置が回転駆動しているかを目視可能に構成されていること
を特徴とするワイヤソー装置の目視安全確認構造。
続きを表示(約 410 文字)
【請求項2】
前記防護カバーの前記本体カバー、前記固定カバー、及び追従カバーには、それぞれスプリンクラーが設けられ、前記透明板の内部が曇らないように散水可能に構成されていること
を特徴とする請求項1に記載のワイヤソー装置の目視安全確認構造。
【請求項3】
前記追従カバーは、複数のキャスターを有し、前記キャスターで切断対象のコンクリート構造物上を転動可能に構成されていること
を特徴とする請求項1に記載のワイヤソー装置の目視安全確認構造。
【請求項4】
前記追従カバーは、複数あり、互いに連結可能に構成されていること
を特徴とする請求項3に記載のワイヤソー装置の目視安全確認構造。
【請求項5】
前記本体カバーは、運搬用のキャスターが取り付けられていること
を特徴とする請求項1又は2に記載のワイヤソー装置の目視安全確認構造。
発明の詳細な説明
【技術分野】
【0001】
本発明は、ワイヤソー装置の目視安全確認構造に関する。
続きを表示(約 1,900 文字)
【背景技術】
【0002】
従来、ワイヤソー装置(ワイヤソーイング機器)を用いてコンクリート構造物を切断撤去することが知られている。このようなワイヤソー装置による切断・撤去工事では、表面にダイヤモンドチップが固着されたワイヤロープのループを切断の進捗に従ってプーリー等を用いて徐々に縮めていく必要がある。また、ワイヤソー装置の駆動中にワイヤロープが絡まったり、ワイヤロープが対象コンクリート構造物以外のものに接触するとダイヤモンドチップが飛び散ったりするおそれがあるため、ワイヤソー装置の駆動中は、プーリー等が問題なく回転走行しているかを一定時間ごとに定期的に確認する必要がある。
【0003】
しかし、ワイヤソー装置の回転走行状態を目視で確認したい要望があるものの、前述のように、ダイヤモンドチップが飛び散ったりするおそれや、切断時に発生するコンクリートの粉塵が拡散するため、プーリー等の機器を何らかの手段で覆って安全の確保や粉塵の拡散防止を図りたい要望もある。そこで、現状のワイヤソー装置を用いたコンクリート構造物の切断工事では、ワイヤソー装置の廻りをメッシュシート等のシートで覆って万が一ダイヤモンドチップが飛び散った場合に対処しつつ、定期的にシートをめくってワイヤソー装置が安全に回転走行しているかを目視で確認することが行われている。
【0004】
例えば、特許文献1には、ワイヤソー装置の廻りをカバーで覆い、吸引装置や冷却装置を設けるとともに、カバーに目視可能な窓を設けたワイヤソー装置のカバーが開示されている(特許文献1の特許請求の範囲の請求項1,2、明細書の段落[0008]~[0055]、図面の図1~図3,図8等参照)。
【0005】
しかし、特許文献1のワイヤソー装置のカバーは、窓から覗ける範囲は、目視で確認できるが、切断工事の進捗により徐々に縮まっていく装置のプーリー等の重要な箇所を常に目視できる環境ではないという問題があった。また、特許文献1のワイヤソー装置は、ワイヤロープを冷却するために冷却水を供給して冷やすものであるが、冬季のように露点温度が低い時期には、カバーの窓が曇ってしまい見えなくなるという問題も発生する。
【0006】
一方、特許文献2には、内部を観察する観察窓が設けられたワイヤソーのガイドローラカバーにおいて、観察窓が加工液が付着して内部が見えなくなるという問題を洗浄液を噴射する噴射ノズルを設けて洗浄液で観察窓に付着した加工液を洗い流すことで解決するワイヤソーのガイドローラカバーが開示されている(特許文献2の特許請求の範囲の請求項1、明細書の段落[0009]~[0017]、図面の図2等参照)。
【0007】
また、特許文献3には、ワークを加工するための加工室と、該加工室を覆うカバーと、該カバーの少なくとも一部に設けられた透明部とを備えるワイヤソー装置において、加工室の内部を目視するための透明部に傷が付くのを防止するために洗浄ユニットを設けて透明部の内表面に砥粒や切粉が付着する前に、透明部の内表面を流れる洗浄液によって砥粒や切粉を洗い流すワイヤソー装置が開示されている(特許文献3の特許請求の範囲の請求項1、明細書の段落[0025]~[0036]、図面の図1,図3,図4等参照)。
【0008】
しかし、特許文献2に記載のワイヤソーのガイドローラカバーや特許文献3に記載のワイヤソー装置は、シリコン、ガラス、セラミックス等の脆性材料を切断する作業域内に作業員が立ち入ることがあり得ない工場内のワーク加工用のワイヤソーであり、コンクリート構造物を切断するワイヤソーと技術的分野が異なるとともに、前述の冬季のように露点温度が低い時期には、冷却水の水蒸気によりカバーの窓が曇ってしまい見えなくなるという前記課題が全く認識されていない。
【先行技術文献】
【特許文献】
【0009】
特許第7012043号公報
特開2000-167760号公報
特開2017-196689号公報
【発明の概要】
【発明が解決しようとする課題】
【0010】
そこで、本発明は、前述した問題に鑑みて案出されたものであり、その目的とするところは、カバーで汚染水の飛散や粉塵の拡散を遮蔽しつつワイヤソー装置が安全に回転駆動しているかを常時目視で確認できるワイヤソー装置の目視安全確認構造を提供することにある。
【課題を解決するための手段】
(【0011】以降は省略されています)
この特許をJ-PlatPat(特許庁公式サイト)で参照する
関連特許
峰岸株式会社
ドリルビット
10か月前
株式会社大林組
形成方法
11か月前
株式会社丸高工業
湿式穿孔工具
9か月前
株式会社大林組
積層材成型方法
3か月前
株式会社コンセック
ワイヤーソー装置
11か月前
株式会社大林組
形成方法及び形成装置
9か月前
株式会社シブヤ
穿孔装置
4か月前
株式会社大林組
構造体の製造方法
5か月前
倉敷紡績株式会社
セメント系造形物の製造方法
1か月前
株式会社大林組
構造体の製造方法
5か月前
倉敷紡績株式会社
セメント系造形物の製造方法
1か月前
個人
石膏板の製造方法
3か月前
太平洋マテリアル株式会社
軽量繊維層及びその形成方法
1か月前
セレンディクス株式会社
構造物の製造方法
2か月前
セレンディクス株式会社
建築物の製造方法
3か月前
モリ技巧株式会社
コンクリートスラリー処理装置
11か月前
株式会社マキタ
作業機
11か月前
株式会社奥村組
積層コンクリート集合体の養生方法
7か月前
芝浦メカトロニクス株式会社
基板分離装置
7か月前
戸田建設株式会社
打設現場におけるスランプの調整方法
6か月前
株式会社Polyuse
構造物の製造方法
10か月前
株式会社Polyuse
造形物の製造方法
10か月前
本多産業株式会社
コンクリート離型剤
4か月前
株式会社エンプラス
流体取扱装置
11か月前
カヤバ株式会社
ミキサドラム制御装置
11か月前
鹿島建設株式会社
フレッシュコンクリートの製造方法
7か月前
株式会社熊谷組
骨材管理システムおよび骨材管理方法
3か月前
鹿島建設株式会社
境界ブロックの製作方法および境界ブロック
5か月前
株式会社大林組
構造物形成方法及び構造物形成システム
6か月前
ノリタケ株式会社
ロールコンパクション成形装置
1か月前
ノリタケ株式会社
ロールコンパクション成形装置
1か月前
カヤバ株式会社
ミキサドラムの制御装置
8か月前
太平洋マテリアル株式会社
吹付用ノズル
1か月前
カヤバ株式会社
ミキサ車及び状態検出装置
1か月前
株式会社エコシステム
混合ユニット、及び、混練物製造プラント
2か月前
株式会社冨士機
生コンクリート製造プラント
11か月前
続きを見る
他の特許を見る