TOP
|
特許
|
意匠
|
商標
特許ウォッチ
Twitter
他の特許を見る
10個以上の画像は省略されています。
公開番号
2025163717
公報種別
公開特許公報(A)
公開日
2025-10-30
出願番号
2024067173
出願日
2024-04-18
発明の名称
配筋検査システム
出願人
東急建設株式会社
,
北野建設株式会社
,
佐藤工業株式会社
,
ピーエス・コンストラクション株式会社
,
株式会社システム計画研究所
代理人
弁護士法人クレオ国際法律特許事務所
主分類
G01B
11/02 20060101AFI20251023BHJP(測定;試験)
要約
【課題】 マーカが配置された対象面の配筋のみを過密配筋から抽出して、対象面の配筋についての各寸法等の計測精度を向上させる配筋検査システムを提供する。
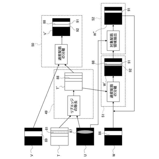
【解決手段】 エッジ画像生成部48によりエッジ検出画像Tが各正対変換画像について生成される。過密配筋分離部50によりエッジ検出画像Tが配筋領域抽出画像Vに重ねられることで、過密配筋分離画像V’が生成される。変位量推定マスク画像生成部44により変位量推定マスク画像U、視差マスク画像生成部46により視差マスク画像Wが生成される。視差マスク画像Wにエッジ検出画像Tが視差マスク配筋分離部51により重ねられて、視差マスク画像Wに含まれる配筋領域86が分離され、対象配筋領域抽出部52により視差マスク配筋分離画像W’に変位量推定マスク画像Uが重ねられて、対象配筋2の配筋領域91が抽出される。
【選択図】 図17
特許請求の範囲
【請求項1】
縦筋および横筋から構成される配筋の所定の層に配置されたマーカを単眼カメラにより異なる角度から撮影した複数の各元画像について、前記マーカを正面視した正対画像に変換して複数の正対変換画像を生成する正対変換画像生成部と、
前記正対変換画像から配筋領域を抽出した配筋領域抽出画像を各前記正対変換画像について生成する配筋領域抽出画像生成部と、
前記縦筋および前記横筋の各エッジを検出したエッジ検出画像を各前記正対変換画像について生成するエッジ画像生成部と、
各前記配筋領域抽出画像を前記マーカが一致するように重ね、各前記配筋領域抽出画像の重なる画像部分を残した視差マスク画像を生成する視差マスク画像生成部と、
複数の前記正対変換画像間で正対変換時における前記配筋の変位量の小さい層を前記所定の層と推定して、当該層の配筋領域を抽出した変位量推定マスク画像を生成する変位量推定マスク画像生成部と、
同一の前記正対変換画像から生成された前記エッジ検出画像と前記配筋領域抽出画像との各対について、対になる前記エッジ検出画像と前記配筋領域抽出画像とを重ねることで、前記所定の層における対象配筋の配筋領域と前記所定の層と異なる非対象層における非対象配筋の配筋領域との前記配筋領域抽出画像における境界を前記エッジ検出画像におけるエッジで分離した過密配筋分離画像を生成する過密配筋分離部と、
前記エッジ検出画像を前記視差マスク画像に重ねることで、前記視差マスク画像における前記境界を前記エッジで分離した視差マスク配筋分離画像を生成する視差マスク配筋分離部と、
前記変位量推定マスク画像を前記視差マスク配筋分離画像に重ねて、前記変位量推定マスク画像における前記所定の層の配筋領域に重ならない配筋領域を前記視差マスク配筋分離画像から除去した視差マスク配筋抽出画像を生成し、前記変位量推定マスク画像における前記所定の層の配筋領域に重なる前記視差マスク配筋分離画像の配筋領域を前記対象配筋の配筋領域として抽出する対象配筋領域抽出部と、
前記対象配筋領域抽出部によって抽出された前記対象配筋における鉄筋領域の中心線を鉄筋線として算出する鉄筋線算出部と、
前記鉄筋線間の距離から前記対象配筋の鉄筋間隔を算出する鉄筋間隔算出部と、
前記過密配筋分離画像に前記中心線を重ね、前記中心線が重なった前記過密配筋分離画像の鉄筋領域から前記対象配筋の鉄筋径を各前記過密配筋分離画像について算出し、算出した鉄筋径のうちで算出頻度の最も高い鉄筋径を前記対象配筋の鉄筋径とする鉄筋径算出部と
を備える配筋検査システム。
続きを表示(約 4,700 文字)
【請求項2】
前記エッジ検出画像に前記変位量推定マスク画像を重ねて、前記エッジ検出画像および前記変位量推定マスク画像における各配筋領域の重なった領域にある前記エッジを鉄筋のリブに相当するリブエッジとして各前記エッジ検出画像から除去するリブエッジ除去部を備え、
前記過密配筋分離部は、リブエッジが除去された各前記エッジ検出画像を対になる各前記配筋領域抽出画像に重ねることで、リブエッジが除去された各前記エッジ検出画像におけるエッジによって対になる各前記配筋領域抽出画像における前記境界を分離する
ことを特徴とする請求項1に記載の配筋検査システム。
【請求項3】
前記視差マスク配筋分離部は、前記視差マスク配筋分離画像の生成に用いていない残りの前記エッジ検出画像の枚数分について、残りの各前記エッジ検出画像を前記視差マスク配筋抽出画像に重ねることで、残りの各前記エッジ検出画像におけるエッジにより前記視差マスク配筋抽出画像に残る前記境界を残りの各前記エッジ検出画像毎に分離して前記視差マスク配筋分離画像を更新し、
前記対象配筋領域抽出部は、前記視差マスク配筋分離画像が更新される度に、前記変位量推定マスク画像を更新された前記視差マスク配筋分離画像に重ね、前記変位量推定マスク画像における前記所定の層の配筋領域に重ならない配筋領域を更新された前記視差マスク配筋分離画像から除去して前記視差マスク配筋抽出画像を更新し、最後に更新した前記視差マスク配筋抽出画像における配筋領域を前記対象配筋の配筋領域として抽出する
ことを特徴とする請求項1または請求項2に記載の配筋検査システム。
【請求項4】
前記対象配筋領域抽出部は、前記視差マスク配筋分離画像に含まれる配筋領域の連続領域と、前記変位量推定マスク画像に含まれる前記対象配筋の配筋領域とが重なる部分の面積の、前記連続領域の面積に対する比が所定の閾値以下である場合に、当該連続領域を前記非対象配筋のものとして前記視差マスク配筋分離画像に含まれる配筋領域から抽出しないことを特徴とする請求項1または請求項2に記載の配筋検査システム。
【請求項5】
前記視差マスク画像を、前記縦筋についての縦筋視差マスク画像と前記横筋についての横筋視差マスク画像とに分離する視差マスク画像分離部と、
前記変位量推定マスク画像を、前記縦筋についての縦筋変位量推定マスク画像と前記横筋についての横筋変位量推定マスク画像とに分離する変位量推定マスク画像分離部とを備え、
前記エッジ画像生成部は、前記縦筋のエッジを検出した縦方向エッジ検出画像、および、前記横筋のエッジを検出した横方向エッジ検出画像を前記エッジ検出画像として各前記正対変換画像について生成し、
前記過密配筋分離部は、同一の前記正対変換画像から生成された前記縦方向エッジ検出画像および前記横方向エッジ検出画像と前記配筋領域抽出画像との各対について、対になる前記縦方向エッジ検出画像および前記横方向エッジ検出画像を前記配筋領域抽出画像に重ねることで、前記対象配筋の縦筋領域と前記非対象配筋の縦筋領域との前記配筋領域抽出画像における縦筋境界を前記縦方向エッジ検出画像における前記エッジで分離し、前記対象配筋の横筋領域と前記非対象配筋の横筋領域との前記配筋領域抽出画像における横筋境界を前記横方向エッジ検出画像における前記エッジで分離した過密配筋分離画像を生成し、
前記視差マスク配筋分離部は、前記縦方向エッジ検出画像を前記縦筋視差マスク画像に重ねることで、前記縦筋視差マスク画像における前記縦筋境界を前記縦方向エッジ検出画像における前記エッジによって分離した視差マスク縦筋分離画像を生成し、前記横方向エッジ検出画像を前記横筋視差マスク画像に重ねることで、前記横筋視差マスク画像における前記横筋境界を前記横方向エッジ検出画像における前記エッジによって分離した視差マスク横筋分離画像を生成し、
前記対象配筋領域抽出部は、前記縦筋変位量推定マスク画像を前記視差マスク縦筋分離画像に重ねて、前記縦筋変位量推定マスク画像における前記所定の層の縦筋領域に重ならない縦筋領域を前記視差マスク縦筋分離画像から除去した視差マスク縦筋抽出画像を生成し、前記縦筋変位量推定マスク画像における前記所定の層の縦筋領域に重なる前記視差マスク縦筋分離画像の縦筋領域を前記対象配筋の縦筋領域として抽出し、前記横筋変位量推定マスク画像を前記視差マスク横筋分離画像に重ねて、前記横筋変位量推定マスク画像における前記所定の層の横筋領域に重ならない横筋領域を前記視差マスク横筋分離画像から除去した視差マスク横筋抽出画像を生成し、前記横筋変位量推定マスク画像における前記所定の層の横筋領域に重なる前記視差マスク横筋分離画像の横筋領域を前記対象配筋の横筋領域として抽出し、
前記鉄筋線算出部は、前記対象配筋領域抽出部によって抽出された前記対象配筋における縦筋領域の中心線を前記縦筋の鉄筋線として算出し、前記対象配筋領域抽出部によって抽出された前記対象配筋における横筋領域の中心線を前記横筋の鉄筋線として算出し、
前記鉄筋間隔算出部は、前記縦筋の鉄筋線間の距離から前記縦筋の縦筋間隔を算出し、前記横筋の鉄筋線間の距離から前記横筋の横筋間隔を算出し、
前記鉄筋径算出部は、前記過密配筋分離画像に前記縦筋領域の中心線を重ね、前記縦筋領域の中心線が重なった前記過密配筋分離画像の縦筋領域から前記対象配筋における前記縦筋の鉄筋径を各前記過密配筋分離画像について算出し、前記過密配筋分離画像に前記横筋領域の中心線を重ね、前記横筋領域の中心線が重なった前記過密配筋分離画像の横筋領域から前記対象配筋における前記横筋の鉄筋径を各前記過密配筋分離画像について算出し、算出した前記縦筋および前記横筋の各鉄筋径のうちで算出頻度の最も高い鉄筋径を前記対象配筋における前記縦筋および前記横筋の各鉄筋径とする
ことを特徴とする請求項1に記載の配筋検査システム。
【請求項6】
前記縦方向エッジ検出画像に前記縦筋変位量推定マスク画像を重ねて、前記縦方向エッジ検出画像および前記縦筋変位量推定マスク画像における各縦筋領域の重なった領域にある縦方向の前記エッジを前記縦筋のリブに相当するリブエッジとして各前記縦方向エッジ検出画像から除去し、前記横方向エッジ検出画像に前記横筋変位量推定マスク画像を重ねて、前記横方向エッジ検出画像および前記横筋変位量推定マスク画像における各横筋領域の重なった領域にある横方向の前記エッジを前記横筋のリブに相当するリブエッジとして各前記横方向エッジ検出画像から除去するリブエッジ除去部を備え、
前記過密配筋分離部は、リブエッジが除去された各前記縦方向エッジ検出画像を対になる各前記配筋領域抽出画像に重ねることで、リブエッジが除去された各前記縦方向エッジ検出画像における縦方向のエッジによって対になる各前記配筋領域抽出画像における前記縦筋境界を分離し、リブエッジが除去された各前記横方向エッジ検出画像を対になる各前記配筋領域抽出画像に重ねることで、リブエッジが除去された各前記横方向エッジ検出画像における横方向のエッジによって対になる各前記配筋領域抽出画像における前記横筋境界を分離する
ことを特徴とする請求項5に記載の配筋検査システム。
【請求項7】
前記視差マスク配筋分離部は、前記視差マスク縦筋分離画像の生成に用いていない残りの前記縦方向エッジ検出画像の枚数分について、残りの各前記縦方向エッジ検出画像を前記視差マスク縦筋抽出画像に重ねることで、残りの各前記縦方向エッジ検出画像におけるエッジにより前記視差マスク縦筋抽出画像に残る前記縦筋境界を残りの各前記縦方向エッジ検出画像毎に分離して前記視差マスク縦筋分離画像を更新し、前記視差マスク横筋分離画像の生成に用いていない残りの前記横方向エッジ検出画像の枚数分について、残りの各前記横方向エッジ検出画像を前記視差マスク横筋抽出画像に重ねることで、残りの各前記横方向エッジ検出画像におけるエッジにより前記視差マスク横筋抽出画像に残る前記横筋境界を残りの各前記横方向エッジ検出画像毎に分離して前記視差マスク横筋分離画像を更新し、
前記対象配筋領域抽出部は、前記視差マスク縦筋分離画像が更新される度に、前記縦筋変位量推定マスク画像を更新された前記視差マスク縦筋分離画像に重ね、前記縦筋変位量推定マスク画像における前記所定の層の縦筋領域に重ならない縦筋領域を更新された前記視差マスク縦筋分離画像から除去して前記視差マスク縦筋抽出画像を更新し、最後に更新した前記視差マスク縦筋抽出画像における縦筋領域を前記対象配筋の縦筋領域として抽出し、前記視差マスク横筋分離画像が更新される度に、前記横筋変位量推定マスク画像を更新された前記視差マスク横筋分離画像に重ね、前記横筋変位量推定マスク画像における前記所定の層の横筋領域に重ならない横筋領域を更新された前記視差マスク横筋分離画像から除去して前記視差マスク横筋抽出画像を更新し、最後に更新した前記視差マスク横筋抽出画像における横筋領域を前記対象配筋の横筋領域として抽出する
ことを特徴とする請求項5または請求項6に記載の配筋検査システム。
【請求項8】
前記対象配筋領域抽出部は、
前記視差マスク縦筋分離画像に含まれる縦筋領域の連続領域と、前記縦筋変位量推定マスク画像に含まれる前記対象配筋の縦筋領域とが重なる部分の面積の、前記縦筋領域の連続領域の面積に対する比が所定の閾値以下である場合に、当該縦筋領域の連続領域を前記非対象配筋のものとして前記視差マスク縦筋分離画像に含まれる配筋領域から抽出せず、
前記視差マスク横筋分離画像に含まれる横筋領域の連続領域と、前記横筋変位量推定マスク画像に含まれる前記対象配筋の横筋領域とが重なる部分の面積の、前記横筋領域の連続領域の面積に対する比が所定の閾値以下である場合に、当該横筋領域の連続領域を前記非対象配筋のものとして前記視差マスク横筋分離画像に含まれる配筋領域から抽出しない
ことを特徴とする請求項5または請求項6に記載の配筋検査システム。
【請求項9】
前記エッジ画像生成部は、鉄筋画像について、前記縦筋または前記横筋の配筋線に垂直な方向における各画素の明度の勾配のピークを算出し、算出したピークの中でプロミネンスの値が所定の閾値以上のピークをエッジ候補とし、さらに、このエッジ候補においてエッジ候補間の距離が所定の閾値よりも短いエッジ候補のうちでプロミネンスの値が低い方のエッジ候補を除去することで、配筋の鉄筋領域の輪郭を表す前記縦筋または前記横筋のエッジを検出する
ことを特徴とする請求項1または請求項2または請求項5または請求項6に記載の配筋検査システム。
【請求項10】
前記エッジ画像生成部は、前記縦筋または前記横筋の全てのエッジ候補に対して確率的ハフ変換を用いて直線検出を行うことを特徴とする請求項9に記載の配筋検査システム。
発明の詳細な説明
【技術分野】
【0001】
本発明は、配筋の施工状態を検査する配筋検査システムに関するものである。
続きを表示(約 2,400 文字)
【背景技術】
【0002】
従来、この種の配筋検査システムとしては、例えば、特許文献1に開示されたものがある。
【0003】
この配筋検査システムでは、対象の配筋層の上に配置されたマーカが、単眼カメラにより異なる角度から撮影される。そして、角度が付いた複数の撮影画像が、マーカ設置面に対して正対した画像へと、マーカを中心に正対変換される。正対変換された複数の画像からは配筋領域が抽出され、正対変換画像から抽出された複数の配筋領域画像がマーカを基準に重ね合わせられて、重畳画像が生成される。
【0004】
重畳画像はマーカ設置面以外は視差が生じるため、視差が生じた部分が削除されて、マーカが設置された対象の配筋層のみが残された画像(マスク画像)が生成される。生成されたマスク画像について、配筋領域の1本1本の鉄筋の中心線が求められ、その中心線の数から鉄筋の本数、中心線の間隔から鉄筋ピッチ、中心線に直交する配筋領域の幅から鉄筋径が求められる。
【先行技術文献】
【特許文献】
【0005】
特許第6801055号公報
【発明の概要】
【発明が解決しようとする課題】
【0006】
しかしながら、上記従来の特許文献1に開示された配筋検査システムでは、配筋が過密に配置されている場合、単眼カメラで撮影した画像から配筋領域を抽出し、マーカを中心に重ね合わせた重畳画像から視差が生じた部分を削除して、対象配筋を抽出しようと試みても、対象面の配筋のみを抽出することが困難なことがあった。
【0007】
すなわち、過密配筋を撮影した画像では、マーカが配置された前面とその背面の各配筋が撮影画像内に重なって映り込むケースが増える。したがって、重なって映っている前面と背面との境界が曖昧になる。このため、視差が生じて前面の層と把握される部分にも、対象面以外の面の配筋領域が、異なる角度から撮影した全ての画像に残る可能性が高く、対象面の配筋のみを抽出することが困難なことがあった。
【0008】
本発明は、マーカが配置された対象面の配筋のみを過密配筋から抽出して、対象面の配筋についての各寸法等の計測精度を向上させることを目的とする。
【課題を解決するための手段】
【0009】
このために本発明は、
縦筋および横筋から構成される配筋の所定の層に配置されたマーカを単眼カメラにより異なる角度から撮影した複数の各元画像について、マーカを正面視した正対画像に変換して複数の正対変換画像を生成する正対変換画像生成部と、
正対変換画像から配筋領域を抽出した配筋領域抽出画像を各正対変換画像について生成する配筋領域抽出画像生成部と、
縦筋および横筋の各エッジを検出したエッジ検出画像を各正対変換画像について生成するエッジ画像生成部と、
各配筋領域抽出画像をマーカが一致するように重ね、各配筋領域抽出画像の重なる画像部分を残した視差マスク画像を生成する視差マスク画像生成部と、
複数の正対変換画像間で正対変換時における配筋の変位量の小さい層を所定の層と推定して、当該層の配筋領域を抽出した変位量推定マスク画像を生成する変位量推定マスク画像生成部と、
同一の正対変換画像から生成されたエッジ検出画像と配筋領域抽出画像との各対について、対になるエッジ検出画像と配筋領域抽出画像とを重ねることで、所定の層における対象配筋の配筋領域と所定の層と異なる非対象層における非対象配筋の配筋領域との配筋領域抽出画像における境界をエッジ検出画像におけるエッジで分離した過密配筋分離画像を生成する過密配筋分離部と、
エッジ検出画像を視差マスク画像に重ねることで、視差マスク画像における前記境界をエッジで分離した視差マスク配筋分離画像を生成する視差マスク配筋分離部と、
変位量推定マスク画像を視差マスク配筋分離画像に重ねて、変位量推定マスク画像における所定の層の配筋領域に重ならない配筋領域を視差マスク配筋分離画像から除去した視差マスク配筋抽出画像を生成し、変位量推定マスク画像における所定の層の配筋領域に重なる視差マスク配筋分離画像の配筋領域を対象配筋の配筋領域として抽出する対象配筋領域抽出部と、
対象配筋領域抽出部によって抽出された対象配筋における鉄筋領域の中心線を鉄筋線として算出する鉄筋線算出部と、
鉄筋線間の距離から対象配筋の鉄筋間隔を算出する鉄筋間隔算出部と、
過密配筋分離画像に前記中心線を重ね、前記中心線が重なった過密配筋分離画像の鉄筋領域から対象配筋の鉄筋径を各過密配筋分離画像について算出し、算出した鉄筋径のうちで算出頻度の最も高い鉄筋径を対象配筋の鉄筋径とする鉄筋径算出部と
を備えて、配筋検査システムを構成した。
【0010】
本構成によれば、各正対変換画像について、配筋領域抽出画像生成部により、縦筋および横筋から構成される配筋領域を抽出した配筋領域抽出画像が生成され、エッジ画像生成部により、縦筋および横筋の各エッジを検出したエッジ検出画像が各正対変換画像から生成される。エッジ検出画像は、過密配筋分離部により、そのエッジ検出画像と対になる配筋領域抽出画像に重ねられて、エッジ検出画像と配筋領域抽出画像との各対について、過密配筋分離画像が生成される。この過密配筋分離画像では、配筋領域抽出画像における対象配筋の配筋領域と非対象配筋の配筋領域との境界がエッジ検出画像におけるエッジで分離されて、明確化される。
(【0011】以降は省略されています)
この特許をJ-PlatPat(特許庁公式サイト)で参照する
関連特許
東急建設株式会社
配筋検査システム
1か月前
東急建設株式会社
位置および力制御装置
2か月前
東急建設株式会社
位置推定システム及び位置推定方法
27日前
東急建設株式会社
タイル下の空隙補修方法及び充填材注入治具
25日前
東急建設株式会社
遮音壁ユニット、遮音壁構造及び遮音壁ユニットの施工方法
26日前
公益財団法人鉄道総合技術研究所
地盤改良体、地盤改良体の構築方法及び基礎構造
1か月前
東急建設株式会社
3次元モデルの製造システム、3次元モデルの製造プログラム及び3次元モデルの製造方法
1か月前
日本精機株式会社
検出装置
27日前
個人
採尿及び採便具
1か月前
個人
高精度同時多点測定装置
1か月前
個人
計量機能付き容器
22日前
日本精機株式会社
発光表示装置
5日前
株式会社カクマル
境界杭
12日前
株式会社ミツトヨ
測定器
1か月前
甲神電機株式会社
電流検出装置
27日前
株式会社トプコン
測量装置
4日前
アズビル株式会社
電磁流量計
1か月前
大成建設株式会社
風洞実験装置
22日前
大和製衡株式会社
組合せ計量装置
1か月前
個人
非接触による電磁パルスの測定方法
25日前
ローム株式会社
半導体装置
1か月前
日本特殊陶業株式会社
ガスセンサ
20日前
愛知時計電機株式会社
ガスメータ
1か月前
個人
計量具及び計量機能付き容器
22日前
日本信号株式会社
距離画像センサ
25日前
ローム株式会社
半導体装置
1か月前
日本特殊陶業株式会社
ガスセンサ
4日前
愛知電機株式会社
軸部材の外観検査装置
1か月前
個人
システム、装置及び実験方法
1か月前
大和製衡株式会社
組合せ計量装置
1か月前
双庸電子株式会社
誤配線検査装置
28日前
日本特殊陶業株式会社
センサ
6日前
株式会社不二越
X線測定装置
25日前
株式会社タイガーカワシマ
揚穀装置
4日前
日東精工株式会社
振動波形検査装置
28日前
キーコム株式会社
画像作成システム
12日前
続きを見る
他の特許を見る