TOP
|
特許
|
意匠
|
商標
特許ウォッチ
Twitter
他の特許を見る
10個以上の画像は省略されています。
公開番号
2025163589
公報種別
公開特許公報(A)
公開日
2025-10-29
出願番号
2024067011
出願日
2024-04-17
発明の名称
飛行装置、プロペラ異常検知システム及びプロペラ
出願人
株式会社デンソー
代理人
個人
,
個人
主分類
B64U
30/21 20230101AFI20251022BHJP(航空機;飛行;宇宙工学)
要約
【課題】プロペラに生じ得る不具合の検出をより適切に行い、信頼性を一層高めることを可能とする飛行装置を提供する。
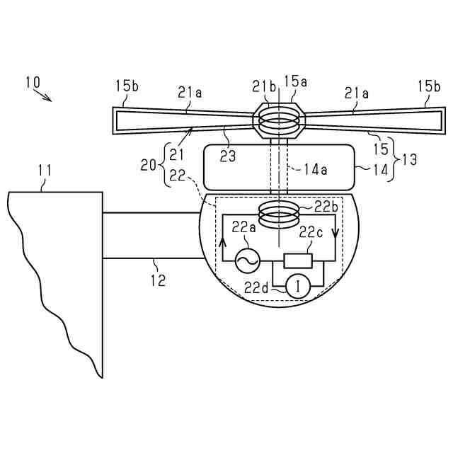
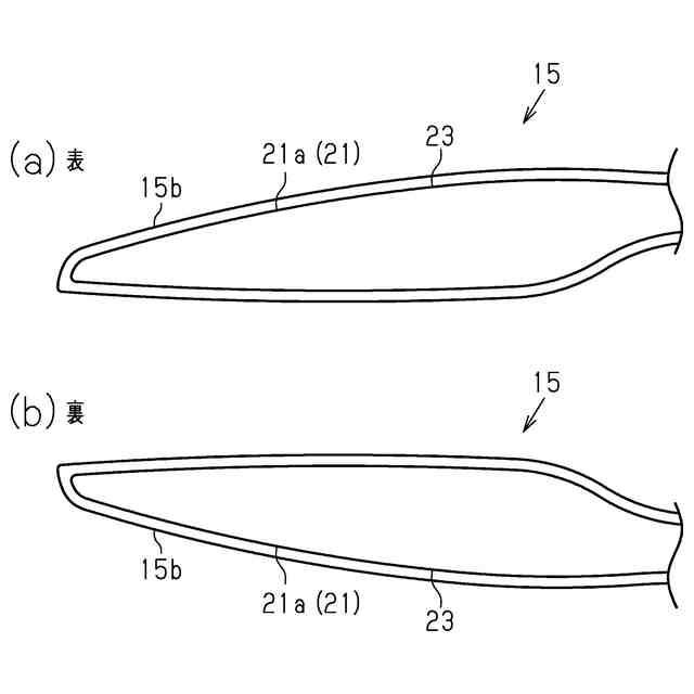
【解決手段】プロペラ15に備えられる検知部21は、羽根部15bの損傷に伴い羽根部15bに組み込まれた導体線23に変形又は断線が生じると、導体線23を含む回路の電気特性が変化する。羽根部15bに組み込まれた導体線23は、自身の羽根部15bに生じ得る損傷を直接的に検出する損傷センサ21aとして機能する。検知部21は導体線23の電気特性の変化を飛行装置10の本体部11に備えられる監視部22に伝達し、監視部22は検知部21から受けた導体線23の電気特性の変化に基づきプロペラ15の損傷具合を把握する。
【選択図】図1
特許請求の範囲
【請求項1】
駆動源(14)の駆動に基づきプロペラ(15)を回転させて飛行のための揚力を得る飛行装置(10)であって、
前記プロペラは、少なくとも自身の羽根部(15b)に導電性部材(23,24)を組み込んで前記羽根部の損傷に伴い前記導電性部材に変形又は断線が生じ得るようにして損傷センサ(21a)として機能させ、前記導電性部材を含む回路の電気特性の変化を前記プロペラの外部に伝達可能に構成された検知部(21)を備えるとともに、
前記飛行装置の本体部は、前記プロペラに組み込んだ前記導電性部材の電気特性の変化を前記検知部から受け、前記導電性部材の電気特性の変化に基づいて前記プロペラの損傷具合を把握する監視部(22)を備えて構成されている、飛行装置。
続きを表示(約 1,300 文字)
【請求項2】
前記飛行装置の本体部に備えられる監視部と前記プロペラに備えられる検知部とは、前記プロペラに組み込んだ前記導電性部材の電気特性の変化の伝達が互いに非接触で行われるように構成されている、請求項1に記載の飛行装置。
【請求項3】
前記飛行装置の本体部に備えられる監視部は1次コイル(22b)、前記プロペラに備えられる検知部は2次コイル(21b)をそれぞれ含み、前記1次コイルと前記2次コイルとの相互誘導にて、前記検知部から前記監視部に前記プロペラに組み込んだ前記導電性部材の電気特性の変化が非接触で伝達可能に構成されている、請求項2に記載の飛行装置。
【請求項4】
前記駆動源は駆動モータ(14)であり、前記プロペラを回転させる前記駆動モータの回転軸(14a)は磁性金属材により作製されているものであって、
前記回転軸は、前記1次コイルと前記2次コイルとの相互誘導の鉄心として機能するように構成されている、請求項3に記載の飛行装置。
【請求項5】
前記飛行装置の本体部に備えられる監視部と前記プロペラに備えられる検知部とは、前記プロペラに組み込んだ前記導電性部材の電気特性の変化の伝達がスリップリング(21z)を含む有線で行われるように構成されている、請求項1に記載の飛行装置。
【請求項6】
前記損傷センサとして機能させる前記導電性部材は、前記プロペラの羽根部における回転方向前側の縁部を含んで設けられている、請求項1に記載の飛行装置。
【請求項7】
前記飛行装置は無人マルチコプターである、請求項1に記載の飛行装置。
【請求項8】
駆動源(14)の駆動に基づきプロペラ(15)を回転させて飛行のための揚力を得る飛行装置(10)のプロペラ異常検知システム(20)であって、
前記プロペラに備えられて、少なくとも自身の羽根部(15b)に導電性部材(23,24)を組み込んで前記羽根部の損傷に伴い前記導電性部材に変形又は断線が生じ得るようにして損傷センサ(21a)として機能させ、前記導電性部材を含む回路の電気特性の変化を前記プロペラの外部に伝達可能に構成された検知部(21)と、
前記飛行装置の本体部に備えられて、前記プロペラに組み込んだ前記導電性部材の電気特性の変化を前記検知部から受け、前記導電性部材の電気特性の変化に基づいて前記プロペラの損傷具合を把握する監視部(22)と、を含んで構成されている、プロペラ異常検知システム。
【請求項9】
自身の回転により飛行装置(10)の飛行のための揚力を得るプロペラ(15)であって、
少なくとも自身の羽根部(15b)に導電性部材(23,24)を組み込んで前記羽根部の損傷に伴い前記導電性部材に変形又は断線が生じ得るようにして損傷センサ(21a)として機能させ、前記導電性部材を含む回路の電気特性の変化を前記プロペラの外部に伝達可能に構成された検知部(21)を備えて構成されている、プロペラ。
発明の詳細な説明
【技術分野】
【0001】
本開示は、飛行装置、プロペラ異常検知システム及びプロペラに関する。
続きを表示(約 1,800 文字)
【背景技術】
【0002】
垂直離着陸を可能とするプロペラを用いた飛行装置の一例として、近年様々な産業分野で利用されつつある無人マルチコプター、いわゆるドローンが知られている。ドローン等のプロペラを用いた飛行装置ではプロペラの高速回転により揚力を得るものであるが、高速回転するプロペラに異物が衝突してプロペラが損傷すると、飛行装置の信頼性に影響を及ぼす虞がある。
【0003】
そこで、プロペラに生じた不具合を検出する装置の検討が行われている。その一つに、回転中のプロペラに近赤外光を当て、プロペラからの反射光からプロペラの回転状態を検出する技術がある(例えば特許文献1参照)。
【先行技術文献】
【特許文献】
【0004】
特許第6446491号公報
【発明の概要】
【発明が解決しようとする課題】
【0005】
上記したプロペラを用いた飛行装置においては、飛行の安定性を常に高く保証して信頼性を一層高めることが要求されている。本発明者は、プロペラの特に羽根部に生じ得る損傷を直接的に検出して、信頼性に影響を与えるような不具合の検出をより適切に行うことを検討している。
【0006】
本開示の目的は、プロペラに生じ得る不具合の検出をより適切に行い、信頼性を一層高めることを可能とする飛行装置、飛行装置のプロペラ異常検知システム、及び飛行装置に用いるプロペラを提供することにある。
【課題を解決するための手段】
【0007】
本開示の一態様に係る飛行装置は、駆動源(14)の駆動に基づきプロペラ(15)を回転させて飛行のための揚力を得る飛行装置(10)であって、前記プロペラは、少なくとも自身の羽根部(15b)に導電性部材(23,24)を組み込んで前記羽根部の損傷に伴い前記導電性部材に変形又は断線が生じ得るようにして損傷センサ(21a)として機能させ、前記導電性部材を含む回路の電気特性の変化を前記プロペラの外部に伝達可能に構成された検知部(21)を備えるとともに、前記飛行装置の本体部は、前記プロペラに組み込んだ前記導電性部材の電気特性の変化を前記検知部から受け、前記導電性部材の電気特性の変化に基づいて前記プロペラの損傷具合を把握する監視部(22)を備えて構成されている。
【0008】
上記飛行装置によれば、プロペラに備えられる検知部は、羽根部の損傷に伴い羽根部に組み込まれた導電性部材に変形又は断線が生じると、導電性部材を含む回路の電気特性が変化する。すなわち、羽根部に組み込まれた導電性部材は、自身の羽根部に生じ得る損傷を直接的に検出する損傷センサとして機能する。検知部は導電性部材の電気特性の変化を飛行装置の本体部に備えられる監視部に伝達し、監視部は検知部から受けた導電性部材の電気特性の変化に基づきプロペラの損傷具合を把握する。このような構成としたことで、信頼性に影響を与えるようなプロペラの不具合の検出をより適切に行うことが可能となる。
【0009】
本開示の一態様に係るプロペラ異常検知システムは、駆動源(14)の駆動に基づきプロペラ(15)を回転させて飛行のための揚力を得る飛行装置(10)のプロペラ異常検知システム(20)であって、前記プロペラに備えられて、少なくとも自身の羽根部(15b)に導電性部材(23,24)を組み込んで前記羽根部の損傷に伴い前記導電性部材に変形又は断線が生じ得るようにして損傷センサ(21a)として機能させ、前記導電性部材を含む回路の電気特性の変化を前記プロペラの外部に伝達可能に構成された検知部(21)と、前記飛行装置の本体部に備えられて、前記プロペラに組み込んだ前記導電性部材の電気特性の変化を前記検知部から受け、前記導電性部材の電気特性の変化に基づいて前記プロペラの損傷具合を把握する監視部(22)と、を含んで構成されている。
【0010】
上記プロペラ異常検知システムによれば、羽根部に生じ得る損傷を直接的に検出して監視する態様のため、信頼性に影響を与えるようなプロペラの不具合の検出をより適切に行うことが可能となる。そのため、プロペラを用いる飛行装置に好適に実施することが可能である。
(【0011】以降は省略されています)
この特許をJ-PlatPat(特許庁公式サイト)で参照する
関連特許
株式会社デンソーウェーブ
筐体
29日前
株式会社デンソー
車載器
1か月前
株式会社デンソー
電動弁
8日前
株式会社デンソー
接合体
1か月前
株式会社デンソー
回転機
29日前
株式会社デンソー
制御装置
10日前
株式会社デンソー
電子装置
18日前
株式会社デンソー
電子装置
1か月前
株式会社デンソー
電子装置
1か月前
株式会社デンソーエレクトロニクス
発音装置
1か月前
株式会社デンソー
電子装置
8日前
株式会社デンソー
平滑回路
2か月前
株式会社デンソー
電解装置
9日前
株式会社デンソー
検出装置
28日前
株式会社デンソー
ステータ
1か月前
株式会社デンソー
ステータ
1か月前
株式会社デンソーエレクトロニクス
発音装置
2か月前
株式会社デンソー
熱交換器
7日前
株式会社デンソー
太陽電池
1か月前
株式会社デンソー
摺動機構
7日前
株式会社デンソー
電子装置
1か月前
株式会社デンソー
ステータ
1か月前
株式会社デンソー
反力装置
1か月前
株式会社デンソー
撮像装置
7日前
株式会社デンソー
撮像装置
7日前
株式会社デンソー
ねじ部材
1か月前
株式会社デンソー
ステータ
1か月前
株式会社デンソー
電気回路
2日前
株式会社デンソー
摺動機構
7日前
株式会社デンソー
半導体装置
17日前
株式会社デンソー
半導体装置
1か月前
株式会社デンソー
半導体装置
9日前
株式会社デンソー
電流センサ
29日前
株式会社デンソー
農業用装置
1か月前
株式会社デンソー
熱交換装置
22日前
株式会社デンソートリム
鞍乗り車両
16日前
続きを見る
他の特許を見る