TOP
|
特許
|
意匠
|
商標
特許ウォッチ
Twitter
他の特許を見る
公開番号
2025162536
公報種別
公開特許公報(A)
公開日
2025-10-27
出願番号
2025065187
出願日
2025-04-10
発明の名称
原子モデル生成方法、プログラム、材料設計支援方法及び材料設計方法
出願人
JFEスチール株式会社
代理人
個人
,
個人
,
個人
主分類
G16C
20/00 20190101AFI20251020BHJP(特定の用途分野に特に適合した情報通信技術)
要約
【課題】簡便にランダム粒界を有する原子モデルを生成可能な原子モデル生成方法、プログラム、材料設計支援方法及び材料設計方法が提供される。
【解決手段】原子モデル生成方法は、原子シミュレーションでランダム粒界を有する原子モデルを生成する原子モデル生成方法であって、単結晶原子モデルを有する初期原子モデルを2個準備する初期原子モデル準備工程と、2個の初期原子モデルを回転させた後に単結晶原子モデルを接合することで、接合界面を含む第1原子モデルを生成する第1原子モデル生成工程と、第1原子モデルを第1原子モデルの非結晶化温度以上、かつ、第1原子モデルの融点を超えない所定温度以下の温度である保持温度に保持することで、接合界面をランダム粒界に遷移させて、ランダム粒界を有する第2原子モデルとする第2原子モデル生成工程と、第2原子モデルを第1原子モデルの非結晶化温度未満の冷却温度まで冷却する冷却工程と、を含む。
【選択図】図2
特許請求の範囲
【請求項1】
原子シミュレーションでランダム粒界を有する原子モデルを生成する原子モデル生成方法であって、
単結晶原子モデルを有する初期原子モデルを2個準備する初期原子モデル準備工程と、
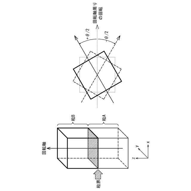
2個の前記初期原子モデルを回転させた後に前記単結晶原子モデルを接合することで、接合界面を含む第1原子モデルを生成する第1原子モデル生成工程と、
前記第1原子モデルを前記第1原子モデルの非結晶化温度以上、かつ、前記第1原子モデルの融点を超えない所定温度以下の温度である保持温度に保持することで、前記接合界面をランダム粒界に遷移させて、ランダム粒界を有する第2原子モデルとする第2原子モデル生成工程と、
前記第2原子モデルを前記第1原子モデルの非結晶化温度未満の冷却温度まで冷却する冷却工程と、を含む、原子モデル生成方法。
続きを表示(約 1,200 文字)
【請求項2】
前記初期原子モデルが含有する単結晶原子モデルの少なくとも1つに、置換型の元素及び侵入型の元素の少なくとも1種以上を配置する第1元素配置工程をさらに含む、請求項1に記載の原子モデル生成方法。
【請求項3】
前記初期原子モデルが含有する単結晶原子モデルの少なくとも1つに、1種以上の格子欠陥を配置する第1格子欠陥配置工程をさらに含む、請求項1又は2に記載の原子モデル生成方法。
【請求項4】
前記初期原子モデル、前記第1原子モデル及び前記第2原子モデルの少なくとも1つに対して変形を行う変形工程をさらに含む、請求項1又は2に記載の原子モデル生成方法。
【請求項5】
前記第2原子モデル生成工程の後であって、前記冷却工程の前又は前記冷却工程の後に、前記第2原子モデルに、置換型の元素及び侵入型の元素の少なくとも1種以上を配置する第2元素配置工程をさらに含む、請求項1又は2に記載の原子モデル生成方法。
【請求項6】
前記第2原子モデル生成工程の後であって、前記冷却工程の前又は前記冷却工程の後に、前記第2原子モデルに、1種以上の格子欠陥を配置する第2格子欠陥配置工程をさらに含む、請求項1又は2に記載の原子モデル生成方法。
【請求項7】
原子シミュレーションでランダム粒界を有する原子モデルを生成するために、前記原子シミュレーションを実行するコンピュータに、
単結晶原子モデルを有する初期原子モデルを2個準備する初期原子モデル準備工程と、
2個の前記初期原子モデルを回転させた後に前記単結晶原子モデルを接合することで、接合界面を含む第1原子モデルを生成する第1原子モデル生成工程と、
前記第1原子モデルを前記第1原子モデルの非結晶化温度以上、かつ、前記第1原子モデルの融点を超えない所定温度以下の温度である保持温度に保持することで、前記接合界面をランダム粒界に遷移させて、ランダム粒界を有する第2原子モデルとする第2原子モデル生成工程と、
前記第2原子モデルを前記第1原子モデルの非結晶化温度未満の冷却温度まで冷却する冷却工程と、を実行させる、プログラム。
【請求項8】
請求項1又は2に記載の原子モデル生成方法によって生成された原子モデルの粒界エネルギーを算出する工程と、
前記粒界エネルギーと材料の特性との関係性の評価を行う工程と、
前記評価に基づいて前記材料の設計指針を出力する工程と、を含む、材料設計支援方法。
【請求項9】
請求項8に記載の材料設計支援方法によって出力された前記材料の設計指針に従って、前記材料を設計する、材料設計方法。
【請求項10】
前記原子シミュレーションにおいて機械学習を活用した力場を利用し、前記力場は非結晶化温度のデータを組み込んだ学習データを用いて生成される、請求項1又は2に記載の原子モデル生成方法。
発明の詳細な説明
【技術分野】
【0001】
本開示は、原子モデル生成方法、プログラム、材料設計支援方法及び材料設計方法に関する。
続きを表示(約 1,600 文字)
【背景技術】
【0002】
実材料の開発にあたって、実材料のメカニズム解明が重要となる。実材料では、代表的な対応粒界である双晶粒界を意図的に含むような材料設計又は変形双晶を誘起しやすい材料設計は行われていない。そのため、実材料において、対応粒界が観察されることは稀である。すなわち、実材料の粒界の大多数は、一般的には、対応粒界に該当しないランダム粒界といえる。また、双晶及び変形双晶を含む実材料であったとしても、対応粒界に該当しないランダム粒界が不可避的に含まれる。
【0003】
そのため、実材料の開発にあたっては、ランダム粒界の特性理解が重要となる。しかし、実材料に対して最先端の物理解析手法を適用したとしても、粒界構造、すなわち、粒界を成す原子座標を厳密に解析することは非常に困難である。
【0004】
一方で、計算材料科学分野では、近年、ハードウェア及びソフトウェアの発展が著しく、原子シミュレーションを実施するための環境整備が進んでいる。そのため、原子シミュレーションを活用することにより、粒界の特性を理解する試みがなされている。
【0005】
具体的には、高エネルギーの対応粒界を対象として、実材料の粒界偏析又は粒界強度の解析が行われている。高エネルギーの対応粒界が、高エネルギーのランダム粒界とエネルギーが近く、粒界偏析又は粒界強度に対して似たような傾向を示す可能性が高いためである。また、対応粒界モデルを用いれば、材料の粒界の特性を整理しやすく、かつ、対称性が高くモデルサイズを小さくできる結果、計算負荷を減らすこともできるためでもある。例えば特許文献1は、対応粒界モデルの生成方法を開示する。
【先行技術文献】
【特許文献】
【0006】
特開2005-11328号公報
【発明の概要】
【発明が解決しようとする課題】
【0007】
ここで、高エネルギーのランダム粒界は、高エネルギーの対応粒界より1~2割ほどエネルギーが高く、エネルギー値に違いがある。上記のように、実材料の粒界を解析する上では、ランダム粒界の解析が重要になると考えられる。しかし、ランダム粒界の解析は、計算負荷及び統計的に保証されたデータを導出する負荷が大きい。そのため、従来、ランダム粒界のモデル化と解析は、ほぼ行われていなかった。
【0008】
かかる事情に鑑みてなされた本開示の目的は、簡便にランダム粒界を有する原子モデルを生成可能な原子モデル生成方法、プログラム、材料設計支援方法及び材料設計方法を提供することにある。
【課題を解決するための手段】
【0009】
(1)本開示の一実施形態に係る原子モデル生成方法は、
原子シミュレーションでランダム粒界を有する原子モデルを生成する原子モデル生成方法であって、
単結晶原子モデルを有する初期原子モデルを2個準備する初期原子モデル準備工程と、
2個の前記初期原子モデルを回転させた後に前記単結晶原子モデルを接合することで、接合界面を含む第1原子モデルを生成する第1原子モデル生成工程と、
前記第1原子モデルを前記第1原子モデルの非結晶化温度以上、かつ、前記第1原子モデルの融点を超えない所定温度以下の温度である保持温度に保持することで、前記接合界面をランダム粒界に遷移させて、ランダム粒界を有する第2原子モデルとする第2原子モデル生成工程と、
前記第2原子モデルを前記第1原子モデルの非結晶化温度未満の冷却温度まで冷却する冷却工程と、を含む。
【0010】
(2)本開示の一実施形態として、(1)において、
前記初期原子モデルが含有する単結晶原子モデルの少なくとも1つに、置換型の元素及び侵入型の元素の少なくとも1種以上を配置する第1元素配置工程をさらに含む。
(【0011】以降は省略されています)
この特許をJ-PlatPat(特許庁公式サイト)で参照する
関連特許
個人
医療のAI化
1か月前
個人
支援システム
5か月前
個人
管理装置
4か月前
個人
対話システム
4か月前
個人
通知ぬいぐるみAIシステム
1か月前
キラル株式会社
ヘルスケアシステム
7日前
キラル株式会社
ヘルスケアシステム
7日前
個人
情報システムおよび方法
6か月前
株式会社タカゾノ
薬剤秤量装置
4か月前
株式会社タカゾノ
薬剤秤量装置
3か月前
株式会社タカゾノ
薬剤秤量装置
3か月前
株式会社タカゾノ
薬剤秤量装置
3か月前
株式会社タカゾノ
薬剤秤量装置
3か月前
株式会社タカゾノ
薬剤秤量装置
3か月前
株式会社リコー
投薬管理システム
1か月前
TOTO株式会社
健康管理システム
20日前
株式会社M-INT
情報処理システム
6か月前
個人
診療の管理装置及び診療システム
3か月前
ゾーン株式会社
コンピュータシステム
6か月前
株式会社CureApp
プログラム
3か月前
株式会社サンクスネット
情報提供システム
5か月前
大王製紙株式会社
作業管理システム
6か月前
株式会社ミラボ
情報処理装置、及びプログラム
3か月前
株式会社 137
健康観察管理システム
5か月前
株式会社イシダ
受付端末装置
今日
合同会社フォース
オンライン診療システム
6か月前
歯っぴー株式会社
口内状態の画像診断方法
2か月前
大和ハウス工業株式会社
服薬推定システム
20日前
西川株式会社
サービス出力システム
5か月前
株式会社タカゾノ
薬剤秤量装置及び調剤システム
4か月前
株式会社エフアンドエフ
在宅健康チェックシステム
5か月前
株式会社SECRET MEDICINE
管理装置
1か月前
株式会社サンクスネット
健康医療情報管理システム
2か月前
キラル株式会社
プログラムの提供システムおよびその方法
23日前
HITOTSU株式会社
手術管理システム1
6か月前
二九精密機械工業株式会社
健康管理要素評価支援システム
4か月前
続きを見る
他の特許を見る