TOP
|
特許
|
意匠
|
商標
特許ウォッチ
Twitter
他の特許を見る
10個以上の画像は省略されています。
公開番号
2025162273
公報種別
公開特許公報(A)
公開日
2025-10-27
出願番号
2024065457
出願日
2024-04-15
発明の名称
デバイス管理システム、デバイス管理装置、及びプログラム
出願人
東芝テック株式会社
代理人
弁理士法人酒井国際特許事務所
主分類
G06F
11/30 20060101AFI20251020BHJP(計算;計数)
要約
【課題】遠隔地から複数のデバイスを管理可能なデバイス管理システム、デバイス管理装置、及びプログラムを提供すること。
【解決手段】デバイス管理システムは、複数のデバイスと、中継装置と、情報処理端末と、を含む。中継装置は、複数のデバイスと通信可能に接続する。情報処理端末は、中継装置と通信可能に接続し、複数のデバイスとは直接的に接続しない。また、中継装置は、複数のデバイスから複数のデバイスの状態を表すステータス情報を取得する。情報処理端末は、中継装置から複数のデバイスのステータス情報を取得し、取得したステータス情報を表示部に表示させる。
【選択図】図1
特許請求の範囲
【請求項1】
複数のデバイスと、
前記複数のデバイスと通信可能に接続する中継装置と、
前記中継装置と通信可能に接続し、前記複数のデバイスとは直接的に接続しない情報処理端末と、を含み、
前記中継装置は、前記複数のデバイスから前記複数のデバイスの状態を表すステータス情報を取得し、
前記情報処理端末は、前記中継装置から前記複数のデバイスの前記ステータス情報を取得し、取得した前記ステータス情報を表示部に表示させる、
デバイス管理システム。
続きを表示(約 1,100 文字)
【請求項2】
前記情報処理端末は、ユーザの操作に基づいて、前記複数のデバイスのうちのいずれかの処理の開始、処理の停止、または処理のリセットと再起動、の少なくともいずれかを指示する命令を前記中継装置に送信し、
前記中継装置は、前記情報処理端末から送信された前記命令に従って該当のデバイスの処理の開始、処理の停止、または処理のリセットと再起動、のいずれかを実行する、
請求項1に記載のデバイス管理システム。
【請求項3】
前記複数のデバイスは前記中継装置を介してPOS(Point of Sales)端末と接続し、
前記情報処理端末は、前記POS端末に接続するデバイスの新規追加、または削除を指示する命令を前記中継装置に送信し、
前記中継装置は当該命令に従って前記中継装置を介して前記POS端末に接続するデバイスの新規追加、または削除を実行する、
請求項1に記載のデバイス管理システム。
【請求項4】
前記中継装置は、前記複数のデバイスの各々から、前記複数のデバイスの設定が記載された設定ファイルを取得し、
前記情報処理端末は、ユーザの操作に基づいて前記設定ファイルを変更し、前記設定ファイルの変更内容を示す変更情報を前記中継装置へ送信し、
前記中継装置は、前記情報処理端末から送信された前記変更情報に基づいて、前記複数のデバイスのうち変更された前記設定ファイルに対応するデバイスに記憶された前記設定ファイルを変更する、
請求項1に記載のデバイス管理システム。
【請求項5】
複数のデバイスと通信可能に接続する中継装置を介して、前記複数のデバイスの状態を表すステータス情報を取得する取得手段と、
取得された前記複数のデバイスの前記ステータス情報を表示部に表示させる表示制御手段と、
前記複数のデバイスのいずれかに対するユーザの操作を受け付ける受付手段と、
前記操作に基づいて、前記操作の対象のデバイスに対する命令を前記中継装置に送信する送信手段と、
を備えるデバイス管理装置。
【請求項6】
複数のデバイスと通信可能に接続する中継装置を介して、前記複数のデバイスの状態を表すステータス情報を取得する取得ステップと、
取得された前記複数のデバイスの前記ステータス情報を表示部に表示させる表示制御ステップと、
前記複数のデバイスのいずれかに対するユーザの操作を受け付ける受付ステップと、
前記操作に基づいて、前記操作の対象のデバイスに対する命令を前記中継装置に送信する送信ステップと、
をコンピュータに実行させるためのプログラム。
発明の詳細な説明
【技術分野】
【0001】
本発明の実施形態は、デバイス管理システム、デバイス管理装置、及びプログラムに関する。
続きを表示(約 1,800 文字)
【背景技術】
【0002】
従来、店舗等で用いられるPOS(Point Of Sales)端末の周辺機器として、スキャナやプリンタ等の様々なデバイスが用いられる場合がある。このような各種の周辺機器に例えばエラーが発生した場合などに、店舗の店員等がサポートセンターに問い合わせる、あるいはサービスマン(修理員、保守要員等)が店舗に訪問する等の対応がとられていた。
【0003】
しかしながら、店員等がサポートセンターに問い合わせる場合にはエラー等の問題点を正確に伝えることが難しい場合があった。また、サービスマンが現地で対応する場合は、店舗を訪問して作業をするための手間やコストが発生していた。このため、遠隔地から各種の周辺機器を管理するニーズがあった。
【発明の概要】
【発明が解決しようとする課題】
【0004】
本発明が解決しようとする課題は、遠隔地から複数のデバイスを管理可能なデバイス管理システム、デバイス管理装置、及びプログラムを提供することである。
【課題を解決するための手段】
【0005】
実施形態のデバイス管理システムは、複数のデバイスと、中継装置と、情報処理端末と、を含む。中継装置は、複数のデバイスと通信可能に接続する。情報処理端末は、中継装置と通信可能に接続し、複数のデバイスとは直接的に接続しない。また、中継装置は、複数のデバイスから複数のデバイスの状態を表すステータス情報を取得する。情報処理端末は、中継装置から複数のデバイスのステータス情報を取得し、取得したステータス情報を表示部に表示させる。
【図面の簡単な説明】
【0006】
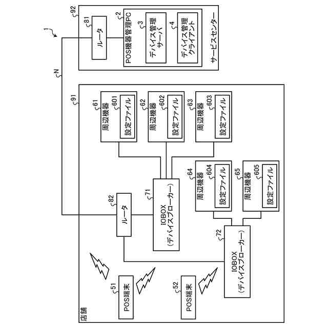
図1は、本実施形態に係るデバイス管理システムの概略構成の一例を示す図である。
図2は、実施形態に係るIOBOXのハードウェア構成の一例を示す図である。
図3は、実施形態に係るIOBOXの制御部によって実現されるデバイスブローカーの機能の一例を示す機能ブロック図である。
図4は、実施形態に係るPOS機器管理PCのハードウェア構成の一例を示す図である。
図5は、実施形態に係るPOS機器管理PCの制御部によって実現されるデバイス管理サーバの機能の一例を示す機能ブロック図である。
図6は、実施形態に係るPOS機器管理PCの制御部によって実現されるデバイス管理サーバの機能の一例を示す機能ブロック図である。
図7は、実施形態に係る表示部に表示される管理画面の一例を示す図である。
図8は、実施形態に係る周辺機器の設定ファイル及びステータス情報の取得処理の流れの一例を示すシーケンス図である。
図9は、本実施形態に係る周辺機器の処理のRestartの流れの一例を示すシーケンス図である。
図10は、本実施形態に係る周辺機器の処理の設定ファイルの編集処理の流れの一例を示すシーケンス図である。
【発明を実施するための形態】
【0007】
以下、添付図面を参照して、デバイス管理システム、デバイス管理装置、及びプログラムの実施形態を説明する。なお、以下に説明する実施形態は、デバイス管理システム、デバイス管理装置、及びプログラムの一実施形態であって、その構成や仕様等を限定するものではない。
【0008】
図1は、本実施形態に係るデバイス管理システム1の概略構成の一例を示す図である。デバイス管理システム1は、例えば、店舗91に設置される各種機器とサービスセンター92に設置される各種機器とを含む。なお、図1に示す各種機器の数及び組み合わせは一例であり、各種機器の数及び組み合わせ当該例に限定されるものではない。
【0009】
サービスセンター92は、店舗91の遠隔地に設けることができる。また、図1では1つの店舗91のみを記載しているが、1つのサービスセンター92が複数の店舗91に設置される各種機器を管理してもよい。
【0010】
サービスセンター92には、例えば、店舗91に設置された各種機器を遠隔管理するPOS(Point Of Sales)機器管理PC(Personal Computer)2及びルータ81が設けられる。
(【0011】以降は省略されています)
この特許をJ-PlatPat(特許庁公式サイト)で参照する
関連特許
東芝テック株式会社
プリンタ装置
5日前
東芝テック株式会社
取引処理システム
5日前
東芝テック株式会社
情報処理装置及び方法
13日前
東芝テック株式会社
サーバ及び画像形成装置
今日
東芝テック株式会社
取引処理装置及びプログラム
5日前
東芝テック株式会社
情報処理装置及びプログラム
5日前
東芝テック株式会社
画像形成装置およびプログラム
5日前
東芝テック株式会社
会計装置及び情報処理プログラム
5日前
東芝テック株式会社
無線タグ通信装置、およびプログラム
5日前
東芝テック株式会社
商品販売データ処理装置及びプログラム
5日前
東芝テック株式会社
情報処理装置、案内システム及びプログラム
5日前
東芝テック株式会社
コンピュータビジョンを使用するセルフチェックアウトにおける顧客支援
今日
東芝テック株式会社
情報通信端末及び情報処理プログラム
13日前
個人
詐欺保険
1か月前
個人
縁伊達ポイン
1か月前
個人
職業自動販売機
19日前
個人
5掛けポイント
26日前
個人
RFタグシート
1か月前
個人
QRコードの彩色
1か月前
個人
地球保全システム
2か月前
個人
ペルソナ認証方式
1か月前
個人
情報処理装置
29日前
個人
自動調理装置
1か月前
個人
残土処理システム
1か月前
個人
表変換編集支援システム
2か月前
個人
農作物用途分配システム
1か月前
個人
タッチパネル操作指代替具
1か月前
個人
インターネットの利用構造
1か月前
個人
知的財産出願支援システム
1か月前
個人
サービス情報提供システム
21日前
個人
スケジュール調整プログラム
1か月前
個人
携帯端末障害問合せシステム
1か月前
個人
パスワード管理支援システム
2か月前
個人
学習用データ生成装置
今日
株式会社キーエンス
受発注システム
2か月前
株式会社キーエンス
受発注システム
2か月前
続きを見る
他の特許を見る