TOP
|
特許
|
意匠
|
商標
特許ウォッチ
Twitter
他の特許を見る
10個以上の画像は省略されています。
公開番号
2025161914
公報種別
公開特許公報(A)
公開日
2025-10-24
出願番号
2025138349,2021122937
出願日
2025-08-21,2021-07-28
発明の名称
リザーブタンク、冷却装置、およびプロジェクタ
出願人
パナソニックホールディングス株式会社
代理人
個人
,
個人
主分類
B01D
19/00 20060101AFI20251017BHJP(物理的または化学的方法または装置一般)
要約
【課題】気液分離性能を向上させたリザーブタンク、およびそれを備える冷却装置およびプロジェクタを提供する。
【解決手段】本開示リザーブタンクは、内部に冷媒を貯留するタンク本体16と、タンク本体16の内部に冷媒を流入させる流入路13と、タンク本体16の内部から冷媒を流出させる流出路14と、タンク本体16の内部において流入路13の出口13aに対向して配置され、流入路13から流れ出た冷媒が衝突する第1面101aを有する衝突部材101と、タンク本体16の内部において流出路14の入口14aに対向して配置され、流出路14への気泡の混入を防止する気泡混入防止部材100と、を備える。
【選択図】図4
特許請求の範囲
【請求項1】
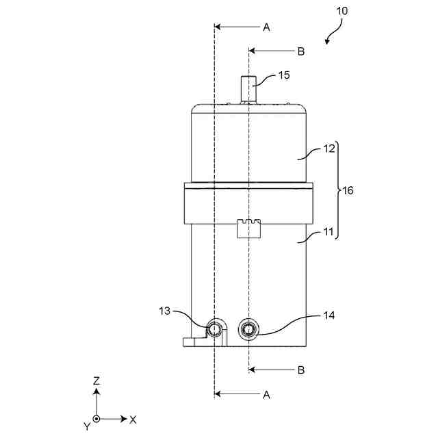
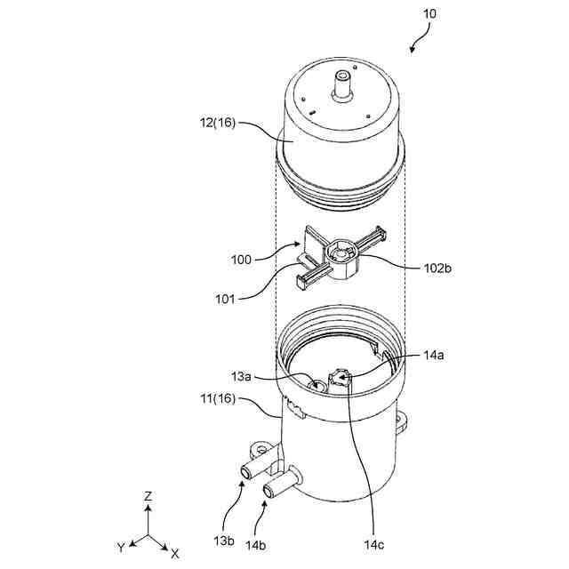
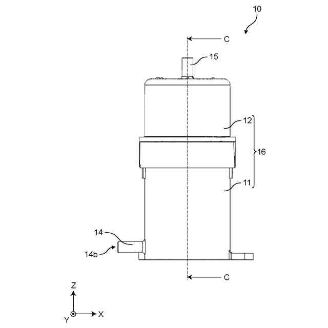
内部に冷媒を貯留するタンク本体と、
前記タンク本体の内部に前記冷媒を流入させる流入路と、
前記タンク本体の内部から前記冷媒を流出させる流出路と、
前記タンク本体の内部において前記流入路の出口に対向し、前記流入路の出口から流れ出た前記冷媒が衝突する第1面を有する衝突部材と、
前記タンク本体の内部において前記流出路の入口に対向し、前記流出路への気泡の混入を防止する気泡混入防止部材と、
を備える、
リザーブタンク。
続きを表示(約 1,000 文字)
【請求項2】
前記流出路の前記入口は、前記タンク本体の内部において、前記タンク本体の内壁から離れた位置に設けられる、
請求項1に記載のリザーブタンク。
【請求項3】
前記流入路は、前記タンク本体の外部から前記冷媒が流入する第1流入路と、前記第1流入路から前記流入路の出口に繋がる第2流入路と、を含み、
前記第2流入路の断面積は、前記第1流入路の断面積よりも大きい、
請求項1または2に記載のリザーブタンク。
【請求項4】
前記流入路は、前記冷媒が前記第1流入路を流れる方向が、前記冷媒が前記第2流入路を流れる方向と直交するように、構成されている、
請求項3に記載のリザーブタンク。
【請求項5】
前記流入路の前記出口と前記流出路の前記入口とは、第1向きに向かって配置され、
前記流入路の前記出口は、前記第1向きにおいて、前記流出路の前記入口の位置とは異なる位置に設けられ、
前記衝突部材は、前記第1向きにおいて、前記流入路の前記出口と前記流出路の前記入口との間に配置される、
請求項1ないし4のいずれか1項に記載のリザーブタンク。
【請求項6】
前記衝突部材は、前記第1面と反対側の第2面を有し、
前記衝突部材は、前記冷媒を前記第1面から前記第2面に向かって移動させる1つまたは複数の貫通孔を有している、
請求項1ないし5のいずれか1項に記載のリザーブタンク。
【請求項7】
前記タンク本体は、前記タンク本体の内部に、前記流入路の前記出口が配置される第1領域と、前記流出路の前記入口が配置される第2領域と、を有し、
前記第1領域と前記第2領域とは、前記衝突部材により仕切られ、
前記1つまたは複数の貫通孔により、前記第1領域と前記第2領域とが連通する、
請求項6に記載のリザーブタンク。
【請求項8】
前記1つまたは複数の貫通孔の開口面積の和は、前記流入路の前記出口の開口面積よりも大きい、
請求項7に記載のリザーブタンク。
【請求項9】
前記衝突部材と前記気泡混入防止部材とは、一体的に形成されている、
請求項1ないし8のいずれか1項に記載のリザーブタンク。
【請求項10】
前記衝突部材の前記第1面は、平面状に形成されている、
請求項1ないし9のいずれか1項に記載のリザーブタンク。
(【請求項11】以降は省略されています)
発明の詳細な説明
【技術分野】
【0001】
本開示は、リザーブタンク、冷却装置、およびプロジェクタに関する。
続きを表示(約 930 文字)
【背景技術】
【0002】
冷媒を循環することにより発熱体を冷却する冷却装置において、冷媒に混入した空気をトラップするためのリザーブタンクが知られている。
【0003】
特許文献1に記載の液冷タンクは、冷媒に混入した空気を分離してトラップすることにより、冷媒を循環するための動力源であるポンプに空気が混入するのを防止する。
【先行技術文献】
【特許文献】
【0004】
特開2004-84958号公報
【発明の概要】
【発明が解決しようとする課題】
【0005】
特許文献1に記載の液冷タンクには、冷媒の循環量を増大させると空気が再混入してしまうという課題がある。
【0006】
本開示は、気液分離性能を向上させたリザーブタンク、およびそれを備える冷却装置およびプロジェクタを提供する。
【課題を解決するための手段】
【0007】
本開示の一態様にかかるリザーブタンクは、内部に冷媒を貯留するタンク本体と、タンク本体の内部に冷媒を流入させる流入路と、タンク本体の内部から冷媒を流出させる流出路と、タンク本体の内部において流入路の出口に対向し、流入路の出口から流れ出た冷媒が衝突する第1面を有する衝突部材と、タンク本体の内部において流出路の入口に対向し、流出路への気泡の混入を防止する気泡混入防止部材と、を備える。
【0008】
本開示の一態様にかかる冷却装置は、上述のリザーブタンクと、冷媒を循環させるポンプと、発熱体からの熱を回収する受熱部と、冷媒を冷却する熱交換器と、を備える。冷却装置は、リザーブタンクに貯留された前記冷媒を循環させて前記発熱体を冷却する。
【0009】
本開示の一態様にかかるプロジェクタは、上述の冷却装置を備える。
【発明の効果】
【0010】
本開示によると、気液分離性能を向上させたリザーブタンク、およびそれを備える冷却装置およびプロジェクタを提供することができる。
【図面の簡単な説明】
(【0011】以降は省略されています)
この特許をJ-PlatPat(特許庁公式サイト)で参照する
関連特許
株式会社西部技研
除湿装置
21日前
株式会社日本触媒
ドロー溶質
15日前
ユニチカ株式会社
複合中空糸膜
1か月前
東レ株式会社
中空糸膜モジュール
1か月前
サンノプコ株式会社
消泡剤
13日前
日本バイリーン株式会社
フィルタ
今日
東レ株式会社
遠心ポッティング方法
7日前
トヨタ自動車株式会社
濾過装置
1日前
個人
攪拌装置
1か月前
株式会社笹山工業所
濁水処理システム
1か月前
ヤマシンフィルタ株式会社
フィルタ装置
1か月前
個人
気液混合装置
13日前
大和ハウス工業株式会社
反応装置
28日前
松岡紙業 株式会社
油吸着体の製造方法
15日前
富士電機株式会社
ガス処理システム
10日前
本田技研工業株式会社
ガス回収装置
1か月前
株式会社フクハラ
圧縮空気圧回路ユニット
13日前
大陽日酸株式会社
CO2の回収方法
1か月前
東芝ライテック株式会社
光照射装置
1日前
杉山重工株式会社
回転円筒型反応装置
1か月前
株式会社明電舎
成膜装置
10日前
日本化薬株式会社
直鎖ブテン製造用触媒及びその使用
7日前
本田技研工業株式会社
二酸化炭素回収装置
28日前
本田技研工業株式会社
二酸化炭素回収装置
28日前
本田技研工業株式会社
二酸化炭素回収装置
1か月前
本田技研工業株式会社
二酸化炭素回収装置
28日前
ノリタケ株式会社
触媒材料およびその利用
28日前
本田技研工業株式会社
二酸化炭素回収装置
1か月前
本田技研工業株式会社
二酸化炭素回収装置
1か月前
ノリタケ株式会社
触媒材料およびその利用
28日前
本田技研工業株式会社
二酸化炭素回収装置
1か月前
本田技研工業株式会社
二酸化炭素回収装置
28日前
ノリタケ株式会社
触媒材料およびその利用
28日前
本田技研工業株式会社
二酸化炭素回収装置
1か月前
本田技研工業株式会社
二酸化炭素回収装置
23日前
Planet Savers株式会社
気体濃縮装置
1か月前
続きを見る
他の特許を見る