TOP
|
特許
|
意匠
|
商標
特許ウォッチ
Twitter
他の特許を見る
10個以上の画像は省略されています。
公開番号
2025161522
公報種別
公開特許公報(A)
公開日
2025-10-24
出願番号
2024064786
出願日
2024-04-12
発明の名称
グラウトの圧縮強度確認方法およびグラウンドアンカーの施工方法
出願人
黒沢建設株式会社
代理人
弁理士法人井上国際特許商標事務所
,
個人
,
個人
,
個人
,
個人
主分類
E02D
5/80 20060101AFI20251017BHJP(水工;基礎;土砂の移送)
要約
【課題】グラウンドアンカー施工における加圧注入後のグラウトの養生期間の短縮を図る。
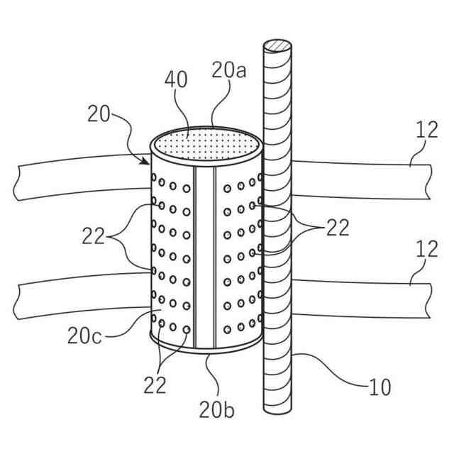
【解決手段】グラウンドアンカーの施工に用いられる所定のグラウト40に関して、所定圧力への加圧注入が完了してから所定時間が経過したときにおける圧縮強度を確認するためのグラウトの圧縮強度確認方法が提供される。本発明では、地上において、グラウトパッカー1に前記グラウト40を充填する充填ステップと、前記充填ステップによって前記グラウトパッカー1に充填された前記グラウト40を前記所定圧力まで加圧する加圧ステップと、前記加圧ステップによって前記所定圧力に加圧された前記グラウト40を、モールド缶20に充填した状態で採取する採取ステップと、前記モールド缶20から取り出された前記グラウト40に対して、前記加圧ステップが完了したときから前記所定時間が経過したときに圧縮強度試験を行う圧縮強度確認ステップと、が順に行われる。
【選択図】図4
特許請求の範囲
【請求項1】
グラウンドアンカーの施工に用いられる所定のグラウトに関して、加圧注入後の圧縮強度を確認するためのグラウトの圧縮強度確認方法であって、
地上において、
グラウトパッカーに前記グラウトを充填する充填ステップと、
前記充填ステップによって前記グラウトパッカーに充填された前記グラウトを所定圧力まで加圧する加圧ステップと、
前記加圧ステップによって前記所定圧力に加圧された前記グラウトを、モールド缶に充填した状態で採取する採取ステップと、
前記モールド缶から取り出された前記グラウトに対して、前記加圧ステップが完了したときから所定時間が経過したときに圧縮強度試験を行う圧縮強度確認ステップと、
を順に行うことを特徴とするグラウトの圧縮強度確認方法。
続きを表示(約 850 文字)
【請求項2】
地上に設置された吊り台に前記グラウトパッカーを吊り下げる吊り下げステップを更に備え、
前記吊り下げステップの後、前記吊り台に前記グラウトパッカーを吊り下げた状態で前記充填ステップと前記加圧ステップとを行うことを特徴とする請求項1に記載のグラウトの圧縮強度確認方法。
【請求項3】
前記充填ステップによって前記モールド缶に前記グラウトが充填されるように、前記充填ステップの開始前に前記グラウトパッカー内に前記モールド缶を取り付けておく採取準備ステップを更に備え、
前記採取ステップは、前記加圧ステップの完了後に、前記グラウトが充填された前記モールド缶を回収するモールド缶回収ステップである、
ことを特徴とする請求項1に記載のグラウトの圧縮強度確認方法。
【請求項4】
前記採取準備ステップでは、前記モールド缶が固定された固定用具を、前記グラウトパッカー内に差し込んで取り付ける、
ことを特徴とする請求項3に記載のグラウトの圧縮強度確認方法。
【請求項5】
前記モールド缶の側面に、余剰の水分を脱水させるための複数の孔が形成されている、
ことを特徴とする請求項4に記載のグラウトの圧縮強度確認方法。
【請求項6】
前記採取ステップは、前記加圧ステップの完了後に、前記グラウトパッカーから前記モールド缶に前記グラウトを詰め替える詰め替えステップである、
ことを特徴とする請求項1に記載のグラウトの圧縮強度確認方法。
【請求項7】
請求項1から請求項6のいずれか1項に記載のグラウトの圧縮強度確認方法によって、所定圧力への加圧注入が完了してから所定時間が経過したときにおけるグラウトの圧縮強度を確認し、
確認された前記グラウトの圧縮強度が所定の目標強度以上である場合にグラウンドアンカーの緊張定着を行う
ことを特徴とするグラウンドアンカーの施工方法。
発明の詳細な説明
【技術分野】
【0001】
本発明は、グラウンドアンカーの施工に用いられるグラウトに関して、加圧注入後の圧縮強度を確認するための方法と、この確認結果に基づいてグラウンドアンカーを施工する方法とに関する。
続きを表示(約 1,300 文字)
【背景技術】
【0002】
従来から、斜面、地上構造物、及び、山留め壁等を安定させるための土木工事において、グラウンドアンカー工法が採用されることがある。グラウンドアンカー工法では、セメントミルクやモルタルなどを材料としたグラウトによって安定地盤内に造成されるアンカー体と、地上のアンカー頭部とが、引張部を介して連結される。通常、引張部は、例えば、PC鋼棒、PC鋼より線、連続繊維補強材などからなる引張力伝達部材と、防食のために前記引張力伝達部材を覆うシースとを備える。
【0003】
グラウンドアンカーの施工においては、筒状のケーシングを用いて地盤の削孔が行われ、この孔に、テンドンの挿入、及び、グラウトの注入が行われる(特許文献1参照)。注入されたグラウトが硬化して目標の圧縮強度が発現した後、緊張定着、及び、アンカー頭部の処理が行われて施工が完了する。
【0004】
一般的に、グラウト注入が完了してから目標の圧縮強度(アンカーに緊張力を与える時点で必要な圧縮強度)(例えば、24N/mm
2
)が発現するまでの養生期間として、グラウトとして早強セメントが用いられる場合は72時間以上を要し、普通セメントが用いられる場合は約一週間を要する。
【0005】
原則として、グラウトの注入では、テンドンの挿入の前または後に孔内の水をグラウトに置き換えるように徐々にグラウトが充填される置換注入と、充填完了後に、脱水促進のためにグラウトが加圧されながら更に注入される加圧注入とが順に行われる。
【0006】
加圧注入としては、例えば、パッカー加圧またはケーシング加圧が行われる。パッカー加圧には、グラウトの充填ロスを低減するためにアンカー体部または、引張部または、その両方の外側に装着されるグラウトパッカーが利用され、ケーシング加圧には、上記のケーシングが利用される。
【先行技術文献】
【特許文献】
【0007】
特開2015-034412号公報
【発明の概要】
【発明が解決しようとする課題】
【0008】
パッカー加圧によって加圧注入が行われる場合、及び、ケーシング加圧であっても地盤の地質が砂質土である場合には、上述した一般的な養生期間よりも早期に目標の圧縮強度が発現することが知られている。
【0009】
しかしながら、そのことを具体的に証明する方法は確立されていない。そのため、パッカー加圧が行われる場合や、砂質土の地盤でケーシング加圧が行われる場合などに、実際には早期に目標の圧縮強度が発現すると考えられるにもかかわらず、養生期間を短縮できず、災害現場などでの工期短縮の要求に十分に応えられない課題がある。
【0010】
そこで、本発明は、グラウンドアンカー施工における加圧注入後のグラウトの養生期間の短縮を図ることを課題とする。
【課題を解決するための手段】
(【0011】以降は省略されています)
この特許をJ-PlatPat(特許庁公式サイト)で参照する
関連特許
黒沢建設株式会社
グラウトの圧縮強度確認方法およびグラウンドアンカーの施工方法
12日前
黒沢建設株式会社
桟橋のPC梁端接合構造およびその接合方法
2か月前
個人
バケット
6日前
個人
建物の不同沈下の修正方法
13日前
鈴健興業株式会社
敷板部材
1か月前
株式会社クボタ
作業車
1か月前
株式会社クボタ
作業車
1か月前
個人
擁壁用ブロックおよび擁壁
1か月前
株式会社ネクステリア
平板基礎
1か月前
千代田工営株式会社
回転貫入杭
20日前
株式会社大林組
操縦装置
9日前
株式会社富田製作所
継手部構造
6日前
株式会社大林組
建物の構造
1か月前
株式会社熊谷組
地盤改良方法
29日前
株式会社熊谷組
山留壁用親杭
26日前
日立建機株式会社
作業車両
22日前
日立建機株式会社
作業機械
26日前
日本車輌製造株式会社
建設機械
22日前
日立建機株式会社
建設機械
27日前
日立建機株式会社
作業機械
26日前
ヤンマーホールディングス株式会社
作業機械
19日前
日立建機株式会社
建設機械
27日前
ヤンマーホールディングス株式会社
作業機械
19日前
日立建機株式会社
作業機械
26日前
日立建機株式会社
建設機械
1か月前
日立建機株式会社
作業機械
27日前
日立建機株式会社
作業機械
20日前
FKS株式会社
擁壁及び擁壁の築造方法
8日前
株式会社三誠
建物の免震構造
13日前
ライト工業株式会社
鉄筋保持用治具
27日前
カナデビア株式会社
サクション基礎
27日前
株式会社次世代一次産業実践所
登山道の施工装置
14日前
鹿島建設株式会社
接続方法および接続構造
22日前
JFEスチール株式会社
鋼管矢板の継手構造
27日前
日立建機株式会社
電動式作業機械
1か月前
株式会社竹内製作所
作業用車両
26日前
続きを見る
他の特許を見る