TOP
|
特許
|
意匠
|
商標
特許ウォッチ
Twitter
他の特許を見る
10個以上の画像は省略されています。
公開番号
2025161306
公報種別
公開特許公報(A)
公開日
2025-10-24
出願番号
2024064392
出願日
2024-04-12
発明の名称
配光制御レンズ及び照明装置
出願人
三菱電機株式会社
,
三菱電機照明株式会社
代理人
弁理士法人きさ特許商標事務所
主分類
F21V
5/00 20180101AFI20251017BHJP(照明)
要約
【課題】色ムラを抑制できる配光制御レンズ及び照明装置を提供する。
【解決手段】配光制御レンズは、蛍光体を用いた白色光源と対向して配置される配光制御レンズであって、前記白色光源からの光が入射する入光面を備え、前記入光面には、凹部が形成されており、前記凹部は、前記白色光源と対向する入光中央面を有しており、前記入光中央面には、入射した光を広角側に偏向させるV溝が形成されている。
【選択図】図2
特許請求の範囲
【請求項1】
蛍光体を用いた白色光源と対向して配置される配光制御レンズであって、
前記白色光源からの光が入射する入光面を備え、
前記入光面には、凹部が形成されており、
前記凹部は、前記白色光源と対向する入光中央面を有しており、
前記入光中央面には、入射した光を広角側に偏向させるV溝が形成されている配光制御レンズ。
続きを表示(約 600 文字)
【請求項2】
蛍光体を用いた白色光源と対向して配置される配光制御レンズであって、
前記白色光源からの光が入射する入光面を備え、
前記入光面には、凹部が形成されており、
前記凹部は、前記白色光源と対向する入光中央面を有しており、
前記入光中央面には、入射した光を広角側に偏向させる台形溝が形成されている配光制御レンズ。
【請求項3】
前記入光面から入射した光の一部を全反射させる側面をさらに備え、
前記側面は、中心軸を含む断面において多角形形状に形成されている請求項1に記載の配光制御レンズ。
【請求項4】
蛍光体を用いた白色光源と対向して配置される配光制御レンズであって、
前記白色光源からの光を入射させる入光面と、
前記入光面から入射した光の一部を全反射させる側面と、
を備え、
前記側面は、中心軸を含む断面において多角形形状に形成されている配光制御レンズ。
【請求項5】
前記白色光源の放射光軸の方向に視て、
前記入光中央面の直径は、
前記白色光源の直径の2倍以下である請求項1に記載の配光制御レンズ。
【請求項6】
請求項1~請求項5のいずれか一項に記載の配光制御レンズと、
前記白色光源と、
を備えた照明装置。
発明の詳細な説明
【技術分野】
【0001】
本開示は、配光制御レンズ及びそれを備えた照明装置に関する。
続きを表示(約 2,000 文字)
【背景技術】
【0002】
黄色蛍光体を用いて白色光を得るLED(Light Emitting Diode)では、発光面からの垂線を基準に角度が大きくなるにつれて黄色成分が増大することが知られている。特許文献1では黄色味を帯びた蛍光色の成分はLED発光表面から広角度に偏って放出されているとし、この広角度の成分を外部に取り出さない構造にしている。
【先行技術文献】
【特許文献】
【0003】
特許第5331512号公報
【発明の概要】
【発明が解決しようとする課題】
【0004】
しかし、ミクロのサイズで見ると、LED光源面内においても色の偏りが存在する。LEDチップ直下においては青色光を発しており、チップ間あるいはチップと白色パッケージとの間は黄色味を帯びた光を発している。この発光面内の色ムラがレンズを通して、床や壁に投影されることがある。特に、レンズにて広角に配光制御して上方から下方へ投光する場合、一部壁面に照射される光の明部と暗部との境界部分が黄色味を帯びるという課題があった。
【0005】
本開示は、上述のような課題を解決するためになされたものであり、色ムラを抑制できる配光制御レンズ及び照明装置を提供することを目的とする。
【課題を解決するための手段】
【0006】
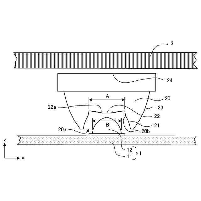
本開示に係る配光制御レンズは、蛍光体を用いた白色光源と対向して配置される配光制御レンズであって、前記白色光源からの光が入射する入光面を備え、前記入光面には、凹部が形成されており、前記凹部は、前記白色光源と対向する入光中央面を有しており、前記入光中央面には、入射した光を広角側に偏向させるV溝が形成されている。
【0007】
本開示に係る照明装置は、本開示に係る配光制御レンズと、前記白色光源と、を備えている。
【発明の効果】
【0008】
本開示によれば、色ムラを抑制することができる。
【図面の簡単な説明】
【0009】
実施の形態1に係る照明装置の分解斜視図である。
実施の形態1に係る照明装置における1組のLEDとレンズとの配置を示す光学系の断面図である。
実施の形態1に係る照明装置におけるLEDの断面図である。
実施の形態1に係る照明装置においてLED中心から入光側面を経由して放射される光の軌跡を示す図である。
実施の形態1に係る照明装置においてLED端部から入光側面を経由して放射される光の軌跡を示す図である。
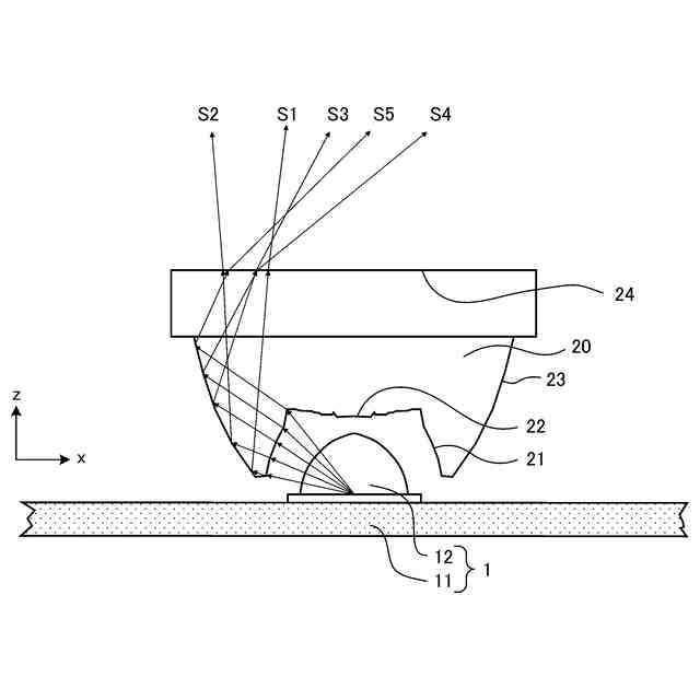
実施の形態1に係る照明装置においてLEDチップ領域端部から入光中央面を経由して放射される光の軌跡を示す図である。
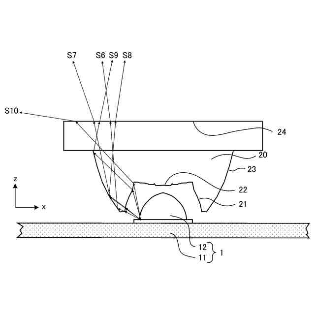
実施の形態1に係る照明装置においてLEDチップとパッケージとの間の蛍光体樹脂部から入光中央面を経由して放射される光の軌跡を示す図である。
実施の形態1の比較例に係る照明装置においてLEDチップ領域端部及び蛍光体樹脂部から入光中央面を経由して放射される光線領域図である。
レンズ形状1のレンズを有する照明装置においてLEDチップ領域端部及び蛍光体樹脂部から入光中央面を経由して放射される光線領域図である。
実施の形態2に係る照明装置においてLEDチップ領域端部から入光中央面を経由して放射される光の軌跡を示す図である。
実施の形態2に係る照明装置においてLEDチップとパッケージとの間の蛍光体樹脂部から入光中央面を経由して放射される光の軌跡を示す図である。
【発明を実施するための形態】
【0010】
以下、本開示の実施の形態について図面を参照して説明する。本開示は、以下の実施の形態に限定されるものではなく、本開示の主旨を逸脱しない範囲で種々に変形することが可能である。また、本開示は、以下の各実施の形態に示す構成のうち、組合せ可能な構成のあらゆる組合せを含むものである。特に構成要素の組み合わせは、各実施の形態における組み合わせのみに限定するものではなく、一の実施の形態に記載した構成要素を別の実施の形態に適用することができる。また、以下の説明において、理解を容易にするために方向を表す用語(例えば「上」、「下」、「右」、「左」、「前」、「後」など)を適宜用いるが、これらは説明のためのものであって、本開示を限定するものではない。また、各図において、同一の符号を付したものは、同一の又はこれに相当するものであり、これは明細書の全文において共通している。なお、各図面では、各構成部材の相対的な寸法関係又は形状等が実際のものとは異なる場合がある。
(【0011】以降は省略されています)
この特許をJ-PlatPat(特許庁公式サイト)で参照する
関連特許
三菱電機株式会社
換気装置
10日前
三菱電機株式会社
冷凍冷蔵庫
3日前
三菱電機株式会社
電動送風機
10日前
三菱電機株式会社
半導体装置
5日前
三菱電機株式会社
半導体装置
5日前
三菱電機株式会社
半導体装置
3日前
三菱電機株式会社
電力変換装置
5日前
三菱電機株式会社
電力変換装置
5日前
三菱電機株式会社
車両制御装置
10日前
三菱電機株式会社
食事支援システム
4日前
三菱電機株式会社
スクロール圧縮機
4日前
三菱電機株式会社
被加工物の製造方法
4日前
三菱電機株式会社
半導体装置の製造方法
10日前
三菱電機株式会社
伝送速度選択システム
10日前
三菱電機株式会社
冷却構造および電子機器
10日前
三菱電機株式会社
表示ユニット及び表示装置
5日前
三菱電機株式会社
ステータ、および、回転電機
10日前
三菱電機株式会社
ヒートシンク、及び照明器具
10日前
三菱電機株式会社
半導体装置及び電力変換装置
10日前
三菱電機株式会社
半導体装置および電力変換装置
10日前
三菱電機株式会社
空気調和装置及び衣類乾燥方法
10日前
三菱電機株式会社
鋳造用砂型の製造方法および工具
10日前
三菱電機株式会社
学習装置、推論装置、通信システム
3日前
三菱電機株式会社
半導体試験装置および半導体装置の製造方法
3日前
三菱電機株式会社
自動列車運転システムおよび自動列車運転方法
10日前
三菱電機株式会社
ガイダンス装置、ガイダンス方法およびプログラム
5日前
三菱電機株式会社
監視システム、監視装置、監視方法およびプログラム
10日前
三菱電機株式会社
入札曲線予測装置、入札曲線予測方法、及びプログラム
3日前
三菱電機株式会社
半導体装置、半導体装置の製造方法、および電力変換装置
3日前
三菱電機株式会社
ステータコイルの巻線機およびステータコイルの巻線方法
10日前
三菱電機株式会社
劣化診断システム、劣化診断方法及び劣化診断プログラム
5日前
三菱電機株式会社
前後進判定装置、前後進判定方法及び前後進判定プログラム
4日前
三菱電機株式会社
はんだ付けノズル、はんだ付け装置及び回路基板の製造方法
3日前
三菱電機株式会社
電力需給管理システム、電力需給管理方法、及びプログラム
3日前
三菱電機株式会社
家電通信端末、家電通信システム、家電通信方法及びプログラム
3日前
三菱電機株式会社
冷蔵庫、冷蔵庫システム、推論装置、学習装置、及び情報処理装置
10日前
続きを見る
他の特許を見る