TOP
|
特許
|
意匠
|
商標
特許ウォッチ
Twitter
他の特許を見る
10個以上の画像は省略されています。
公開番号
2025161003
公報種別
公開特許公報(A)
公開日
2025-10-24
出願番号
2024063816
出願日
2024-04-11
発明の名称
揚水発電所プラントの模擬装置、模擬装置方法、及び模擬システム
出願人
株式会社東芝
,
東芝エネルギーシステムズ株式会社
代理人
個人
,
個人
,
個人
,
個人
主分類
F03B
17/06 20060101AFI20251017BHJP(液体用機械または機関;風力原動機,ばね原動機,重力原動機;他類に属さない機械動力または反動推進力を発生するもの)
要約
【課題】循環水路を構成可能な複数の揚水機における発電状態を模擬可能な揚水発電所プラントの模擬装置、模擬装置方法、及び模擬システムを提供することである。
【解決手段】本実施形態に係る揚水発電所プラントの模擬装置は、シナリオ生成部と、プラントモデル生成部と、実行部と、選択部と、を備える。シナリオ生成部は、第1揚水機の複数の第1シナリオと、第2揚水機の複数の第2シナリオと、を生成する。プラントモデル生成部は、管路内の圧力変動を模擬する管路系モデルと、複数の水車モデルとを有する揚水機モデルを生成する。実行部は、複数の第1シナリオと、複数の第2シナリオの組み合わせのそれぞれを揚水機モデルに模擬実験の実行をさせる。選択部は、模擬実験に基づき、管路内の圧力変動が予め定められた基準を満たすシナリオの組み合わせを選択する。
【選択図】図1
特許請求の範囲
【請求項1】
第1揚水機の初期発電量が目的発電量に達するまでの時系列な発電状態を示す複数の第1シナリオと、第2揚水機の初期発電量が目的発電量に達するまでの時系列な発電状態を示す複数の第2シナリオと、を生成するシナリオ生成部と、
前記第1揚水機と前記第2揚水機との間で循環水路を構成可能な管路内の圧力変動を模擬する管路系モデルと、前記第1揚水機、及び前記第2揚水機の水車特性をそれぞれ模擬する複数の水車モデルとを有する揚水機モデルを生成するプラントモデル生成部と、
前記複数の第1シナリオと、前記複数の第2シナリオの組み合わせのそれぞれを前記揚水機モデルに模擬実験の実行をさせる実行部と、
前記模擬実験に基づき、前記複数の第1シナリオと、前記複数の第2シナリオの組み合わせのなかから、前記管路内の圧力変動が予め定められた基準を満たすシナリオの組み合わせを選択する選択部と、
を備える、揚水発電所プラントの模擬装置。
続きを表示(約 2,100 文字)
【請求項2】
前記複数の第1シナリオは、前記第1揚水機の発電動作を実行するシナリオであり、
前記複数の第2シナリオは、前記第2揚水機の揚水動作を実行するシナリオである、請求項1に記載の揚水発電所プラントの模擬装置。
【請求項3】
前記複数の第1シナリオは、前記第1揚水機の発電動作を実行するシナリオであり、
前記複数の第2シナリオは、前記第2揚水機の発電動作を実行するシナリオである、請求項1に記載の揚水発電所プラントの模擬装置。
【請求項4】
前記複数の第1シナリオは、目標発電電力に到達するまでの時間がそれぞれ異なり、前記複数の第2シナリオは、目標発電電力に到達するまでの時間がそれぞれ異なる、請求項1に記載の揚水発電所プラントの模擬装置。
【請求項5】
前記選択部は、前記第1揚水機、及び前記第2揚水機が共に発電動作をする場合に、単位時間、及び単位水量当たりの発電電力である発電効率に更に基づき、シナリオの組み合わせを選択する、請求項1に記載の揚水発電所プラントの模擬装置。
【請求項6】
前記選択部は、前記第1揚水機が発電動作をし、前記第2揚水機が揚水動作を実行する場合に、移行時間に更に基づき、シナリオの組み合わせを選択する、請求項1に記載の揚水発電所プラントの模擬装置。
【請求項7】
前記選択部に選択されたシナリオの組み合わせを記憶する記憶部を更に備える、請求項1に記載の揚水発電所プラントの模擬装置。
【請求項8】
前記揚水機モデルは、上ダムと、下ダムと、前記第1揚水機と、前記第2揚水機と、これらを繋ぐ導水路と、第1水圧鉄管と、第2水圧鉄管と、放水路と、前記導水路に連結された第1サージタンクと、前記放水路に連結された第2サージタンクとをモデル化しており、前記第1水圧鉄管と、2水圧鉄管とが前記循環水路を構成可能な前記管路に対応し、
前記導水路、前記第1水圧鉄管と、前記第2水圧鉄管、及び前記放水路は、管路結合モデルと、管路分岐・合流モデルとを有する水路モデルを構成し、
前記プラントモデル生成部は、前記上ダム、前記下ダム、前記第1サージタンク、及び前記第2サージタンクの水位の情報と、前記導水路、前記第1水圧鉄管、前記第2水圧鉄管、及び前記放水路のうちの少なくとも記第1水圧鉄管、及び前記第2水圧鉄管の水圧の情報とを、初期条件として前記揚水機モデルを生成する、請求項1に記載の揚水発電所プラントの模擬装置。
【請求項9】
第1揚水機の初期発電量が目的発電量に達するまでの時系列な発電状態を示す複数の第1シナリオと、第2揚水機の初期発電量が目的発電量に達するまでの時系列な発電状態を示す複数の第2シナリオと、を生成するシナリオ生成工程と、
前記第1揚水機と前記第2揚水機との間で循環水路を構成可能な管路内の圧力変動を模擬する管路系モデルと、前記第1揚水機、及び前記第2揚水機の水車特性をそれぞれ模擬する複数の水車モデルとを有する揚水機モデルを生成するプラントモデル生成工程と、
前記複数の第1シナリオと、前記複数の第2シナリオの組み合わせのそれぞれを前記揚水機モデルに模擬実験の実行をさせる実行工程と、
前記模擬実験に基づき、前記複数の第1シナリオと、前記複数の第2シナリオの組み合わせのなかから、前記管路内の圧力変動が予め定められた基準を満たすシナリオの組み合わせを選択する選択工程と、
を備える、揚水発電所プラントの模擬方法。
【請求項10】
模擬装置と、
実運用制御装置と、を備える揚水発電所プラントの模擬システムであって、
前記模擬装置は、
第1揚水機の初期発電量が目的発電量に達するまでの時系列な発電状態を示す複数の第1シナリオと、第2揚水機の初期発電量が目的発電量に達するまでの時系列な発電状態を示す複数の第2シナリオと、を生成するシナリオ生成部と、
前記第1揚水機と前記第2揚水機との間で循環水路を構成可能な管路内の圧力変動を模擬する管路系モデルと、前記第1揚水機、及び前記第2揚水機の水車特性をそれぞれ模擬する複数の水車モデルとを有する揚水機モデルを生成するプラントモデル生成部と、
前記複数の第1シナリオと、前記複数の第2シナリオの組み合わせのそれぞれを前記揚水機モデルに模擬実験の実行をさせる実行部と、
前記模擬実験に基づき、前記複数の第1シナリオと、前記複数の第2シナリオの組み合わせのなかから、前記管路内の圧力変動が予め定められた基準を満たすシナリオの組み合わせを選択する選択部と、
前記選択部に選択されたシナリオの組み合わせを記憶する記憶部と、を有し、
実運用制御装置は、
前記揚水機モデルに対応する揚水発電所プラントの移行点の電力と現時点の電力とを収集する収集部と、
前記記憶部から前記移行点の電力と前記現時点の電力とに基づき、シナリオの組み合わせを選択して、前記揚水発電所プラントに実行させる制御選出部と、
を有する、揚水発電所プラントの模擬システム。
発明の詳細な説明
【技術分野】
【0001】
本発明の実施形態は、揚水発電所プラントの模擬装置、模擬装置方法、及び模擬システムに関する。
続きを表示(約 1,900 文字)
【背景技術】
【0002】
風力発電、太陽光発電(Photovoltaic(フォトボルタイク))などを用いた再生可能エネルギーによる発電装置の導入が進んでいる。これらの再生可能エネルギーによる発電装置の発電力は、環境の影響を受けやすいものである。このため、系統の電力需給を調整するため、出力調整や蓄電が可能な揚水発電所プラントの役割が増加している。
【先行技術文献】
【特許文献】
【0003】
特開2014-9683号公報
特開平11-085252号公報
【発明の概要】
【発明が解決しようとする課題】
【0004】
このため、系統の電力需給を調整するために、循環水路を用いた発電と揚水を同時に行う運用が行われる場合がある。ところがこのような運用は、既設の発揚水電所では想定されていない場合がある。このため、循環水路における管路内の水圧等が許容範囲を超えてしまう恐れがある。
【0005】
本発明が解決しようとする課題は、循環水路を構成可能な複数の揚水機における発電状態を模擬可能な揚水発電所プラントの模擬装置、模擬装置方法、及び模擬システムを提供することである。
【課題を解決するための手段】
【0006】
本実施形態に係る揚水発電所プラントの模擬装置は、シナリオ生成部と、プラントモデル生成部と、実行部と、選択部と、を備える。シナリオ生成部は、第1揚水機の初期発電量が目的発電量に達するまでの時系列な発電状態を示す複数の第1シナリオと、第2揚水機の初期発電量が目的発電量に達するまでの時系列な発電状態を示す複数の第2シナリオと、を生成する。プラントモデル生成部は、第1揚水機と第2揚水機との間で循環水路を構成可能な管路内の圧力変動を模擬する管路系モデルと、第1揚水機、及び第2揚水機の水車特性をそれぞれ模擬する複数の水車モデルとを有する揚水機モデルを生成する。実行部は、複数の第1シナリオと、複数の第2シナリオの組み合わせのそれぞれを揚水機モデルに模擬実験の実行をさせる。選択部は、模擬実験に基づき、複数の第1シナリオと、複数の第2シナリオの組み合わせのなかから、管路内の圧力変動が予め定められた基準を満たすシナリオの組み合わせを選択する。
【図面の簡単な説明】
【0007】
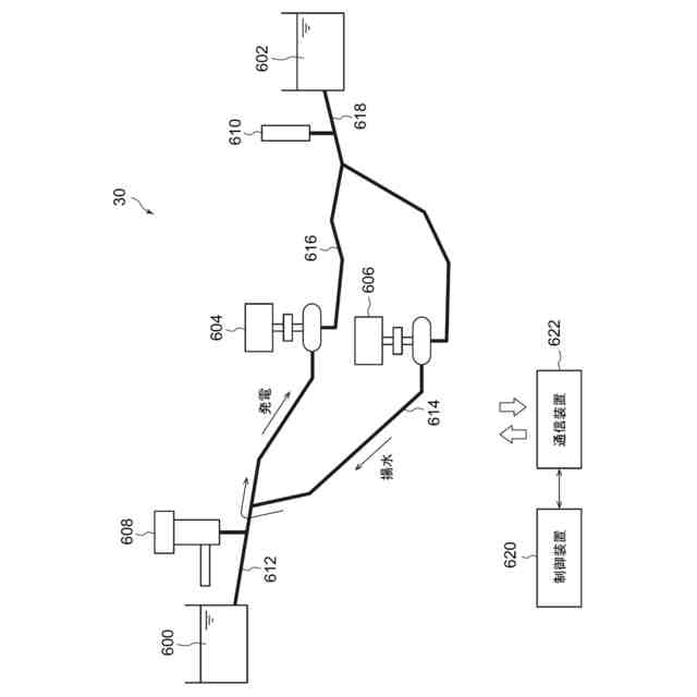
揚水発電所プラントの模擬システムの構成例を示すブロック図。
揚水発電所プラントの構成例を示す図。
プラントモデルの例を示す図。
実行処理部の構成例を示すブロック図。
移行先の選択例を模式的に示す図。
制御候補選出部が選択したシナリオの例を示す図。
制御候補選出部が選択した発電動作のシナリオの例を示す図。
発電運転への移行後に最も高い高効率点を選択する例を示す図。
本実施形態に係る模擬装置の動作例を示すフローチャート。
本実施形態に係る運用制御装置の動作例を示すフローチャート。
最も高い高効率点を選択する動作例を示すフローチャート。
【発明を実施するための形態】
【0008】
以下、本発明の実施形態に係る揚水発電所プラントの模擬装置、模擬装置方法、及び模擬システムについて、図面を参照しながら詳細に説明する。なお、以下に示す実施形態は、本発明の実施形態の一例であって、本発明はこれらの実施形態に限定して解釈されるものではない。また、本実施形態で参照する図面において、同一部分又は同様な機能を有する部分には同一の符号又は類似の符号を付し、その繰り返しの説明は省略する場合がある。また、図面の寸法比率は説明の都合上実際の比率とは異なる場合や、構成の一部が図面から省略される場合がある。
(一実施形態)
【0009】
図1は、本実施形態に係る揚水発電所プラントの模擬システム1の構成例を示すブロック図である。図1に示すように、本実施形態に係る模擬システム1は、循環水路を構成可能な複数の揚水機における発電状態を模擬可能なシステムである。この模擬システム1は、揚水機の模擬装置10と、揚水機を制御する実運用制御装置20とを備える。
【0010】
図1には、更に複数の実際の揚水発電所プラント30が模式的に図示されている。揚水発電所プラント30は、循環水路を構成可能な複数の揚水機で構成される。揚水発電所プラント30は、後述するように、発電動作、揚水動作、循環動作を有する。なお、本実施形態では、揚水発電所プラントを揚水発電所、揚水発電プラントと称する場合がある。
(【0011】以降は省略されています)
この特許をJ-PlatPat(特許庁公式サイト)で参照する
関連特許
株式会社東芝
端子台
22日前
株式会社東芝
除去装置
15日前
株式会社東芝
半導体装置
1日前
株式会社東芝
補修システム
28日前
株式会社東芝
ディスク装置
14日前
株式会社東芝
電気車制御装置
17日前
株式会社東芝
半導体集積回路
1か月前
株式会社東芝
半導体スイッチ
29日前
株式会社東芝
パワーモジュール
7日前
株式会社東芝
パワーモジュール
7日前
株式会社東芝
電力変換装置の冷却装置
25日前
株式会社東芝
流路板及び電気化学セル
1日前
株式会社東芝
半導体装置及びウエーハ
23日前
株式会社東芝
半導体装置及びその製造方法
22日前
株式会社東芝
ウエーハ、及び、半導体装置
22日前
株式会社東芝
半導体装置及びその製造方法
22日前
株式会社東芝
半導体装置及びその製造方法
25日前
株式会社東芝
半導体装置及びその製造方法
1か月前
株式会社東芝
駆動回路、および半導体装置
9日前
株式会社東芝
駆動回路、および半導体装置
9日前
株式会社東芝
情報処理方法及び情報処理装置
15日前
株式会社東芝
半導体装置およびその製造方法
25日前
株式会社東芝
ランプおよび磁気ディスク装置
29日前
株式会社東芝
負荷時タップ切換器の切換開閉器
17日前
株式会社東芝
領域抽出装置、方法及びプログラム
1日前
株式会社東芝
水力機械の流路構造物検査システム
16日前
株式会社東芝
温水洗浄システム及び温水洗浄方法
22日前
株式会社東芝
電力変換装置及び直流送電システム
28日前
株式会社東芝
半導体装置の製造方法及び半導体装置
28日前
株式会社東芝
半導体装置及び半導体装置の製造方法
29日前
株式会社東芝
超音波検査装置、及び、超音波検査方法
28日前
株式会社東芝
電極、二次電池、電池パック、及び車両
14日前
株式会社東芝
部分放電診断装置および部分放電診断方法
28日前
株式会社東芝
吸着処理方法、および、吸着処理システム
23日前
株式会社東芝
発話言語理解のためのシステムおよび方法
29日前
株式会社東芝
情報処理装置、および、自動発信システム
15日前
続きを見る
他の特許を見る