TOP
|
特許
|
意匠
|
商標
特許ウォッチ
Twitter
他の特許を見る
公開番号
2025165753
公報種別
公開特許公報(A)
公開日
2025-11-05
出願番号
2024070043
出願日
2024-04-23
発明の名称
水力機械の流路構造物検査システム
出願人
株式会社東芝
,
東芝エネルギーシステムズ株式会社
代理人
個人
,
個人
,
個人
主分類
F03B
3/02 20060101AFI20251028BHJP(液体用機械または機関;風力原動機,ばね原動機,重力原動機;他類に属さない機械動力または反動推進力を発生するもの)
要約
【課題】流路構造物に発生する異常の有無を容易かつ迅速に確認することができる水力機械の流路構造物検査システムを提供する。
【解決手段】実施の形態による水力機械の流路構造物検査システムは、流路構造物に超音波を照射するとともに超音波の反射波を検出する少なくとも1つの超音波センサと、超音波センサによる超音波の照射を制御するとともに、超音波センサからの出力信号を受信する制御部と、出力信号に基づいた検査結果を表示する表示部と、を備えている。
【選択図】図2
特許請求の範囲
【請求項1】
水力機械のランナを通過する水が流れる内部流路に配置された流路構造物の検査を行うための水力機械の流路構造物検査システムであって、
前記流路構造物に超音波を照射するとともに前記超音波の反射波を検出する少なくとも1つの超音波センサと、
前記超音波センサによる超音波の照射を制御するとともに、前記超音波センサからの出力信号を受信する制御部と、
前記出力信号に基づいた検査結果を表示する表示部と、
を備えた、水力機械の流路構造物検査システム。
続きを表示(約 1,500 文字)
【請求項2】
前記流路構造物は、前記ランナのランナ羽根を含み、
前記少なくとも1つの超音波センサは、前記ランナのランナ羽根の内部に配置されるとともに、前記ランナ羽根の上流側縁部のうちのバンド側の端部に向けて超音波を照射可能な超音波センサを含む、
請求項1に記載の水力機械の流路構造物検査システム。
【請求項3】
前記流路構造物は、前記ランナのランナ羽根を含み、
前記少なくとも1つの超音波センサは、前記ランナのランナ羽根の内部に配置されるとともに、前記ランナ羽根の下流側縁部のうちのクラウン側の端部に向けて超音波を照射可能な超音波センサを含む、
請求項1に記載の水力機械の流路構造物検査システム。
【請求項4】
前記流路構造物は、前記ランナのランナ羽根を含み、
前記少なくとも1つの超音波センサは、前記ランナのランナ羽根の内部に配置されるとともに、前記ランナ羽根の下流側縁部のうちバンド側の端部に向けて超音波を照射可能な超音波センサを含む、
請求項1に記載の水力機械の流路構造物検査システム。
【請求項5】
前記流路構造物は、前記ランナのランナ羽根を含み、
前記少なくとも1つの超音波センサは、前記ランナのクラウンに配置されるとともに、前記ランナのランナ羽根のうちの上流側縁部と下流側縁部との間であって前記クラウン側の端部に向けて超音波を照射可能な超音波センサを含む、
請求項1に記載の水力機械の流路構造物検査システム。
【請求項6】
前記流路構造物は、前記ランナの上流側に配置されたガイドベーンを含み、
前記少なくとも1つの超音波センサは、前記ガイドベーンの内部に配置されるとともに、前記ガイドベーンのうちの上端部および下端部のうちの少なくとも一方に向けて超音波を照射可能な超音波センサを含む、
請求項1に記載の水力機械の流路構造物検査システム。
【請求項7】
前記流路構造物は、前記ランナの上流側に配置されたステーベーンを含み、
前記少なくとも1つの超音波センサは、前記ステーベーンの内部に配置されるとともに、前記ステーベーンの上流側縁部のうちの上端部および下端部のうちのいずれか一方に向けて超音波を照射可能な超音波センサを含む、
請求項1に記載の水力機械の流路構造物検査システム。
【請求項8】
前記流路構造物は、前記ランナの上流側に配置されたステーベーンを含み、
前記少なくとも1つの超音波センサは、前記ステーベーンの内部に配置されるとともに、前記ステーベーンの下流側縁部のうちの上端部および下端部のうちのいずれか一方に向けて超音波を照射可能な超音波センサを含む、
請求項1に記載の水力機械の流路構造物検査システム。
【請求項9】
前記流路構造物は、前記ランナの上流側に配置されたガイドベーンおよびステーベーンを含み、
前記少なくとも1つの超音波センサは、前記内部流路を画定する流路画定部に配置されるとともに、前記ガイドベーンおよび前記ステーベーンのうちのいずれか一方に向けて超音波を照射可能な超音波センサを含む、
請求項1に記載の水力機械の流路構造物検査システム。
【請求項10】
前記超音波センサは、フェーズドアレイ式である、
請求項1に記載の水力機械の流路構造物検査システム。
(【請求項11】以降は省略されています)
発明の詳細な説明
【技術分野】
【0001】
本発明の実施の形態は、水力機械の流路構造物検査システムに関する。
続きを表示(約 1,600 文字)
【背景技術】
【0002】
水力発電に用いられるフランシス型水車においては、内部流路に配置されたステーベーンおよびガイドベーンによって水が案内されて、ランナに流入する。ランナはランナ羽根を含んでおり、ランナ羽根が水の圧力を受けることによりランナが回転駆動される。ランナには、主軸を介して発電機が連結されており、ランナの回転駆動によって発電機が回転駆動されて発電を行う。
【0003】
ランナ羽根の表面の一部では、キャビテーションによる壊食が発生し得る。キャビテーション壊食は、ステーベーンおよびガイドベーンでも発生し得る。また、水車に流入する水には、土砂が巻き込まれることがあり、ステーベーン、ガイドベーンおよびランナ羽根に摩耗が発生し得る。また、ランナ羽根に運転中に発生する応力の大きさによっては、ランナ羽根の内部に亀裂が発生する可能性も考えられる。
【0004】
このようなキャビテーション壊食、摩耗および亀裂などの異常は早期に発見して、迅速に修繕することが求められる。このため、水車の内部流路に配置された流路構造物の点検作業が行われている。
【0005】
流路構造物の点検作業は、水車の運転を停止し、内部流路内の水を抜いてから内部流路に検査員が進入して行われる。内部流路を画定する面は金属面であるため、内部流路内の乾燥が不十分な状態では、濡れた金属面での点検作業となり転倒の危険を伴う。また、大規模な発電所ほど抜水および点検に時間を要する。このため、流路構造物の点検作業には、多くの時間が費やされ、迅速な点検が困難になっている。この場合、異常の修繕にも時間がかかる。
【先行技術文献】
【特許文献】
【0006】
特開平8-326645号公報
特開2000-28588号公報
【発明の概要】
【発明が解決しようとする課題】
【0007】
実施の形態は、流路構造物に発生する異常の有無を容易かつ迅速に確認することができる水力機械の流路構造物検査システムを提供することを目的とする。
【課題を解決するための手段】
【0008】
実施の形態による水力機械の流路構造物検査システムは、水力機械のランナを通過する水が流れる内部流路に配置された流路構造物の検査を行うためのシステムである。流路構造物検査システムは、流路構造物に超音波を照射するとともに超音波の反射波を検出する少なくとも1つの超音波センサと、超音波センサによる超音波の照射を制御するとともに、超音波センサからの出力信号を受信する制御部と、出力信号に基づいた検査結果を表示する表示部と、を備えている。
【発明の効果】
【0009】
実施の形態によれば、流路構造物に発生する異常の有無を容易かつ迅速に確認することができる。
【図面の簡単な説明】
【0010】
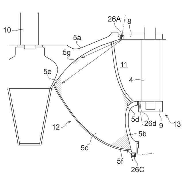
図1は、第1の実施の形態による水力機械の構成を説明するための子午面断面図である。
図2は、第1の実施の形態による流路構造物検査システムの概略構成を説明するための子午線断面図である。
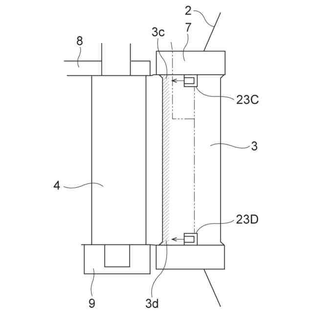
図3は、図2に示すステーベーンに配置された超音波センサを示す部分断面図である。
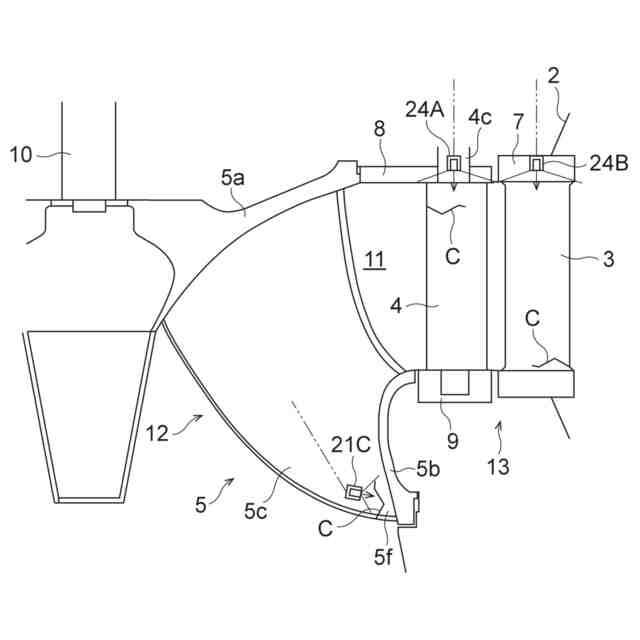
図4は、第2の実施の形態による流路構造物検査システムの概略構成を説明するための子午線断面図である。
図5は、第3の実施の形態による流路構造物検査システムにおいて、フェーズドアレイ式の超音波センサを示す模式断面図である。
図6は、第4の実施の形態による流路構造物検査システムの概略構成を説明するための子午線断面図である。
図7は、図6の平面図である。
【発明を実施するための形態】
(【0011】以降は省略されています)
この特許をJ-PlatPat(特許庁公式サイト)で参照する
関連特許
株式会社東芝
センサ
2か月前
株式会社東芝
モータ
2か月前
株式会社東芝
端子台
1か月前
株式会社東芝
センサ
2か月前
株式会社東芝
電子源
4日前
株式会社東芝
吸音装置
2か月前
株式会社東芝
電子装置
2か月前
株式会社東芝
除去装置
1か月前
株式会社東芝
電子装置
1か月前
株式会社東芝
金型構造
2か月前
株式会社東芝
電子回路
1か月前
株式会社東芝
粒子加速器
2か月前
株式会社東芝
半導体装置
2か月前
株式会社東芝
半導体装置
1か月前
株式会社東芝
半導体装置
1か月前
株式会社東芝
半導体装置
2か月前
株式会社東芝
半導体装置
4日前
株式会社東芝
半導体装置
1か月前
株式会社東芝
半導体装置
1か月前
株式会社東芝
半導体装置
11日前
株式会社東芝
半導体装置
1か月前
株式会社東芝
真空バルブ
1か月前
株式会社東芝
半導体装置
19日前
株式会社東芝
半導体装置
1か月前
株式会社東芝
半導体装置
1か月前
株式会社東芝
半導体装置
1か月前
株式会社東芝
半導体装置
1か月前
株式会社東芝
半導体装置
1か月前
株式会社東芝
真空バルブ
5日前
株式会社東芝
半導体装置
1か月前
株式会社東芝
半導体装置
1か月前
株式会社東芝
半導体装置
4日前
株式会社東芝
半導体装置
2か月前
株式会社東芝
半導体装置
2か月前
株式会社東芝
半導体装置
2か月前
株式会社東芝
半導体装置
2か月前
続きを見る
他の特許を見る