TOP
|
特許
|
意匠
|
商標
特許ウォッチ
Twitter
他の特許を見る
10個以上の画像は省略されています。
公開番号
2025160774
公報種別
公開特許公報(A)
公開日
2025-10-23
出願番号
2024063551
出願日
2024-04-10
発明の名称
半導体装置及び半導体装置の製造方法
出願人
株式会社東芝
,
東芝デバイス&ストレージ株式会社
代理人
個人
,
個人
,
個人
主分類
H10D
30/66 20250101AFI20251016BHJP()
要約
【課題】半導体ウェハの反りを抑制する半導体装置を提供する。
【解決手段】
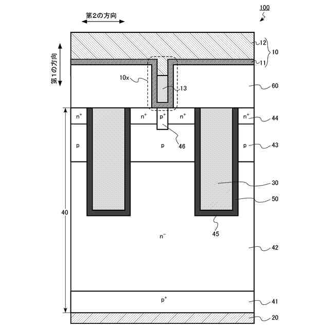
実施形態の半導体装置は、第1の金属層と、第2の金属層と、絶縁物と、を含む第1の電極と、第2の電極と、第1の電極と第2の電極との間に設けられた半導体層と、第1の電極と半導体層との間に設けられた絶縁層と、を備え、第1の電極は、半導体層と第1の電極とを電気的に接続する第1の部分を有し、第1の部分は、第1の電極と第2の電極とを結ぶ第1の方向に平行な断面において、絶縁層の一部と、絶縁層の別の一部との間に設けられ、第1の部分は、半導体層と接する第1の金属層と、第2の金属層と、第1の金属層と第2の金属層との間に設けられた絶縁物と、を含む。
【選択図】図2
特許請求の範囲
【請求項1】
第1の金属層と、第2の金属層と、絶縁物と、を含む第1の電極と、
第2の電極と、
前記第1の電極と前記第2の電極との間に設けられた半導体層と、
前記第1の電極と前記半導体層との間に設けられた絶縁層と、を備え、
前記第1の電極は、前記半導体層と前記第1の電極とを電気的に接続する第1の部分を有し、
前記第1の部分は、前記第1の電極と前記第2の電極とを結ぶ第1の方向に平行な断面において、前記絶縁層の一部と、前記絶縁層の別の一部との間に設けられ、
前記第1の部分は、前記半導体層と接する前記第1の金属層と、前記第2の金属層と、前記第1の金属層と前記第2の金属層との間に設けられた前記絶縁物と、を含む半導体装置。
続きを表示(約 740 文字)
【請求項2】
前記断面において、前記絶縁物は前記第1の金属層及び前記第2の金属層で囲まれる、請求項1記載の半導体装置。
【請求項3】
前記絶縁物は、酸化物、窒化物、又は酸窒化物を含む、請求項1記載の半導体装置。
【請求項4】
前記第2の金属層の化学組成は、前記第1の金属層の化学組成と異なる、請求項1記載の半導体装置。
【請求項5】
前記第1の金属層はタングステン(W)を含み、前記第2の金属層はアルミニウム(Al)を含む、請求項1記載の半導体装置。
【請求項6】
前記断面において、前記第1の部分の側面の一部は、前記半導体層に接する、請求項1記載の半導体装置。
【請求項7】
前記断面において、前記第1の部分の前記絶縁物の前記第1の方向の第1の厚さは、前記第1の部分の底面の前記第1の金属層の前記第1の方向の第2の厚さよりも厚い、請求項1記載の半導体装置。
【請求項8】
前記断面において、前記第1の部分の前記絶縁物の前記第1の方向の第1の厚さは、前記第1の部分の前記絶縁物の第2の方向の第1の幅より大きい、請求項1記載の半導体装置。
【請求項9】
前記断面において、前記第1の部分の前記絶縁物の第2の方向の第1の幅は、前記第1の部分の第2の方向の第2の幅の2分の1以上である、請求項1記載の半導体装置。
【請求項10】
前記断面において、前記第1の部分の前記第2の金属層の前記第1の方向の第3の厚さは、前記第1の部分の底面の前記第1の金属層の前記第1の方向の第2の厚さよりも厚い、請求項1記載の半導体装置。
(【請求項11】以降は省略されています)
発明の詳細な説明
【技術分野】
【0001】
本発明の実施形態は、半導体装置及び半導体装置の製造方法に関する。
続きを表示(約 2,100 文字)
【背景技術】
【0002】
パワー半導体装置の一例として、半導体層の上下に電極が設けられる縦型のパワー半導体装置がある。半導体ウェハを用いてパワー半導体装置を製造する際に、金属膜に起因する応力によって、半導体ウェハに反りが生ずる場合がある。
【先行技術文献】
【特許文献】
【0003】
特開2023-39219号公報
【発明の概要】
【発明が解決しようとする課題】
【0004】
本発明が解決しようとする課題は、半導体ウェハの反りを抑制する半導体装置を提供することにある。
【課題を解決するための手段】
【0005】
実施形態の半導体装置は、第1の金属層と、第2の金属層と、絶縁物と、を含む第1の電極と、第2の電極と、前記第1の電極と前記第2の電極との間に設けられた半導体層と、前記第1の電極と前記半導体層との間に設けられた絶縁層と、を備え、前記第1の電極は、前記半導体層と前記第1の電極とを電気的に接続する第1の部分を有し、前記第1の部分は、前記第1の電極と前記第2の電極とを結ぶ第1の方向に平行な断面において、前記絶縁層の一部と、前記絶縁層の別の一部との間に設けられ、前記第1の部分は、前記半導体層と接する前記第1の金属層と、前記第2の金属層と、前記第1の金属層と前記第2の金属層との間に設けられた前記絶縁物と、を含む。
【図面の簡単な説明】
【0006】
第1の実施形態の半導体装置の模式図。
第1の実施形態の半導体装置の一部の模式断面図。
第1の実施形態の半導体装置の拡大模式断面図。
第1の実施形態の半導体装置の製造方法を説明する図。
第1の実施形態の半導体装置の製造方法を説明する図。
第1の実施形態の半導体装置の製造方法を説明する図。
第1の実施形態の半導体装置の製造方法を説明する図。
第1の実施形態の半導体装置の製造方法を説明する図。
第1の比較形態の半導体装置の一部の模式断面図。
第2の比較形態の半導体装置の一部の模式断面図。
第1の実施形態の第1の変形例の半導体装置の一部の模式断面図。
第1の実施形態の第2の変形例の半導体装置の一部の模式断面図。
第2の実施形態の半導体装置の模式図。
第2の実施形態の半導体装置の一部の模式断面図。
第2の実施形態の半導体装置の製造方法を説明する図。
第2の実施形態の変形例の半導体装置の一部の模式断面図。
第3の実施形態の半導体装置の模式図。
第3の実施形態の半導体装置の一部の模式断面図。
第3の実施形態の半導体装置の製造方法を説明する図。
【発明を実施するための形態】
【0007】
以下、図面を参照しつつ本発明の実施形態を説明する。なお、以下の説明では、同一又は類似の部材などには同一の符号を付し、一度説明した部材などについては適宜その説明を省略する。
【0008】
本明細書中、n
+
形、n形、n
-
形との表記がある場合、n
+
形、n形、n
-
形の順でn形不純物濃度が低くなっていることを意味する。また、p
+
形、p形、p
-
形の表記がある場合、p
+
形、p形、p
-
形の順で、p形不純物濃度が低くなっていることを意味する。
【0009】
本明細書中の半導体装置を構成する部材の化学組成の定性分析及び定量分析は、例えば、二次イオン質量分析法(Secondary Ion Mass Spectrometry:SIMS)、エネルギー分散型X線分光法(Energy Dispersive X-ray Spectroscopy:EDX)、ラザフォード後方散乱分析法(Rutherford Back-Scattering Spectroscopy:RBS)により行うことが可能である。また、半導体装置を構成する部材の厚さ、部材間の距離等の測定には、例えば、透過型電子顕微鏡(Transmission Electron Microscope:TEM)を用いることが可能である。
【0010】
(第1の実施形態)
第1の実施形態の半導体装置は、第1の金属層と、第2の金属層と、絶縁物と、を含む第1の電極と、第2の電極と、第1の電極と第2の電極との間に設けられた半導体層と、第1の電極と半導体層との間に設けられた絶縁層と、を備える。第1の電極は、半導体層と第1の電極とを電気的に接続する第1の部分を有する。第1の部分は、第1の電極と第2の電極とを結ぶ第1の方向に平行な断面において、絶縁層の一部と、絶縁層の別の一部との間に設けられる。第1の部分は、半導体層と接する第1の金属層と、第2の金属層と、第1の金属層と第2の金属層との間に設けられた絶縁物と、を含む。
(【0011】以降は省略されています)
この特許をJ-PlatPat(特許庁公式サイト)で参照する
関連特許
株式会社東芝
固定子
2か月前
株式会社東芝
センサ
1か月前
株式会社東芝
センサ
2か月前
株式会社東芝
モータ
28日前
株式会社東芝
センサ
1か月前
株式会社東芝
センサ
2か月前
株式会社東芝
電子装置
12日前
株式会社東芝
電子回路
8日前
株式会社東芝
吸音装置
28日前
株式会社東芝
ドア構造
2か月前
株式会社東芝
回路素子
2か月前
株式会社東芝
電子装置
27日前
株式会社東芝
金型構造
1か月前
株式会社東芝
半導体装置
14日前
株式会社東芝
半導体装置
1か月前
株式会社東芝
半導体装置
12日前
株式会社東芝
半導体装置
12日前
株式会社東芝
半導体装置
12日前
株式会社東芝
粒子加速器
27日前
株式会社東芝
ラック装置
2か月前
株式会社東芝
半導体装置
13日前
株式会社東芝
真空バルブ
13日前
株式会社東芝
半導体装置
14日前
株式会社東芝
半導体装置
1か月前
株式会社東芝
半導体装置
1か月前
株式会社東芝
半導体装置
14日前
株式会社東芝
電動送風機
2か月前
株式会社東芝
半導体装置
1か月前
株式会社東芝
半導体装置
1か月前
株式会社東芝
半導体装置
1か月前
株式会社東芝
半導体装置
15日前
株式会社東芝
半導体装置
1か月前
株式会社東芝
半導体装置
1か月前
株式会社東芝
半導体装置
14日前
株式会社東芝
半導体装置
14日前
株式会社東芝
半導体装置
1か月前
続きを見る
他の特許を見る