TOP
|
特許
|
意匠
|
商標
特許ウォッチ
Twitter
他の特許を見る
10個以上の画像は省略されています。
公開番号
2025160708
公報種別
公開特許公報(A)
公開日
2025-10-23
出願番号
2024063440
出願日
2024-04-10
発明の名称
ランプおよび磁気ディスク装置
出願人
株式会社東芝
,
東芝デバイス&ストレージ株式会社
代理人
弁理士法人スズエ国際特許事務所
主分類
G11B
21/12 20060101AFI20251016BHJP(情報記憶)
要約
【課題】クラックの発生を抑制し、信頼性の向上を図ることが可能なランプおよびこれを備える磁気ディスク装置を提供する。
【解決手段】実施形態によれば、磁気ディスク装置のランプは、樹脂により一体に成形されたランプ本体および支持ブラケットと、ランプ本体に埋設され支持ブラケットに対向する金属の補強板と、を備えている。補強板は、ランプ本体と支持ブラケットとの境界部に対向しているとともに樹脂が充填された開口を有している。
【選択図】図6
特許請求の範囲
【請求項1】
磁気ディスク装置のランプであって、
樹脂により一体に成形されたランプ本体および支持ブラケットと、前記ランプ本体に埋設され前記支持ブラケットに対向する金属の補強板と、を具備し、
前記補強板は、前記ランプ本体と前記支持ブラケットとの境界部に対向しているとともに前記樹脂が充填された開口を有している、
ランプ。
続きを表示(約 1,000 文字)
【請求項2】
前記補強板は、互い対向する一対の側辺を有し、前記開口は、一方の前記側辺に開口している、請求項1に記載のランプ。
【請求項3】
前記補強板は、互い対向する一対の側辺を有し、前記開口は、一方の前記側辺に間隔を置いて対向する側縁を有している、請求項1に記載のランプ。
【請求項4】
前記開口に対して垂直な方向から見た平面視において、前記開口の周縁と前記境界部との間隔は、ゼロより大きく任意の上限値よりも小さい、請求項1に記載のランプ。
【請求項5】
前記補強板は、それぞれ第1方向に延在し互いに対向する一対の側辺を有し、
前記支持ブラケットは、前記第1方向と交差する第2方向に沿って延在し、
平面視において、前記開口の周縁と前記境界部との間隔は、ゼロより大きく前記第1方向の前記支持ブラケットの厚さよりも小さい、請求項4に記載のランプ。
【請求項6】
前記境界部は、前記支持ブラケットの厚さ分だけ前記第1方向に延在している、請求項5に記載のランプ。
【請求項7】
回転自在な磁気ディスクと、
前記磁気ディスクに対してヘッドを移動可能に支持および駆動するアクチュエータと、
前記ヘッドを前記磁気ディスクの外側のアンロード位置に保持するランプと、を備え、
前記ランプは、樹脂により一体に成形されたランプ本体および支持ブラケットと、前記ランプ本体に埋設され前記支持ブラケットに対向する金属の補強板と、を具備し、
前記補強板は、前記ランプ本体と前記支持ブラケットとの境界部に対向しているとともに前記樹脂が充填された開口を有している、
磁気ディスク装置。
【請求項8】
前記補強板は、互い対向する一対の側辺を有し、前記開口は、一方の前記側辺に開口している、請求項7に記載の磁気ディスク装置。
【請求項9】
前記補強板は、互い対向する一対の側辺を有し、前記開口は、一方の前記側辺に間隔を置いて対向する側縁を有している、請求項7に記載の磁気ディスク装置。
【請求項10】
前記開口に対して垂直な方向から見た平面視において、前記開口の周縁と前記境界部との間隔は、ゼロより大きく任意の上限値よりも小さい、請求項7に記載の磁気ディスク装置。
(【請求項11】以降は省略されています)
発明の詳細な説明
【技術分野】
【0001】
この発明の実施形態は、ランプおよび磁気ディスク装置に関する。
続きを表示(約 2,500 文字)
【背景技術】
【0002】
磁気ディスク装置として、例えば、ハードディスクドライブ(HDD)は、回転自在に設けられた磁気ディスクと、磁気ディスクに対してデータの記録、読取りを行う磁気ヘッドと、を有している。磁気ヘッドは、ヘッドアクチュエータにより、磁気ディスク上のロード位置と、磁気ディスクの外側のアンロード位置との間を移動される。また、HDDは、アンロード位置に移動した磁気ヘッドを保持するランプを備えている。一般に、ランプは合成樹脂で成形されている。
【0003】
一方、近年、磁気ディスク装置の大容量化に伴い、搭載される磁気ディスクの枚数が増加する傾向にある。磁気ディスク枚数の増加に伴い、ランプも大型化する傾向にある。大型化した場合、補強のための金属の補強板をランプに埋め込むことがある。
ここで、樹脂と金属は線膨張係数が異なる。ランプが温度変化を受けると樹脂製のランプと金属補強板との間に膨張差が生じ、熱応力が発生する。そのため、繰り返しの温度変化により樹脂部分の角部にクラックが発生する可能性がある。クラックが発生すると、ランプの寸法がずれ、磁気ヘッドのロード、アンロード動作に支障をきたす場合がある。
【先行技術文献】
【特許文献】
【0004】
米国特許第6,424,501号明細書
特開2007-73168号公報
米国特許出願公開第2010/0226231号明細書
【発明の概要】
【発明が解決しようとする課題】
【0005】
この発明の実施形態の課題は、クラックの発生を抑制し、信頼性の向上を図ることが可能なランプおよびこれを備える磁気ディスク装置を提供することにある。
【課題を解決するための手段】
【0006】
実施形態によれば、磁気ディスク装置のランプは、樹脂により一体に成形されたランプ本体および支持ブラケットと、前記ランプ本体に埋設され前記支持ブラケットに対向する金属の補強板と、を具備している。前記補強板は、前記ランプ本体と前記支持ブラケットとの境界部に対向しているとともに前記樹脂が充填された開口を有している。
【図面の簡単な説明】
【0007】
図1は、トップカバーを分解して示す、第1実施形態に係るハードディスクドライブ(HDD)の分解斜視図。
図2は、前記HDDの平面図。
図3は、前記HDDにおける磁気ヘッド、サスペンション、磁気ディスクを概略的に示す側面図。
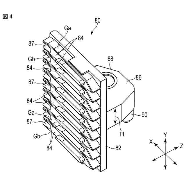
図4は、前記HDDのランプの正面側を示す斜視図。
図5は、前記ランプの背面側を示す斜視図。
図6は、前記ランプの背面側および補強板を示す斜視図。
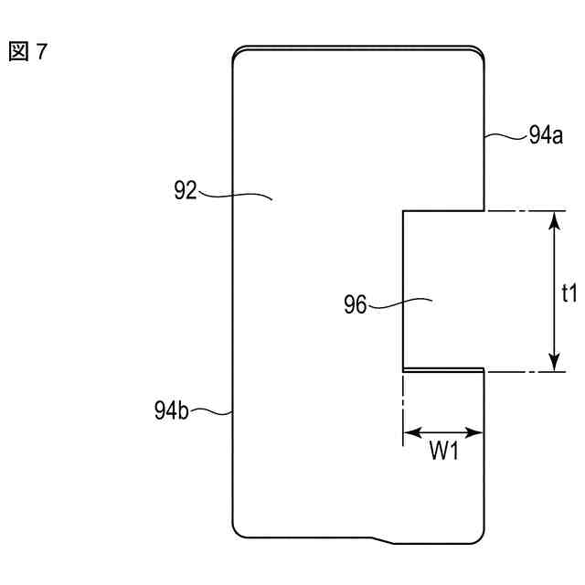
図7は、前記補強板の斜視図。
図8は、前記HDDの筐体のランプ設置部およびランプを示す斜視図。
図9は、前記ランプの一部を拡大して示す側面図。
図10は、第2実施形態に係るHDDにおけるランプの背面側および補強板を示す斜視図。
図11は、第2実施形態に係るHDDにおける前記補強板の斜視図。
【発明を実施するための形態】
【0008】
以下図面を参照しながら、実施形態に係る磁気ディスク装置について説明する。
なお、開示はあくまで一例にすぎず、当業者において、発明の主旨を保っての適宜変更であって容易に想到し得るものについては、当然に本発明の範囲に含有されるものである。また、図面は説明をより明確にするため、実際の態様に比べ、各部の大きさ、形状等について模式的に表される場合があるが、あくまで一例であって、本発明の解釈を限定するものではない。また、本明細書と各図において、既出の図に関して前述したものと同様の要素には、同一の符号を付して、詳細な説明を適宜省略することがある。
【0009】
(第1実施形態)
磁気ディスク装置として、第1実施形態に係るハードディスクドライブ(HDD)について詳細に説明する。図1は、カバーを分解して示す第1実施形態に係るHDDの分解斜視図、図2は、カバーを取外した状態のHDDの平面図である。
図1に示すように、HDDは、ほぼ矩形状の筐体10を備えている。筐体10は、上面の開口した矩形箱状のベース12と、複数のねじ13によりベース12にねじ止めされベース12の上部開口を閉塞するカバー(トップカバー)14と、を有している。ベース12は、カバー14と隙間を置いて対向する矩形状の底壁12aと、底壁12aの周縁に沿って立設された側壁12bとを有し、例えば、アルミニウム合金により一体に成形されている。側壁12bは、互いに対向する一対の長辺壁と互いに対向する一対の短辺壁とを含んでいる。カバー14は、例えば、ステンレスにより矩形板状に形成されている。カバー14は、その周縁部がねじ13により側壁12bの上面にねじ止めされる。
【0010】
筐体10内には、ディスク状の記録媒体として複数枚、例えば、9枚の磁気ディスク18、および磁気ディスク18を支持および回転させるスピンドルモータ19が設けられている。スピンドルモータ19は、底壁12a上に配設されている。各磁気ディスク18は、例えば、直径96mm(3.5インチ)の円板状に形成され、非磁性体、例えば、ガラスあるいはアルミニウムからなる基板と、基板の上面(第1面)および下面(第2面)に形成された磁気記録層とを有している。各磁気ディスク18は、スピンドルモータ19のハブに互いに同軸的に嵌合され、更に、クランプばね20によりクランプされている。これにより、磁気ディスク18は、ベース12の底壁12aと平行に位置した状態に支持されている。複数枚の磁気ディスク18は、スピンドルモータ19により所定の回転数で矢印B方向に回転される。なお、磁気ディスク18の搭載枚数は、9枚に限らず、8枚以下、あるいは、10枚以上としてもよい。
(【0011】以降は省略されています)
この特許をJ-PlatPat(特許庁公式サイト)で参照する
関連特許
株式会社東芝
センサ
2か月前
株式会社東芝
センサ
2か月前
株式会社東芝
端子台
1か月前
株式会社東芝
電子源
6日前
株式会社東芝
モータ
2か月前
株式会社東芝
除去装置
1か月前
株式会社東芝
金型構造
2か月前
株式会社東芝
電子回路
1か月前
株式会社東芝
吸音装置
2か月前
株式会社東芝
電子装置
1か月前
株式会社東芝
電子装置
2か月前
株式会社東芝
半導体装置
1か月前
株式会社東芝
真空バルブ
7日前
株式会社東芝
半導体装置
1か月前
株式会社東芝
半導体装置
7日前
株式会社東芝
半導体装置
1か月前
株式会社東芝
半導体装置
7日前
株式会社東芝
半導体装置
2か月前
株式会社東芝
半導体装置
2か月前
株式会社東芝
半導体装置
1か月前
株式会社東芝
真空バルブ
1か月前
株式会社東芝
半導体装置
1か月前
株式会社東芝
半導体装置
1か月前
株式会社東芝
半導体装置
2か月前
株式会社東芝
半導体装置
13日前
株式会社東芝
半導体装置
1か月前
株式会社東芝
半導体装置
1か月前
株式会社東芝
半導体装置
2か月前
株式会社東芝
半導体装置
1か月前
株式会社東芝
半導体装置
2か月前
株式会社東芝
半導体装置
2か月前
株式会社東芝
半導体装置
2か月前
株式会社東芝
真空バルブ
1か月前
株式会社東芝
真空バルブ
2日前
株式会社東芝
半導体装置
1か月前
株式会社東芝
半導体装置
6日前
続きを見る
他の特許を見る