TOP
|
特許
|
意匠
|
商標
特許ウォッチ
Twitter
他の特許を見る
公開番号
2025162397
公報種別
公開特許公報(A)
公開日
2025-10-27
出願番号
2024065669
出願日
2024-04-15
発明の名称
半導体装置及びその製造方法
出願人
株式会社東芝
,
東芝デバイス&ストレージ株式会社
代理人
弁理士法人iX
主分類
H10D
30/66 20250101AFI20251020BHJP()
要約
【課題】オン抵抗を低減可能な半導体装置及びその製造方法を提供する。
【解決手段】実施形態に係る半導体装置は、第1電極、第1導電形の第1半導体領域、第1導電形の第2半導体領域、導電部、ゲート電極、及び第2電極を備える。第1半導体領域は、第1部分を含む。第2半導体領域は、第1部分の上に設けられる。ゲート電極は、第2方向において、ゲート絶縁層を介して第1部分と対面する。第2電極は、第2方向において第1部分及び第2半導体領域と並ぶ第1電極部分と、ゲート電極の上に絶縁層を介して設けられた第2電極部分と、を含む。第1部分は、第1電極部分とゲート電極との間に位置する。第2半導体領域は、第1電極部分と第2電極部分との間に位置する。第2電極は、導電部と電気的に接続され、白金、コバルト、及びニッケルからなる群より選択される1つ以上を含む。
【選択図】図1
特許請求の範囲
【請求項1】
第1電極と、
第1部分を含み、前記第1電極の上に設けられた第1導電形の第1半導体領域と、
前記第1部分の上に設けられ、前記第1半導体領域よりも高い第1導電形の不純物濃度を有する第1導電形の第2半導体領域と、
前記第1半導体領域の中に第1絶縁部を介して設けられた導電部と、
前記導電部の上に第2絶縁部を介して設けられ、前記第1電極から前記第1半導体領域へ向かう第1方向に垂直な第2方向において、ゲート絶縁層を介して前記第1部分と対面するゲート電極と、
前記第2方向において前記第1部分及び前記第2半導体領域と並ぶ第1電極部分と、前記ゲート電極の上に絶縁層を介して設けられた第2電極部分と、を含み、前記第1部分が前記第1電極部分と前記ゲート電極との間に位置し、前記第2半導体領域が前記第1電極部分と前記第2電極部分との間に位置し、前記導電部と電気的に接続され、白金、コバルト、及びニッケルからなる群より選択される1つ以上を含む第2電極と、
を備えた半導体装置。
続きを表示(約 1,600 文字)
【請求項2】
前記絶縁層は、第1絶縁部分と、前記第1方向において前記第1絶縁部分と前記第2半導体領域との間に位置する第2絶縁部分と、を含み、
前記第2絶縁部分の前記第1方向における厚さは、前記第1絶縁部分の前記第1方向における厚さよりも小さい、請求項1に記載の半導体装置。
【請求項3】
前記第2半導体領域の上部の前記第2方向における長さは、前記第2半導体領域の下部の前記第2方向における長さよりも短い、請求項1に記載の半導体装置。
【請求項4】
前記第2方向において互いに離れた一対の前記第1部分が設けられ、
前記一対の第1部分の上に、それぞれ、一対の前記第2半導体領域が設けられ、
前記第1電極部分は、前記一対の第1部分の間、及び前記一対の第2半導体領域の間に位置する、請求項1~3のいずれか1つに記載の半導体装置。
【請求項5】
第1電極と、
第1部分を含み、前記第1電極の上に設けられた第1導電形の第1半導体領域と、
前記第1部分の上に設けられ、前記第1半導体領域よりも高い第1導電形の不純物濃度を有する第1導電形の第2半導体領域と、
前記第1電極から前記第1半導体領域へ向かう第1方向に垂直な第2方向において、ゲート絶縁層を介して前記第1部分と対面するゲート電極と、
前記第2方向において前記第1部分及び前記第2半導体領域と並ぶ第1電極部分と、前記ゲート電極の上に絶縁層を介して設けられた第2電極部分と、を含み、前記第1部分が前記第1電極部分と前記ゲート電極との間に位置し、前記第2半導体領域が前記第1電極部分と前記第2電極部分との間に位置する第2電極と、
を備えた半導体装置。
【請求項6】
前記第1半導体領域と前記第1電極部分との間には、ショットキー接合が形成されている、請求項5に記載の半導体装置。
【請求項7】
前記第1半導体領域及び前記第2半導体領域は、炭化シリコン又は窒化ガリウムを含み、
前記第2電極は、白金及びニッケルからなる群より選択される1つ以上を含む、請求項5又は6に記載の半導体装置。
【請求項8】
第1部分と、前記第1部分の上に設けられた第2部分と、を含む第1導電形の第1半導体領域と、
前記第1半導体領域の中に第1絶縁部を介して設けられた導電部と、
前記導電部の上に第2絶縁部を介して設けられたゲート電極であって、前記導電部から前記ゲート電極へ向かう第1方向に垂直な第2方向においてゲート絶縁層を介して前記第1部分と対面する前記ゲート電極と、
前記ゲート電極の上に設けられ、前記第2方向において前記第2部分と並ぶ絶縁層と、
を含む構造体に対して、前記第1部分及び前記第2部分を残すように、前記第1半導体領域のうち前記第2方向において前記ゲート絶縁層から離れた部分を除去し、
前記絶縁層の上面を後退させることで、前記第2部分の側面を露出させ、
前記第1半導体領域及び前記絶縁層の上に、白金、コバルト、及びニッケルからなる群より選択される1つ以上を含有する電極を形成する、半導体装置の製造方法。
【請求項9】
前記第2部分の側面を露出させた後、前記電極の形成前に、前記第2部分に第1導電形の不純物をイオン注入し、前記第1半導体領域よりも高い第1導電形の不純物濃度を有する第1導電形の第2半導体領域を形成する、請求項8に記載の半導体装置の製造方法。
【請求項10】
前記絶縁層の上面を後退させた後、前記絶縁層は、第1絶縁部分と、前記第1方向において前記第1絶縁部分と前記第2半導体領域との間に位置する第2絶縁部分と、を含み、
前記第2絶縁部分の前記第1方向における厚さは、前記第1絶縁部分の前記第1方向における厚さよりも小さい、請求項9に記載の半導体装置の製造方法。
発明の詳細な説明
【技術分野】
【0001】
本発明の実施形態は、半導体装置及びその製造方法に関する。
続きを表示(約 2,300 文字)
【背景技術】
【0002】
Metal-Oxide-Semiconductor Field Effect Transistor(MOSFET)などの半導体装置は、電力変換等の用途に用いられる。半導体装置のオン抵抗は、小さいことが望ましい。
【先行技術文献】
【特許文献】
【0003】
特表2008-536316号公報
【発明の概要】
【発明が解決しようとする課題】
【0004】
本発明が解決しようとする課題は、オン抵抗を低減可能な半導体装置及びその製造方法を提供することである。
【課題を解決するための手段】
【0005】
実施形態に係る半導体装置は、第1電極と、第1導電形の第1半導体領域と、第1導電形の第2半導体領域と、導電部と、ゲート電極と、第2電極と、を備える。前記第1半導体領域は、第1部分を含み、前記第1電極の上に設けられている。前記第2半導体領域は、前記第1部分の上に設けられ、前記第1半導体領域よりも高い第1導電形の不純物濃度を有する。前記導電部は、前記第1半導体領域の中に第1絶縁部を介して設けられている。前記ゲート電極は、前記導電部の上に第2絶縁部を介して設けられている。前記ゲート電極は、前記第1電極から前記第1半導体領域へ向かう第1方向に垂直な第2方向において、ゲート絶縁層を介して前記第1部分と対面する。前記第2電極は、前記第2方向において前記第1部分及び前記第2半導体領域と並ぶ第1電極部分と、前記ゲート電極の上に絶縁層を介して設けられた第2電極部分と、を含む。前記第1部分は、前記第1電極部分と前記ゲート電極との間に位置する。前記第2半導体領域は、前記第1電極部分と前記第2電極部分との間に位置する。前記第2電極は、前記導電部と電気的に接続され、白金、コバルト、及びニッケルからなる群より選択される1つ以上を含む。
【図面の簡単な説明】
【0006】
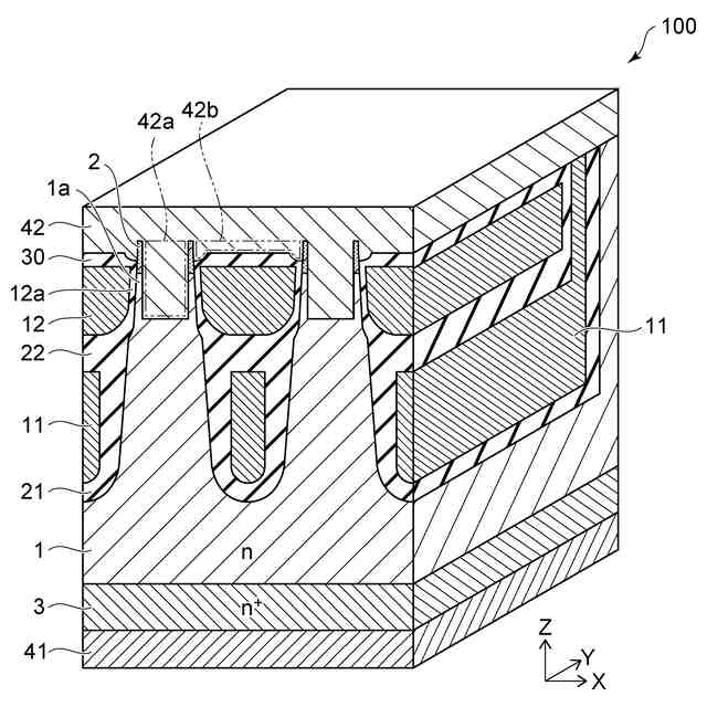
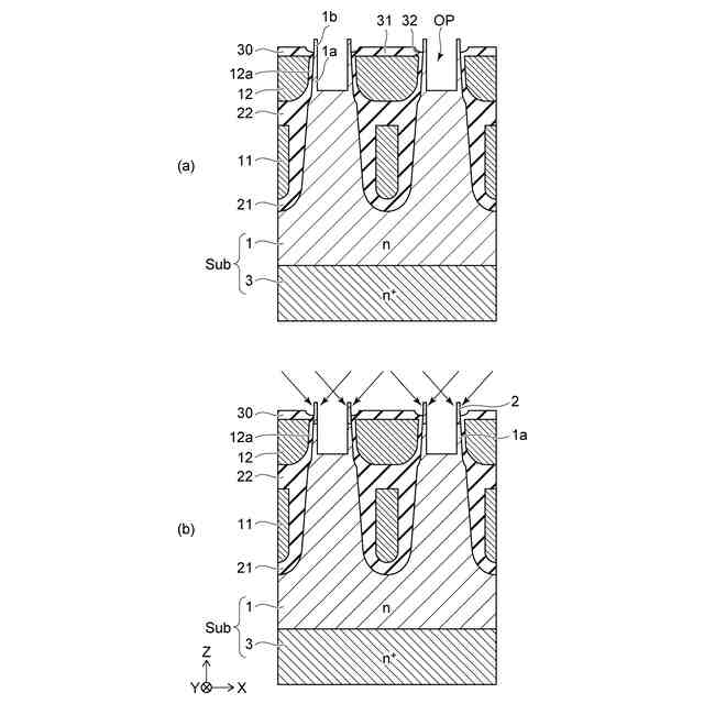
図1は、第1実施形態に係る半導体装置を示す斜視断面図である。
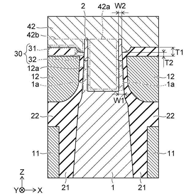
図2は、図1に一部を拡大した断面図である。
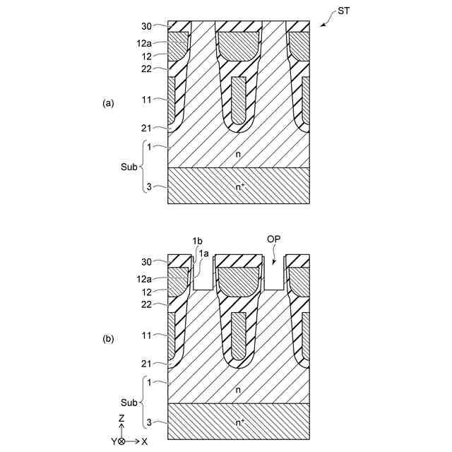
図3(a)及び図3(b)は、第1実施形態に係る半導体装置の製造方法を示す断面図である。
図4(a)及び図4(b)は、第1実施形態に係る半導体装置の製造方法を示す断面図である。
図5(a)及び図5(b)は、第1実施形態に係る半導体装置の製造方法を示す断面図である。
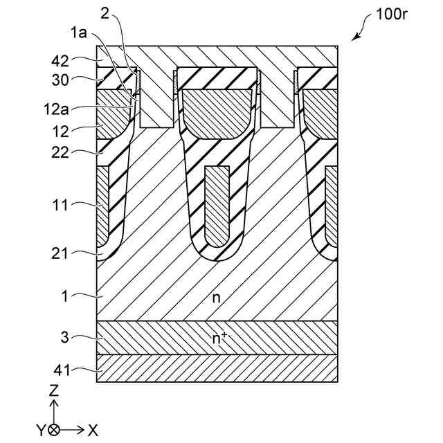
図6は、参考例に係る半導体装置を示す断面図である。
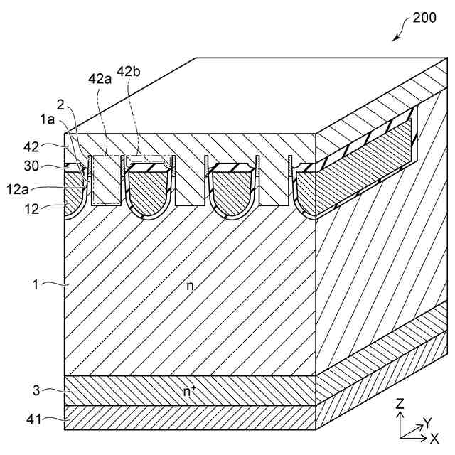
図7は、第2実施形態に係る半導体装置を示す斜視断面図である。
【発明を実施するための形態】
【0007】
以下に、本発明の各実施形態について図面を参照しつつ説明する。図面は模式的または概念的なものであり、各部分の厚みと幅との関係、部分間の大きさの比率などは、必ずしも現実のものと同一とは限らない。また、同じ部分を表す場合であっても、図面により互いの寸法や比率が異なって表される場合もある。本願明細書と各図において、既に説明したものと同様の要素には同一の符号を付して詳細な説明は適宜省略する。
以下の説明において、n
+
、nの表記は、各導電形における不純物濃度の相対的な高低を表す。すなわち、n
+
はnよりもn形の不純物濃度が相対的に高いことを示す。以下で説明する各実施形態は、各半導体領域の導電形をp形に反転させて実施してもよい。
【0008】
(第1実施形態)
図1は、第1実施形態に係る半導体装置を示す斜視断面図である。
図1に示すように、第1実施形態に係る半導体装置100は、n形(第1導電形)ドリフト領域1(第1半導体領域)、n
+
形ソース領域2(第2半導体領域)、n
+
形ドレイン領域3、導電部11、ゲート電極12、ゲート絶縁層12a、第1絶縁部21、第2絶縁部22、絶縁層30、ドレイン電極41(第1電極)、及びソース電極42(第2電極)を備える。半導体装置100は、MOSFETである。
【0009】
実施形態の説明では、XYZ直交座標系を用いる。ドレイン電極41からn形ドリフト領域1に向かう方向をZ方向(第1方向)とする。Z方向に対して垂直であり、相互に直交する二方向をX方向(第2方向)及びY方向とする。また、説明のために、ドレイン電極41からn形ドリフト領域1に向かう方向を「上」と言い、その反対方向を「下」と言う。これらの方向は、ドレイン電極41とn形ドリフト領域1との相対的な位置関係に基づき、重力の方向とは無関係である。
【0010】
ドレイン電極41は、半導体装置100の下部に設けられている。n
+
形ドレイン領域3は、ドレイン電極41の上に設けられ、ドレイン電極41と電気的に接続されている。n形ドリフト領域1は、n
+
形ドレイン領域3の上に設けられている。n形ドリフト領域1におけるn形不純物濃度は、n
+
形ドレイン領域3におけるn形不純物濃度よりも低い。n形ドリフト領域1は、第1部分1aを含む。n
+
形ソース領域2は、第1部分1aの上に設けられている。n
+
形ソース領域2におけるn形不純物濃度は、n形ドリフト領域1におけるn形不純物濃度よりも高い。
(【0011】以降は省略されています)
この特許をJ-PlatPat(特許庁公式サイト)で参照する
関連特許
個人
積和演算用集積回路
1か月前
サンケン電気株式会社
半導体装置
1か月前
旭化成株式会社
発光素子
1か月前
日機装株式会社
半導体発光装置
27日前
ローム株式会社
半導体装置
11日前
ローム株式会社
抵抗チップ
1か月前
三菱電機株式会社
半導体装置
6日前
株式会社東芝
半導体装置
19日前
株式会社半導体エネルギー研究所
表示装置
11日前
三菱電機株式会社
半導体装置
1か月前
三菱電機株式会社
半導体装置
19日前
三菱電機株式会社
半導体装置
今日
富士電機株式会社
半導体装置
1か月前
日亜化学工業株式会社
発光装置
1か月前
ローム株式会社
半導体集積回路
1か月前
富士電機株式会社
半導体装置の製造方法
1か月前
株式会社半導体エネルギー研究所
発光デバイス
1か月前
ローム株式会社
窒化物半導体装置
1か月前
サンケン電気株式会社
半導体装置
19日前
ローム株式会社
半導体装置
4日前
ローム株式会社
半導体装置
1か月前
ローム株式会社
半導体装置
1か月前
ローム株式会社
半導体装置
1か月前
株式会社半導体エネルギー研究所
発光デバイス
27日前
日亜化学工業株式会社
発光素子
1か月前
大日本印刷株式会社
太陽電池
1か月前
新電元工業株式会社
半導体素子
4日前
新電元工業株式会社
半導体素子
4日前
新電元工業株式会社
半導体素子
4日前
ローム株式会社
光センサ
1か月前
日亜化学工業株式会社
発光装置
1か月前
ローム株式会社
半導体装置
19日前
日本ゼオン株式会社
構造体
1か月前
日亜化学工業株式会社
発光素子
1か月前
日亜化学工業株式会社
発光装置
1か月前
今泉工業株式会社
光発電装置及びその製造方法
1か月前
続きを見る
他の特許を見る