TOP
|
特許
|
意匠
|
商標
特許ウォッチ
Twitter
他の特許を見る
10個以上の画像は省略されています。
公開番号
2025160678
公報種別
公開特許公報(A)
公開日
2025-10-23
出願番号
2024063380
出願日
2024-04-10
発明の名称
羽根開閉装置、およびドアスコープ
出願人
ニデックプレシジョン株式会社
代理人
弁理士法人筒井国際特許事務所
主分類
E06B
7/30 20060101AFI20251016BHJP(戸,窓,シャッタまたはローラブラインド一般;はしご)
要約
【課題】羽根開閉装置を備えるドアスコープを提供する。
【解決手段】羽根開閉装置50は、筐体と、筐体の第1面に設けられた第1孔部と、筐体の第1面と反対側の第2面に設けられた第2孔部と、を有するドアスコープ内に設けられる。羽根開閉装置50は、羽根52と、羽根を第1孔部と第2孔部との間を塞ぐ第1位置、または、第1孔部と第2孔部との間を塞がない第2位置に位置させるアクチュエータ51と、を備える。
【選択図】図6
特許請求の範囲
【請求項1】
筐体と、
前記筐体の第1面に設けられた第1孔部と、
前記筐体の前記第1面と反対側の第2面に設けられた第2孔部と、を有するドアスコープ内に設けられ、
羽根と、
前記羽根を前記第1孔部と前記第2孔部との間を塞ぐ第1位置、または、前記第1孔部と前記第2孔部との間を塞がない第2位置に位置させる駆動部と、
を備える、羽根開閉装置。
続きを表示(約 1,100 文字)
【請求項2】
請求項1に記載の羽根開閉装置において、
前記ドアスコープは、室内と室外とを隔てるドアのレンズ部に前記第1孔部、および前記第2孔部が位置されるように、かつ、前記第1面が前記室内側を向き、前記第2面が前記室外側を向くように前記ドアに設けられた、
羽根開閉装置。
【請求項3】
請求項2に記載の羽根開閉装置において、
前記室内側から第1物体が近づいたか否かを非接触で検出する近接センサをさらに備え、
前記近接センサにより前記第1物体が検出された場合、前記駆動部は、前記羽根を前記第1位置から前記第2位置に位置させる、
羽根開閉装置。
【請求項4】
請求項2または3に記載の羽根開閉装置において、
前記室外側から第2物体が近づいたか否かを非接触で検出する光センサをさらに備え、
前記光センサにより前記第2物体が検出された場合、前記駆動部は、前記羽根を前記第1位置に位置させる、
羽根開閉装置。
【請求項5】
請求項2に記載の羽根開閉装置において、
前記室外側から第2物体が近づいたか否かを非接触で検出する光センサと、
前記光センサにより前記第2物体が検出された場合、威嚇処理を行う威嚇処理部と、をさらに備えた、
羽根開閉装置。
【請求項6】
請求項5に記載の羽根開閉装置において、
前記威嚇処理部は、前記駆動部であり、
前記駆動部は、前記第1孔部と前記第2孔部との間が塞がれた状態を維持しつつ前記羽根を振動させる、
羽根開閉装置。
【請求項7】
請求項6に記載の羽根開閉装置において、
前記光センサの位置を調整可能なスライダ部を備え、
前記スライダ部は、前記光センサを含み、
前記スライダ部の位置は、前記ドアスコープの設置時の前記光センサが光を検出する当初位置から光を検出しなくなる調整位置まで調整され、
前記駆動部は、前記調整位置において、前記第2物体が検出された場合、前記駆動部は、前記第1孔部と前記第2孔部との間が塞がれた状態を維持しつつ前記羽根を振動させる、
羽根開閉装置。
【請求項8】
第1面に設けられた第1孔部と、前記第1面と反対側の第2面に設けられた第2孔部とを有する筐体と、
羽根と、前記羽根を前記第1孔部と前記第2孔部との間を塞ぐ第1位置、または、前記第1孔部と前記第2孔部との間を塞がない第2位置に位置させる駆動部とを有する羽根開閉装置と、
を備える、ドアスコープ。
発明の詳細な説明
【技術分野】
【0001】
本発明は、羽根開閉装置、およびドアスコープに関する。
続きを表示(約 1,800 文字)
【背景技術】
【0002】
特許文献1には、所謂フラッシュドアと呼ばれている2枚板の厚みのあるダブルドア用の防犯レンズの外筒に防犯レンズ用カバーを取り付け、防犯レンズカバーに含まれるカバー片を回転させ、防犯レンズを塞ぐ旨が記載されている。
【先行技術文献】
【特許文献】
【0003】
特開2004-100455号公報
【発明の概要】
【発明が解決しようとする課題】
【0004】
特許文献1に記載の技術では、カバー片の回転が手動で行われるため、カバー片の開閉を行う手間が必要になる。また、例えば、室外を視認しようとする居住者の手が塞がっているなど手が自由に使用できない場合には、居住者は室外を覗きたくてもカバー片を回転させることできないため、アクセスシビリティの観点からも上記技術は十分ではない。
【課題を解決するための手段】
【0005】
一実施の形態の羽根開閉装置は、筐体と、前記筐体の第1面に設けられた第1孔部と、前記筐体の前記第1面と反対側の第2面に設けられた第2孔部と、を有するドアスコープ内に設けられ、羽根と、前記羽根を前記第1孔部と前記第2孔部との間を塞ぐ第1位置、または、前記第1孔部と前記第2孔部との間を塞がない第2位置に位置させる駆動部と、を備える。
【0006】
一実施の形態のドアスコープは、第1面に設けられた第1孔部と、前記第1面と反対側の第2面に設けられた第2孔部とを有する筐体と、羽根と、前記羽根を前記第1孔部と前記第2孔部との間を塞ぐ第1位置、または、前記第1孔部と前記第2孔部との間を塞がない第2位置に位置させる駆動部とを有する羽根開閉装置と、を備える。
【発明の効果】
【0007】
本実施の形態によれば、プライバシーを保護しつつアクセスシビリティを向上させることができる。
【図面の簡単な説明】
【0008】
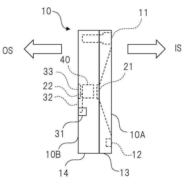
図1は、ドアに設置されたドアスコープの一例を示す図である。
図2は、ドアスコープの正面の一例を示す図である。
図3は、ドアスコープの側面の一例を示す図である。
図4は、ドアスコープの背面の一例を示す図である。
図5は、ドアスコープの内部構造の一例を示す図である。
図6は、羽根開閉装置を含むドアスコープの主要な制御構成の一例を示す図である。
図7Aは、アクチュエータの動作の一例を模式的に示す平面図である。
図7Bは、アクチュエータの動作の一例を模式的に示す平面図である。
図8Aは、羽根の位置の一例を模式的に示す平面図である。
図8Bは、羽根の位置の一例を模式的に示す平面図である。
図9は、アクチュエータのコイルへの通電制御の一例を示す図である。
図10は、振動時のアクチュエータのコイルへの通電制御の一例を示す図である。
図11は、ドアスコープをドアに設置する場合の光センサの位置を調整する作業を説明するための図である。
図12は、室内側からドアスコープに居住者が近づいた場合の処理の一例を示すフローチャートである。
図13は、室外からプライバシーを侵害しようとする訪問者に対して実行する処理の一例を示すフローチャートである。
図14は、レンズ部を介して室外から入射される光束の一例を模式的に示す図である。
図15は、単眼レンズがレンズ部に重ねられた場合に、レンズ部を介して室外から入射される光束の一例を模式的に示す図である。
図16は、光路変更により変更された光束領域の一例を示す図である。
【発明を実施するための形態】
【0009】
以下、本発明の実施の形態を図面に基づいて詳細に説明する。なお、以下の説明において、同一または実質的に同一の構成や要素については、同一の符号を付して繰り返しの説明を省略する。
【0010】
図1は、ドア101に設置されたドアスコープ10の一例を示す図である。ドア101は、例えば、マンション、アパートなどに設けられ、室内と室外とを隔てる。図示の矢印ISは、室内側を示しており、図示の矢印OSは、室外側を示している。以下では、室内側を室内側IS、室外側を室外側OSと称する。
(【0011】以降は省略されています)
この特許をJ-PlatPat(特許庁公式サイト)で参照する
関連特許
株式会社ナカオ
作業台
1か月前
株式会社ニチベイ
遮蔽装置
1日前
三協立山株式会社
開口部装置
2か月前
三協立山株式会社
開口部装置
2か月前
三協立山株式会社
開口部装置
24日前
三協立山株式会社
開口部装置
1か月前
三協立山株式会社
開口部装置
1か月前
文化シヤッター株式会社
引戸装置
14日前
不二サッシ株式会社
引違いサッシ
23日前
文化シヤッター株式会社
止水装置
23日前
不二サッシ株式会社
引違いサッシ
1か月前
豊田合成株式会社
調光装置
16日前
株式会社LIXIL
太陽電池ガラス
1か月前
三協立山株式会社
サッシの製造方法
1か月前
株式会社LIXIL
建具
1か月前
株式会社LIXIL
建具
1か月前
倉敷紡績株式会社
外構ユニット
22日前
株式会社LIXIL
建具
21日前
株式会社LIXIL
建具
1か月前
株式会社LIXIL
建具
29日前
株式会社LIXIL
建具
29日前
株式会社LIXIL
建具
1か月前
株式会社LIXIL
建具
29日前
株式会社LIXIL
建具
29日前
株式会社LIXIL
建具
29日前
株式会社LIXIL
建具
29日前
株式会社LIXIL
建具
28日前
株式会社LIXIL
建具
1か月前
株式会社ニチベイ
ロールスクリーン
1か月前
三和シヤッター工業株式会社
制御システム
22日前
清水建設株式会社
化粧カバー
1か月前
株式会社ニチベイ
ブラインド用カバー装置
17日前
三和シヤッター工業株式会社
枠構造
1か月前
ソムフィ株式会社
電動開閉部制御ユニット
1か月前
大建工業株式会社
ドア
1か月前
株式会社佐原
換気装置
24日前
続きを見る
他の特許を見る