TOP
|
特許
|
意匠
|
商標
特許ウォッチ
Twitter
他の特許を見る
10個以上の画像は省略されています。
公開番号
2025147586
公報種別
公開特許公報(A)
公開日
2025-10-07
出願番号
2024047905
出願日
2024-03-25
発明の名称
換気装置
出願人
株式会社佐原
代理人
弁理士法人湧泉特許事務所
主分類
E06B
7/04 20060101AFI20250930BHJP(戸,窓,シャッタまたはローラブラインド一般;はしご)
要約
【課題】磁石を用いた換気装置を提供する。
【解決手段】
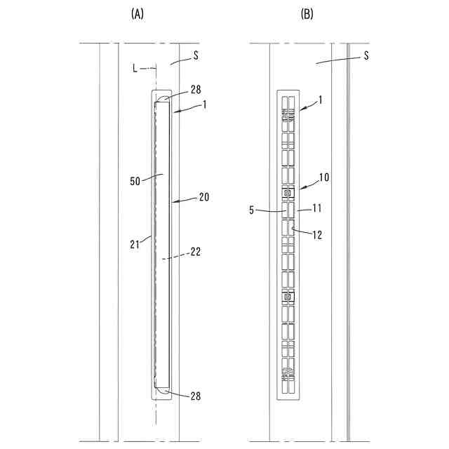
換気装置は、換気通路5を有する装置本体1と、装置本体1に回転可能に支持され換気通路5の室内側開口22を開閉する蓋50と、主磁力保持手段60と、副磁力保持手段70を備えている。主磁力保持手段は、蓋50の回転軸線Lの近傍において、装置本体1に配置された磁石61(第1磁界形成体)と、蓋50に配置された鉄心62(第2磁界形成体)とを有する。鉄心62は、磁石61に磁着された状態で回転軸線Lを中心に回転可能かつ室内方向に離脱可能である。これにより蓋50は、装置本体1に対して開閉可能かつ着脱可能である。副磁力保持手段70は、装置本体1内に配置された鉄心71(第3磁界形成体)と、蓋の室外側の面に配置された磁石72(第4磁界形成体)とを有し、蓋50が閉じ位置にあるとき、磁石72が鉄心71に磁着する。
【選択図】 図8
特許請求の範囲
【請求項1】
換気通路を有する装置本体と、
一方の側縁部又はその近傍を通る回転軸線を中心に前記装置本体に回転可能に支持され、前記換気通路の室内側開口を開閉する蓋と、
前記装置本体と前記蓋との間に働く磁力により、前記蓋を前記装置本体に対して前記回転軸線を中心に回転可能かつ着脱可能に保持する磁力保持手段と、
を備えたことを特徴とする換気装置。
続きを表示(約 1,600 文字)
【請求項2】
前記磁力保持手段は少なくとも主磁力保持手段を含み、前記主磁力保持手段は、前記回転軸線の近傍において、前記装置本体に配置された第1磁界形成体と前記蓋に配置された第2磁界形成体とを有し、前記第1、第2磁界形成体の少なくとも一方が磁石により形成され、
前記第2磁界形成体は、前記第1磁界形成体に磁着された状態で前記第1磁界形成体に対して、前記回転軸線を中心に回転可能かつ室内方向に離脱可能であることを特徴とする請求項1に記載の換気装置。
【請求項3】
前記第1磁界形成体が磁石からなり、室内に臨む受面を有し、
前記第2磁界形成体が前記回転軸線に沿って延びる鉄心からなり、前記鉄心の外周の一部が前記磁石の前記受面に磁着されることを特徴とする請求項2に記載の換気装置。
【請求項4】
さらに、前記蓋の所定角度の開き位置を維持する開き位置維持手段を備え、
前記開き位置維持手段が、前記蓋の回転軸線側の側縁部に形成された傾斜面と含み、
前記蓋が前記所定角度の開き位置にあるとき、前記主磁力保持手段の磁力により、前記傾斜面が、前記装置本体の室内側の面または当該室内側の面に貼り付けられたパッキンを押し付けることを特徴とする請求項2に記載の換気装置。
【請求項5】
さらに、前記蓋の所定角度の開き位置を維持する開き位置維持手段を備え、
前記開き位置維持手段は、前記蓋の前記回転軸線側の一側部に形成され前記装置本体に向かって突出する支持凸部と、前記装置本体の室内を向く面に形成され前記支持凸部を受け入れる保持凹部とを有し、
前記支持凸部の外周と前記保持凹部の内周は、前記蓋が前記所定角度の開き位置にあるとき、前記主磁力保持手段の磁力により前記支持凸部の回転を規制するカム形状を有していることを特徴とする請求項2に記載の換気装置。
【請求項6】
磁力保持手段はさらに副磁力保持手段を含み、前記副磁力保持手段は、前記装置本体内に配置された第3磁界形成体と、前記蓋の室外側の面に配置された第4磁界形成体とを有し、前記第3、第4磁界形成体の少なくとも一方は磁石により形成され、
前記蓋が閉じ位置にあるとき、前記第3、第4磁界形成体が磁着することを特徴とする請求項2に記載の換気装置。
【請求項7】
前記装置本体の内部には、フィルタが着脱可能に収容されるとともに、前記フィルタを室内側から押さえるフィルタ押さえが着脱可能に収容されており、前記フィルタ押さえに前記第3磁界形成体が設けられていることを特徴とする請求項6に記載の換気装置。
【請求項8】
前記装置本体の室内側の面に前記室内側開口を囲むようにしてパッキンが配置され、前記蓋が閉じ位置にあるとき、前記副磁力保持手段の磁力により、前記蓋が前記パッキンに押し付けられることを特徴とする請求項6に記載の換気装置。
【請求項9】
前記装置本体と前記蓋は細長く形成されており、前記蓋の長手方向両端部に、それぞれ前記主磁力保持手段が配置され、前記装置本体の室内側の面には、前記蓋の長手方向両端縁の少なくとも一方の端縁に隣接して、指掛け用の凹部が形成されていることを特徴とする請求項2に記載の換気装置。
【請求項10】
前記装置本体は、室外側本体と室内側本体とを有し、前記室外側本体がサッシ戸の框の室外側の壁に形成された穴に挿入され、前記室内側本体が前記框の室内側の壁に形成された穴に挿入され、前記室外側本体と前記室内側本体が前記框を挟むようにして連結されることにより、前記装置本体が前記框に取り付けられることを特徴とする請求項1に記載の換気装置。
(【請求項11】以降は省略されています)
発明の詳細な説明
【技術分野】
【0001】
本発明は、磁石を用いて蓋を開閉可能かつ着脱可能に保持する換気装置に関する。
続きを表示(約 1,800 文字)
【背景技術】
【0002】
サッシ戸に設置される換気装置は、例えば特許文献1に開示されているように、換気通路を有する装置本体内に作動板を配置し、この作動板を装置本体に設けた操作部によりスライド操作して換気通路を開閉するようになっている。
【先行技術文献】
【特許文献】
【0003】
特開2017-71933号公報
【発明の開示】
【発明が解決しようとする課題】
【0004】
特許文献1の換気装置では、換気装置の室内側の面に多数の通気口が露出しており、良好な外観が得られない。また、内部の清掃等のメンテナンスを行う際には換気装置を分解する必要があるため、手間がかかる。
【課題を解決するための手段】
【0005】
本発明は、上記課題を解決するためになされたものであり、換気装置において、換気通路を有する装置本体と、一方の側縁部又はその近傍を通る回転軸線を中心に前記装置本体に回転可能に支持され、前記換気通路の室内側開口を開閉する蓋と、前記装置本体と前記蓋との間に働く磁力により、前記蓋を前記装置本体に対して前記回転軸線を中心に回転可能かつ着脱可能に保持する磁力保持手段と、を備えたことを特徴とする。
この構成によれば、蓋が閉じられた状態では、蓋により室内側の通気構造が隠されるため外観も良い。また、蓋を磁力保持手段の磁力に抗して簡単に取り外すことができ、室内側開口を露出させた状態で換気装置の内部のメンテナンスを簡単に行うことができる。
【0006】
前記磁力保持手段は少なくとも主磁力保持手段を含み、前記主磁力保持手段は、前記回転軸線の近傍において、前記装置本体に配置された第1磁界形成体と前記蓋に配置された第2磁界形成体とを有し、前記第1、第2磁界形成体の少なくとも一方が磁石により形成され、前記第2磁界形成体は、前記第1磁界形成体に磁着された状態で前記第1磁界形成体に対して、前記回転軸線を中心に回転可能かつ室内方向に離脱可能である。
この構成によれば、主磁力保持手段により、蓋を装置本体に対して回転可能かつ離脱可能に保持することができる、
【0007】
前記第1磁界形成体が磁石からなり、室内に臨む受面を有し、前記第2磁界形成体が前記回転軸線に沿って延びる鉄心からなり、前記鉄心の外周の一部が前記磁石の前記受面に磁着される。
この構成によれば、装置本体側の磁石と蓋側の鉄心により、蓋の回転を円滑に行うことができる。
【0008】
さらに、前記蓋の所定角度の開き位置を維持する開き位置維持手段を備え、前記開き位置維持手段が、前記蓋の回転軸線側の側縁部に形成された傾斜面と含み、前記蓋が前記所定角度の開き位置にあるとき、前記主磁力保持手段の磁力により、前記傾斜面が、前記装置本体の室内側の面または当該室内側の面に貼り付けられたパッキンを押し付ける。
この構成によれば、蓋の取り外し機能を損なうことなく、簡単な構成により蓋の開き位置を維持することができる。
【0009】
さらに、前記蓋の所定角度の開き位置を維持する開き位置維持手段を備え、前記開き位置維持手段は、前記蓋の前記回転軸線側の一側部に形成され前記装置本体に向かって突出する支持凸部と、前記装置本体の室内を向く面に形成され前記支持凸部を受け入れる保持凹部とを有し、前記支持凸部の外周と前記保持凹部の内周は、前記蓋が前記所定角度の開き位置にあるとき、前記主磁力保持手段の磁力により前記支持凸部の回転を規制するカム形状を有している。
この構成によれば、蓋の取り外し機能を損なうことなく、簡単な構成により蓋の開き位置を維持することができる。
【0010】
磁力保持手段はさらに副磁力保持手段を含み、前記副磁力保持手段は、前記装置本体内に配置された第3磁界形成体と、前記蓋の室外側の面に配置された第4磁界形成体とを有し、前記第3、第4磁界形成体の少なくとも一方は磁石により形成され、前記蓋が閉じ位置にあるとき、前記第3、第4磁界形成体が磁着する。
この構成によれば、副磁力保持手段により蓋の閉じ状態を確実に維持することができる。
(【0011】以降は省略されています)
この特許をJ-PlatPat(特許庁公式サイト)で参照する
関連特許
株式会社佐原
換気装置
27日前
株式会社佐原
換気装置
3か月前
株式会社ナカオ
作業台
1か月前
株式会社ESP
止水板
2か月前
中国電力株式会社
脚立
2か月前
三協立山株式会社
構造体
4か月前
株式会社ニチベイ
遮蔽装置
4日前
三協立山株式会社
開口部装置
2か月前
三協立山株式会社
開口部装置
1か月前
三協立山株式会社
開口部装置
27日前
三協立山株式会社
開口部装置
1か月前
三協立山株式会社
開口部装置
2か月前
三協立山株式会社
開口部装置
2か月前
ミサワホーム株式会社
水切り材
2か月前
不二サッシ株式会社
引違いサッシ
26日前
不二サッシ株式会社
引違いサッシ
1か月前
株式会社ニチベイ
縦型ブラインド
3か月前
文化シヤッター株式会社
引戸装置
17日前
株式会社TJMデザイン
脚立用ホルダー
3か月前
豊田合成株式会社
調光装置
19日前
文化シヤッター株式会社
止水装置
26日前
三協立山株式会社
サッシの製造方法
1か月前
株式会社LIXIL
太陽電池ガラス
1か月前
永大産業株式会社
開閉構造体
4か月前
株式会社LIXIL
建具
1か月前
株式会社LIXIL
建具
1か月前
株式会社LIXIL
建具
2か月前
株式会社LIXIL
建具
2か月前
株式会社LIXIL
建具
2か月前
株式会社LIXIL
建具
1か月前
株式会社LIXIL
建具
1か月前
株式会社LIXIL
建具
1か月前
株式会社LIXIL
建具
1か月前
株式会社LIXIL
建具
2か月前
株式会社LIXIL
建具
1か月前
株式会社LIXIL
建具
1か月前
続きを見る
他の特許を見る