TOP
|
特許
|
意匠
|
商標
特許ウォッチ
Twitter
他の特許を見る
公開番号
2025160633
公報種別
公開特許公報(A)
公開日
2025-10-23
出願番号
2024063298
出願日
2024-04-10
発明の名称
包装体、及び包装体を構成する積層体
出願人
TOPPANホールディングス株式会社
代理人
個人
,
個人
,
個人
,
個人
主分類
B65D
81/34 20060101AFI20251016BHJP(運搬;包装;貯蔵;薄板状または線条材料の取扱い)
要約
【課題】蒸気抜き部から蒸気が適切に抜けるレンジ調理用の包装体、及びその包装体を構成する積層体を提供する。
【解決手段】ポリエチレンテレフタレートフィルム及びシーラント層をこの順に備える積層体で構成されたレンジ調理用の包装体であって、シーラント層はその内部に海島構造を有し、シーラント層の機械方向に垂直な断面を走査型プローブ顕微鏡で観察した画像をコントラスト強調処理、もや消し処理、二値化処理及びシャドウ処理して得られる処理画像において、島部を楕円で近似したときの楕円の傾きの平均値は75.00°以上である。
【選択図】図1
特許請求の範囲
【請求項1】
ポリエチレンテレフタレートフィルム及びシーラント層を備える積層体で構成されたレンジ調理用の包装体であって、
前記シーラント層はその内部に海島構造を有し、前記シーラント層の機械方向に垂直な断面を走査型プローブ顕微鏡で観察した画像をコントラスト強調処理、もや消し処理、二値化処理及びシャドウ処理して得られる処理画像において、島部を楕円で近似したときの楕円の傾きの平均値は75.00°以上である、包装体。
続きを表示(約 36 文字)
【請求項2】
請求項1に記載の包装体を構成する積層体。
発明の詳細な説明
【技術分野】
【0001】
本開示は、包装体、及び包装体を構成する積層体に関する。
続きを表示(約 1,900 文字)
【背景技術】
【0002】
特許文献1は、ポリエチレンテレフタレートフィルム及びシーラント層を備える積層体で構成されたレンジ調理用の包装体を開示する。包装体には、内部圧力が所定圧力以上になった時に通蒸口として開口する蒸気抜き部が設けられる。
【先行技術文献】
【特許文献】
【0003】
特開2016-130141号公報
【発明の概要】
【発明が解決しようとする課題】
【0004】
特許文献1に記載のようなレンジ調理用の包装体において、包装体を構成する積層体の構造によっては、包装体の内部圧力が所定圧力以上となったとしても蒸気抜き部から蒸気が抜けないことがある。本開示は、蒸気抜き部から蒸気が適切に抜けるレンジ調理用の包装体、及びその包装体を構成する積層体を提供する。
【課題を解決するための手段】
【0005】
本開示の一側面は、ポリエチレンテレフタレートフィルム及びシーラント層を備える積層体で構成されたレンジ調理用の包装体である。シーラント層はその内部に海島構造を有し、シーラント層の機械方向に垂直な断面を走査型プローブ顕微鏡で観察した画像をコントラスト強調処理、もや消し処理、二値化処理及びシャドウ処理して得られる処理画像において、島部を楕円で近似したときの楕円の傾きの平均値は75.00°以上である。シーラント層が、処理画像において島部を楕円で近似したときの楕円の傾きの平均値が75.00°以上となる海島構造を有することにより、レンジ調理用の包装体の蒸気抜き部から蒸気が適切に抜けるようになる。
【0006】
本開示の他の側面は、上述したレンジ調理用の包装体を構成する積層体であり、上述した包装体の効果と同一の効果を奏する。
【発明の効果】
【0007】
本開示は、蒸気抜き部から蒸気が適切に抜けるレンジ調理用の包装体、及びその包装体を構成する積層体を提供できる。
【図面の簡単な説明】
【0008】
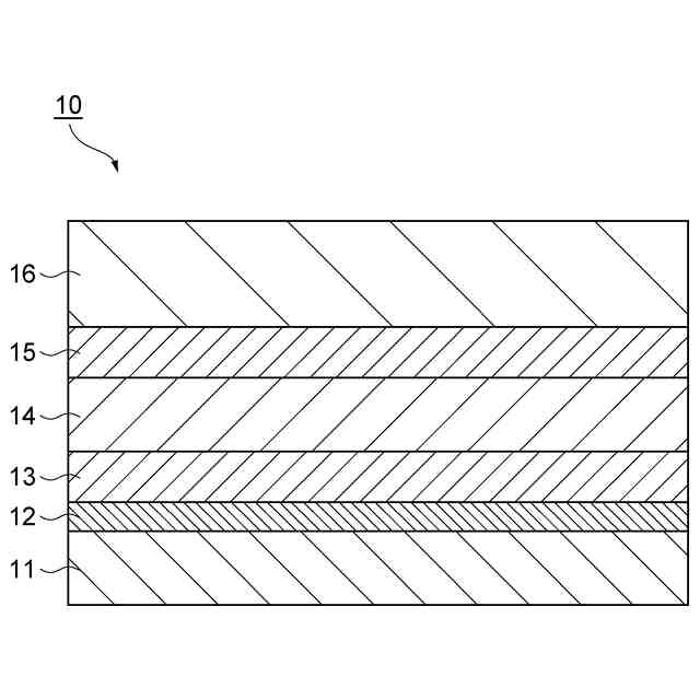
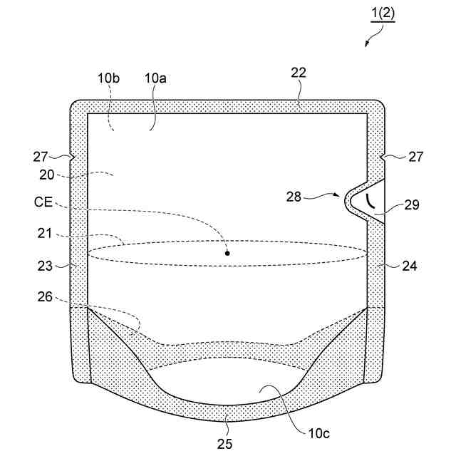
図1は、一実施形態に係る包装体の一例を示す平面図である。
図2は、図1に示される包装袋の一例を示す平面図である。
図3は、図1に示される包装袋の蒸気抜き部の他の例を示す部分拡大図である。
図4は、図1に示される積層体の一例を示す断面図である。
図5の(A)は、Image Jで開いた画像の一例である。図5の(B)は、コントラスト強調処理を施した画像の一例である。図5の(C)は、もや消し調処理を施した画像の一例である。図5の(D)は、二値化処理を施した画像の一例である。図5の(E)は、シャドウ処理を施した画像の一例である。
図6の(A)は、島部の面積の平均値をサンプルごとにプロットしたグラフである。図6の(B)は、島部の長手方向の長さ(矩形近似)の平均値をサンプルごとにプロットしたグラフである。図6の(C)は、島部の長手方向の長さ(楕円近似)の平均値をサンプルごとにプロットしたグラフである。
図7は、楕円の傾きの平均値をサンプルごとにプロットしたグラフである。
【発明を実施するための形態】
【0009】
以下、本開示の実施形態を説明する。以下の実施形態は、本開示を説明するための例示であり、本開示を以下の内容に限定する趣旨ではない。本開示に明示される数値範囲の上限値又は下限値は、実施例に示されるいずれかの値に置き換えてもよい。個別に記載した上限値及び下限値は任意に組み合わせてもよい。本開示において例示する材料又は成分は特に断らない限り、1種を単独で又は2種以上を組み合わせて用いることができる。説明において、同一要素又は同一機能を有する要素には同一の符号を付し、重複する説明を省略する。説明に使用される上下左右などの位置関係は、特に断らない限り、図面に示す位置関係に基づくものとする。
【0010】
[包装体の構成]
図1は、一実施形態に係る包装体の一例を示す平面図である。包装体1は、レンジ調理用の包装体である。レンジ調理とは、電子レンジで加熱することによって包装体内部の収容物を調理することである。包装体1は、包装袋2と包装袋2の収容部20に収容された収容物21とを備える。包装袋2は、側面をなす2つの積層体10a,10bと、底面をなす積層体10cとで構成される。積層体10a,10b,10cは、同一の構造を有する。積層体10aは、ポリエチレンテレフタレートフィルム及びシーラント層を備える積層体である。積層体の詳細については後述する。
(【0011】以降は省略されています)
この特許をJ-PlatPat(特許庁公式サイト)で参照する
関連特許
個人
収容箱
3か月前
個人
コンベア
5か月前
個人
段ボール箱
7か月前
個人
容器
9か月前
個人
段ボール箱
6か月前
個人
ゴミ収集器
7か月前
個人
角筒状構造体
5か月前
個人
宅配システム
7か月前
個人
楽ちんハンド
5か月前
個人
土嚢運搬器具
8か月前
個人
バンド
2か月前
個人
閉塞装置
10か月前
個人
廃棄物収容容器
2か月前
個人
コード類収納具
8か月前
個人
お薬の締結装置
6か月前
個人
包装容器
1か月前
個人
積み重ね用補助具
2か月前
株式会社バンダイ
物品
21日前
株式会社和気
包装用箱
9か月前
個人
ゴミ処理機
9か月前
個人
蓋閉止構造
4か月前
個人
蓋閉止構造
4か月前
株式会社コロナ
梱包材
5か月前
個人
把手付米袋
4か月前
個人
貯蔵サイロ
7か月前
株式会社和気
包装用箱
1日前
個人
包装箱
10か月前
株式会社KY7
封止装置
3か月前
三甲株式会社
容器
6か月前
三甲株式会社
容器
6か月前
個人
輸送積荷用動吸振器
6か月前
個人
コード折り畳み器具
4か月前
株式会社イシダ
搬送装置
6か月前
三甲株式会社
蓋体
8か月前
個人
介護用コップ
2か月前
三甲株式会社
蓋体
9か月前
続きを見る
他の特許を見る