TOP
|
特許
|
意匠
|
商標
特許ウォッチ
Twitter
他の特許を見る
公開番号
2025160549
公報種別
公開特許公報(A)
公開日
2025-10-23
出願番号
2024063109
出願日
2024-04-10
発明の名称
情報処理システム、情報処理方法及びプログラム
出願人
株式会社リガク
代理人
弁理士法人IPX
主分類
G01N
23/223 20060101AFI20251016BHJP(測定;試験)
要約
【課題】各成分に由来するスペクトルの重複が大きい場合においても、高い精度の分析結果を得られる情報処理システムを提供する。
【解決手段】取得ステップA6では、解析対象となる試料に対するX線を用いた測定の結果を示す対象測定データと、少なくとも1つの参照データとを取得する。指定受付ステップA7では、参照データの指定を受け付ける。設定ステップA9では、指定に基づき、少なくとも1つの可変基底と、少なくとも1つの固定基底との線形結合を含む、非負値行列因子分解を実行する際の目的関数を設定する。ここで、固定基底のそれぞれは、指定された参照データに対応する。可変基底の成分は、非負値行列因子分解の際に可変なパラメータとなるように設定される。固定基底の成分は、非負値行列因子分解の際に固定されたパラメータとなるように設定される。
【選択図】図4
特許請求の範囲
【請求項1】
情報処理システムであって、
少なくとも1つのプロセッサを備え、
前記プロセッサは、次の各ステップがなされるようにプログラムを実行するように構成され、
取得ステップでは、解析対象となる試料に対するX線を用いた測定の結果を示す対象測定データと、少なくとも1つの参照データとを取得し、
指定受付ステップでは、前記参照データの指定を受け付け、
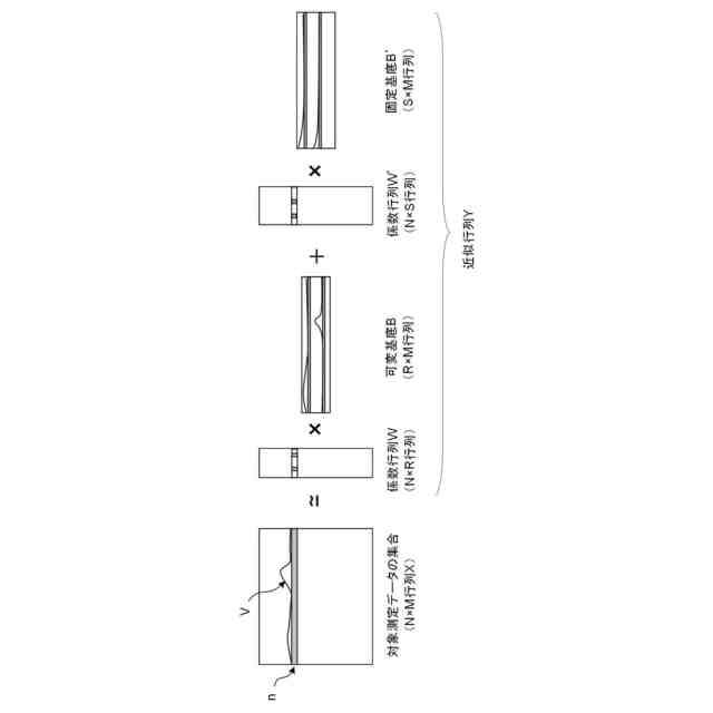
設定ステップでは、前記指定に基づき、少なくとも1つの可変基底と、少なくとも1つの固定基底との線形結合を含む、非負値行列因子分解を実行する際の目的関数を設定し、
ここで、前記固定基底のそれぞれは、指定された前記参照データに対応し、
前記可変基底の成分は、前記非負値行列因子分解の際に可変なパラメータとなるように設定され、
前記固定基底の成分は、前記非負値行列因子分解の際に固定されたパラメータとなるように設定される、システム。
続きを表示(約 1,300 文字)
【請求項2】
請求項1に記載の情報処理システムにおいて、
前記参照データは、所定の参照試料に対して行われた前記X線を用いた測定の結果、または、前記参照試料に関するシミュレーションによって得られた前記X線を用いた測定の結果の予測を含む、システム。
【請求項3】
請求項1に記載の情報処理システムにおいて、
前記目的関数は、さらに、前記可変基底と前記固定基底との線形結合を含み、少なくとも前記可変基底と前記可変基底の係数とが可変なパラメータとなるように設定される、システム。
【請求項4】
請求項1に記載の情報処理システムにおいて、
前記指定受付ステップでは、取得された前記参照データに基づき指定可能な参照データの候補を一覧するように構成される視覚情報を表示させることにより、ユーザから前記指定を受け付ける、システム。
【請求項5】
請求項1に記載の情報処理システムにおいて、
さらに最適化ステップでは、前記目的関数のうち、少なくとも前記固定基底の成分を固定するという制約条件のもとで、前記対象測定データに対応する行列に対して前記目的関数の最適化をすることにより、前記対象測定データに対応する行列の非負値行列因子分解を行う、システム。
【請求項6】
請求項5に記載の情報処理システムにおいて、
さらに、解析表示ステップでは、前記最適化の精度を示す指標の推移に関する情報を視覚的に表示させる、システム。
【請求項7】
請求項1に記載の情報処理システムにおいて、
前記X線を用いた測定の結果は、X線を用いたスペクトル測定の結果を示す、システム。
【請求項8】
請求項1に記載の情報処理システムにおいて、
前記X線を用いた測定の結果は、蛍光X線分析(XRF)、X線発光分光法(XES)、X線光電子分光法(XPS)、またはX線吸収分光法(XAFS)による測定の結果を示す、システム。
【請求項9】
請求項1に記載の情報処理システムにおいて、
さらに結果表示ステップでは、前記非負値行列因子分解の結果を示す結果視覚情報を表示させ、
前記結果視覚情報は、前記非負値行列因子分解の結果として得られる、前記対象測定データのうちの前記可変基底に関連する第1の寄与と、前記固定基底に関連する第2の寄与とを、互いに区別可能な態様で表示させる、システム。
【請求項10】
請求項1に記載の情報処理システムにおいて、
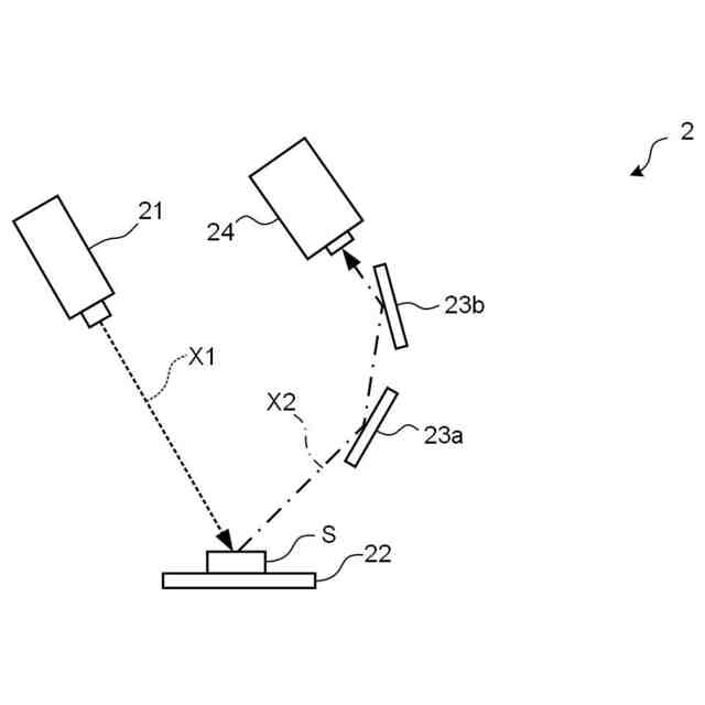
さらにX線測定装置を備え、
前記X線測定装置は、X線照射部と、試料ステージと、X線検出部とを備え、
前記X線照射部は、前記X線を照射するように構成され、
前記試料ステージは、前記解析対象となる試料を設置可能に構成され、
前記X線検出部は、前記試料を経由したX線を検出し、これにより前記X線の測定の結果を出力するように構成される、システム。
(【請求項11】以降は省略されています)
発明の詳細な説明
【技術分野】
【0001】
本発明は、情報処理システム、情報処理方法及びプログラムに関する。
続きを表示(約 1,800 文字)
【背景技術】
【0002】
特許文献1には、一次独立性が高いと期待されるスペクトルデータの分解において真の基底スペクトルに近い分解結果を返すことができる技術が開示されている。
【0003】
当該技術に係る非負行列因子分解部は、観測スペクトルデータのセットと、複数の基底スペクトルデータおよびアクティベーションデータから計算される推定スペクトルデータのセットとの乖離度、並びに複数の基底スペクトルデータまたは前記アクティベーションデータの一次独立性を評価する正則化項を含む目的関数の値の極小値を探索することにより、複数の基底スペクトルデータと、アクティベーションデータとを求める、ものである。
【先行技術文献】
【特許文献】
【0004】
特開2019-087042号公報
【発明の概要】
【発明が解決しようとする課題】
【0005】
しかし、例えば、スペクトルに含まれる各ピークが重なる場合に、上記技術に基づく非負行列因子分解を用いてX線測定結果の解析を行うと、安定した解析結果を得られにくい可能性がある。
【課題を解決するための手段】
【0006】
本発明の一態様によれば、情報処理システムが提供される。この情報処理システムは、少なくとも1つのプロセッサを備える。プロセッサは、次の各ステップがなされるようにプログラムを実行するように構成される。取得ステップでは、解析対象となる試料に対するX線を用いた測定の結果を示す対象測定データと、少なくとも1つの参照データとを取得する。指定受付ステップでは、参照データの指定を受け付ける。設定ステップでは、指定に基づき、少なくとも1つの可変基底と、少なくとも1つの固定基底との線形結合を含む、非負値行列因子分解を実行する際の目的関数を設定する。ここで、固定基底のそれぞれは、指定された参照データに対応する。可変基底の成分は、非負値行列因子分解の際に可変なパラメータとなるように設定される。固定基底の成分は、非負値行列因子分解の際に固定されたパラメータとなるように設定される。
【図面の簡単な説明】
【0007】
情報処理システム1を表す構成図である。
X線測定装置2の構成例を示す図である。
情報処理装置3のハードウェア構成を示すブロック図である。
情報処理システム1において実行される情報処理の流れの一例を示すアクティビティ図である。
目的関数に含まれる、対象測定データ、可変基底、および固定基底の関係を示す図である。
解析用画面IM1の一例を示す図である。
本情報処理に基づくリチウム二次電池のSiO系負極材料の成分分析結果を示す図である。
比較例としての線形結合フィッティング(LCF)に基づくリチウム二次電池のSiO系負極材料の成分分析結果を示す。
【発明を実施するための形態】
【0008】
以下、図面を用いて本発明の実施形態について説明する。以下に示す実施形態中で示した各種特徴事項は、互いに組み合わせ可能である。
【0009】
ところで、一実施形態に登場するソフトウェアを実現するためのプログラムは、コンピュータが読み取り可能な非一時的な記録媒体(Non-Transitory Computer-Readable Medium)として提供されてもよいし、外部のサーバからダウンロード可能に提供されてもよいし、外部のコンピュータで当該プログラムを起動させてクライアント端末でその機能を実現(いわゆるクラウドコンピューティング)するように提供されてもよい。
【0010】
また、一実施形態に係る種々の情報処理において、入力と、入力に応じた出力とが実現されうる。ここで、入力の結果として出力が得られれば、かかる情報処理において参照される情報(以下、参照情報と称する。)の態様は、限定されない。参照情報は、例えば、データベース、ルックアップテーブル、所定の関数(統計学的手法によって構築された、回帰式等の判定式を含む。)等のルールベースの情報でもよいし、入力と出力との相関を予め学習させた学習済みモデルでもよいし、プロンプトを入力することで所望の結果を出力可能な大規模言語モデルでもよい。
(【0011】以降は省略されています)
この特許をJ-PlatPat(特許庁公式サイト)で参照する
関連特許
個人
メジャー文具
17日前
個人
高精度同時多点測定装置
9日前
個人
アクセサリー型テスター
10日前
ユニパルス株式会社
ロードセル
16日前
アズビル株式会社
電磁流量計
3日前
アズビル株式会社
圧力センサ
22日前
株式会社チノー
放射光測温装置
16日前
株式会社ヨコオ
ソケット
15日前
ダイキン工業株式会社
監視装置
14日前
株式会社ヨコオ
ソケット
16日前
エイブリック株式会社
磁気センサ回路
22日前
トヨタ自動車株式会社
監視装置
15日前
TDK株式会社
ガスセンサ
22日前
TDK株式会社
磁気センサ
15日前
ローム株式会社
半導体装置
8日前
ローム株式会社
半導体装置
8日前
個人
システム、装置及び実験方法
3日前
株式会社東芝
重量測定装置
21日前
TDK株式会社
ガスセンサ
16日前
長崎県
形状計測方法
10日前
TDK株式会社
ガスセンサ
21日前
株式会社デンソー
電流センサ
8日前
日本特殊陶業株式会社
センサ
14日前
三菱マテリアル株式会社
温度センサ
17日前
ダイハツ工業株式会社
移動支援装置
15日前
日本特殊陶業株式会社
センサ
14日前
トヨタ自動車株式会社
測定システム
7日前
三恵技研工業株式会社
融雪レドーム
15日前
日本特殊陶業株式会社
センサ
14日前
日本特殊陶業株式会社
センサ
14日前
日本特殊陶業株式会社
センサ
14日前
TDK株式会社
電磁波センサ
16日前
富士電機株式会社
エンコーダ
22日前
中国電力株式会社
電柱管理システム
14日前
多摩川精機株式会社
冗長エンコーダ
15日前
日鉄テックスエンジ株式会社
聴音装置
16日前
続きを見る
他の特許を見る