TOP
|
特許
|
意匠
|
商標
特許ウォッチ
Twitter
他の特許を見る
10個以上の画像は省略されています。
公開番号
2025160387
公報種別
公開特許公報(A)
公開日
2025-10-22
出願番号
2025127061,2024569716
出願日
2025-07-30,2024-07-24
発明の名称
ガス溶解方法
出願人
株式会社シバタ
代理人
個人
主分類
B01F
21/20 20220101AFI20251015BHJP(物理的または化学的方法または装置一般)
要約
【課題】装置が複雑でなく、コストが安く、メンテナンスの手間がかからない、水流へのガス溶解方法を提供する。
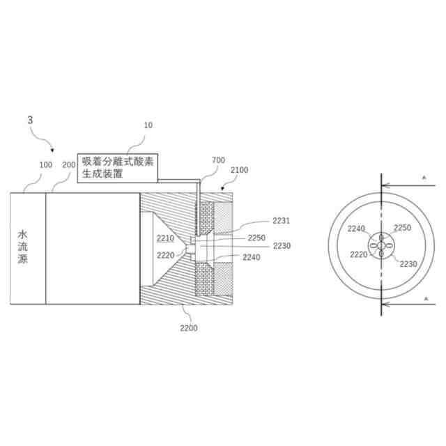
【解決手段】ガス供給源10と溶解部500とを備え、水流源100からの水流へガスを溶解させる装置であって、溶解部は水流源からの水流を通過させる筒部600、筒部の中には水流の下流側に向いた垂直な下流壁、水流は前記下流壁に沿って回り込んで負圧領域を形成し、及び筒部の周壁から負圧領域に貫通したガス供給路700を備え、該ガス供給路はガスの供給源に連結されるガス溶解装置を用いる、ガス溶解方法であって、ガス供給路を介してガス供給源のガスを負圧領域へ供給する。
【選択図】図1
特許請求の範囲
【請求項1】
水流源からの水流へガスを溶解させる装置であって、
前記ガスの供給源と、溶解部と、を備え、
該溶解部は、
前記水流源からの水流を通過させる筒、
該筒の中には前記水流の下流側に向いた垂直な下流壁、前記水流は前記下流壁に沿って回り込んで負圧領域を形成し、及び
前記筒の周壁から前記負圧領域に貫通したガス供給路を備え、該ガス供給路は前記ガスの供給源に連結されるガス溶解装置を用いる、ガス溶解方法であって、
前記ガス供給路を介して前記ガス供給源のガスを前記負圧領域へ供給する、ガス溶解方法。
続きを表示(約 1,000 文字)
【請求項2】
前記下流壁には凹部が形成される、該凹部に回り込んだ前記水流の一部は該凹部の負圧により気化される請求項1に記載のガス溶解方法。
【請求項3】
前記凹部に前記ガス供給路が開口する、請求項2に記載のガス溶解方法。
【請求項4】
前記凹部は前記筒の周壁まで入り込んでいる、請求項3に記載のガス溶解方法。
【請求項5】
前記ガス供給路は前記凹部に対向して開口する、請求項1に記載のガス溶解方法。
【請求項6】
前記ガス供給源は吸着剤式の酸素ガス発生装置であり、該ガス発生装置から供給された酸素ガスは、何ら加圧されることなく、前記ガス供給路へ供給される、を請求項1に記載のガス溶解方法。
【請求項7】
水流源からの水流へ大気ガスを溶解させる装置であって、
前記大気ガスの溶解部、を備え、
該溶解部は、
前記水流源からの水流を通過させる筒、
該筒の中には前記水流の下流側に向いた垂直な下流壁、前記水流は前記下流壁に沿って回り込んで負圧領域を形成し、及び
前記筒の周壁から前記負圧領域に貫通したガス供給路を備え、該ガス供給路は大気ガスに連結されるガス溶解装置を用いる、ガス溶解方法であって、
前記ガス供給路を介して前記大気ガを前記負圧領域へ供給する、ガス溶解方法。
【請求項8】
前記溶解部は前記水流中にファインバブルを発生させる、請求項1又は請求項7に記載のガス溶解方法。
【請求項9】
タンク内の水へガスを溶解させる装置であって、
前記ガスの供給源と、前記タンクと、溶解部と、前記タンク内の水の循環装置とを備え、
該溶解部は、
前記循環装置による前記タンクからの水流を通過させる筒、
該筒の中には前記水流の下流側に向いた垂直な下流壁、前記水流は前記下流壁に沿って回り込んで負圧領域を形成し、及び
前記筒の周壁から前記負圧領域に貫通したガス供給路を備え、該ガス供給路は前記ガスの供給源に連結される、
ここに、前記ガス供給源のガスは、前記負圧領域の負圧により前記ガス供給路を介して前記負圧領域へ供給され、かつファインバブルを発生させるガス溶解装置を用いるガス溶解方法であって、
前記タンクの水を冷却しない、ガス溶解方法。
発明の詳細な説明
【技術分野】
【0001】
本発明は水流へガスを溶解させる方法に関する。
続きを表示(約 2,000 文字)
【背景技術】
【0002】
水流へ炭酸ガスなどの有用なガスを溶解させて、その濃度を高めることがなされている。
例えば特許文献1に記載のガス溶解装置では、ファインバブルを発生させる衝突部へガスボンベに蓄えられた炭酸ガスを供給することが開示されている。
特許文献2には気体を水に加圧溶解させる方法が開示されている。
これら先行文献に記載のガス溶解方法では、いずれも加圧されたガスを水流に供給している。
【0003】
特許文献1に記載のガス溶解装置では、衝突部の下流の強撹拌領域において水との混合が顕著に進み、ガス溶解が効率的に行われる(特許文献1、第21頁、第2、3段参照)。
その他、特許文献3、特許文献4も参照されたい。
【先行技術文献】
【特許文献】
【0004】
特許第6182715号公報
特許第5762210号公報
特許第6279179号公報、段落0040、段落0041
特許第6978793号公報
【発明の概要】
【発明が解決しようとする課題】
【0005】
有用なガスを水へ強制的に溶解させ、水の機能を高める要請が高まりつつある。例えば、活魚を運搬するトラックの生け簀の水に溶解している酸素の量を多くすると、活魚を長時間生存させることができることが知られている。
他方、従来では、酸素などのガスを水へ強制的に溶解するには、ガスを加圧する必要があり、例えば、酸素ボンベなどの準備が必要であった。そのため、装置が複雑になり、コスト高になるばかりかメンテナンスにも手間がかかっていた。
【課題を解決するための手段】
【0006】
この発明は上記課題を解決すべくなされたものであり、その第1局面は次のように規定される。即ち、
水流へガスを溶解させる方法であって、
前記水流を構成する水の一部を負圧領域として、該負圧領域の負圧により前記ガスを吸引して、該ガスを前記水流に巻き込ませ、かつファインバブルを発生させるガス溶解方法。
【0007】
このように規定される第1局面のガス溶解方法によれば、負圧領域の負圧により、ガス供給源からのガスが吸引され、このガスが水流中に巻き込まれる。換言すれば、導入するガスを何ら加圧しなくても、十分な量のガスが負圧領域に吸い込まれる。導入するガスが加圧されていれば、ガスの吸引効率が向上する。
水流の負圧領域において水の一部は気体化(蒸気化)されている。かかる負圧領域へガスを導入すれば負圧領域の水蒸気とガスとが混合される。そして、負圧領域から脱出した水流の一部の圧力が上昇するにつれ、水蒸気は凝縮して水に戻る。このとき、当該ガスは水中に取り込まれて溶解した状態となる。
負圧領域の水が気体化されていなくてもその蒸気圧が低下して、水分子同士の結合が弱くなっているので、導入されたガスが水分子の間に入り込みやすくなっている。
また、ファインバブルを発生させるため、ファインバブル中にもガスが存在し、水中のガスの溶存濃度の低下を防止する。
【0008】
この発明では、ガスの吸引が負圧領域の負圧力によりなされる。よって、ガスを送りこむための外付けの圧力装置が不要となる。
【0009】
この発明の第2局面は次のように規定される。即ち、第1局面の方法において、
前記ガスは大気圧の状態で前記負圧領域に吸い込まれる。
工業的に安価に酸素を生成するには、一般的に、吸着分離法が採用され、かかる製法で生成された酸素は加圧状態にない。換言すれば、酸素供給源としての吸着分離装置から取り出される無加圧状態の酸素であっても、上記第2局面に従えば、そのまま水中へ、即ち、大気圧の状態で、溶解可能となる。
【0010】
この発明の第3局面は次のように規定される。即ち、
第1局面のガス溶解方法において、前記水流は筒の中を流れ、該筒の中には前記水流の下流側に向いた垂直な下流壁が備えられ、該下流壁に前記水流は回り込んで前記負圧領域を構成する。
このように規定される第3局面のガス溶解方法によれば、下流壁に沿って回り込んだ水流は筒の中心より離れて、筒の外周側で負圧領域を形成する。かかる負圧領域に対して、筒の外からガスを供給しやすくなる。
垂直な下流壁を備える筒の中へ水を通すことにより、水の中にナノオーダの微細気泡を含むファインバブルが形成されることは、特許文献4で説明されている(図4、5参照)。
筒の中には小径部(オリフィス)が備えられ、当該小径部の出口に垂直な下流壁が形成されることが好ましい。
(【0011】以降は省略されています)
この特許をJ-PlatPat(特許庁公式サイト)で参照する
関連特許
株式会社シバタ
ガス溶解方法
7日前
株式会社シバタ
ファインバブル発生装置
1日前
株式会社西部技研
除湿装置
13日前
株式会社日本触媒
ドロー溶質
7日前
ユニチカ株式会社
複合中空糸膜
27日前
東レ株式会社
中空糸膜モジュール
26日前
サンノプコ株式会社
消泡剤
5日前
個人
攪拌装置
1か月前
株式会社笹山工業所
濁水処理システム
1か月前
個人
気液混合装置
5日前
大和ハウス工業株式会社
反応装置
20日前
松岡紙業 株式会社
油吸着体の製造方法
7日前
ヤマシンフィルタ株式会社
フィルタ装置
28日前
本田技研工業株式会社
ガス回収装置
22日前
富士電機株式会社
ガス処理システム
2日前
大陽日酸株式会社
CO2の回収方法
22日前
株式会社フクハラ
圧縮空気圧回路ユニット
5日前
株式会社明電舎
成膜装置
2日前
杉山重工株式会社
回転円筒型反応装置
1か月前
本田技研工業株式会社
二酸化炭素回収装置
15日前
本田技研工業株式会社
二酸化炭素回収装置
20日前
本田技研工業株式会社
二酸化炭素回収装置
22日前
ノリタケ株式会社
触媒材料およびその利用
20日前
本田技研工業株式会社
二酸化炭素回収装置
28日前
ノリタケ株式会社
触媒材料およびその利用
20日前
本田技研工業株式会社
二酸化炭素回収装置
26日前
本田技研工業株式会社
二酸化炭素回収装置
20日前
本田技研工業株式会社
二酸化炭素回収装置
28日前
本田技研工業株式会社
二酸化炭素回収装置
28日前
本田技研工業株式会社
二酸化炭素回収装置
20日前
本田技研工業株式会社
二酸化炭素回収装置
20日前
ノリタケ株式会社
触媒材料およびその利用
20日前
個人
フッ化炭素糸物にフッ素をコーティングした浄水手段
5日前
Planet Savers株式会社
気体濃縮装置
22日前
東京応化工業株式会社
ろ過処理方法、及び多孔質膜
20日前
株式会社プロテリアル
触媒複合物および触媒前駆体複合物
21日前
続きを見る
他の特許を見る