TOP
|
特許
|
意匠
|
商標
特許ウォッチ
Twitter
他の特許を見る
10個以上の画像は省略されています。
公開番号
2025160051
公報種別
公開特許公報(A)
公開日
2025-10-22
出願番号
2024063041
出願日
2024-04-09
発明の名称
スキャン装置保持具および移動スキャン装置
出願人
株式会社アイ・ロボティクス
代理人
個人
,
個人
主分類
G01D
11/30 20060101AFI20251015BHJP(測定;試験)
要約
【課題】スキャン対象に対して上下方向に迅速かつ精度よくスキャンすることができるスキャン装置保持具および移動スキャン装置を提供すること。
【解決手段】長手方向Nに延ばされた本体部11と、スキャン装置Sが取り付けられて前記長手方向Nに移動可能に前記本体部11に設けられる移動取付部12と、前記本体部11に設けられた前記移動取付部12を前記長手方向Nに移動させる移動部14と、前記移動取付部12が前記本体部11から落下することを防止する落下防止部とを備える。
【選択図】図1
特許請求の範囲
【請求項1】
長手方向に延ばされた本体部と、
スキャン装置が取り付けられて前記長手方向に移動可能に前記本体部に設けられる移動取付部と、
前記本体部に設けられた前記移動取付部を前記長手方向に移動させる移動部と、
前記移動取付部が前記本体部から落下することを防止する落下防止部と
を備えるスキャン装置保持具。
続きを表示(約 1,000 文字)
【請求項2】
前記移動取付部は、
前記本体部を挟持して前記長手方向に移動可能に構成される挟持部と、
前記挟持部に設けられて前記スキャン装置を保持する保持部と
を備える請求項1に記載のスキャン装置保持具。
【請求項3】
前記挟持部は、
前記本体部を挟持する回転体と、
前記回転体を前記本体部の径方向内方に付勢する付勢部と
を備える請求項2に記載のスキャン装置保持具。
【請求項4】
前記落下防止部は、
前記移動取付部が前記本体部から落下するときに前記回転体の回転を規制する規制部を備える請求項3に記載のスキャン装置保持具。
【請求項5】
前記規制部は、
前記回転体に連結され前記回転体の径方向内方の解除位置と径方向外方の規制位置との間で伸縮可能な伸縮部と、
前記伸縮部が前記規制位置に配されたときに前記伸縮部と係合する係合部とを備え、
前記移動取付部が落下するとき前記伸縮部が規制位置に配されて前記係合部と係合し前記伸縮部を介して前記回転体の回転を規制するように構成されている請求項4に記載のスキャン装置保持具。
【請求項6】
前記伸縮部は、
前記解除位置に配されるように前記径方向内方に付勢されており、前記回転体の回転に応じた遠心力により前記付勢に抗して前記規制位置に伸ばされるように構成されている請求項5に記載のスキャン装置保持具。
【請求項7】
前記伸縮部の伸縮方向に交差する方向に延ばされたロック部が前記係合部に設けられ、
前記伸縮部の伸縮方向に交差する方向に延ばされた先端延在部が前記伸縮部の両端部に設けられており、
前記伸縮部が前記規制位置に配されると前記径方向外方において前記ロック部と前記先端延在部が係合するように構成されている請求項6に記載のスキャン装置保持具。
【請求項8】
前記移動取付部が落下するとき前記回転体が回転する方向と逆回転するときに前記先端延在部が外縁を介して前記ロック部を乗り上げるように構成されている請求項7に記載のスキャン装置保持具。
【請求項9】
前記先端延在部の外縁が円弧状に形成されている請求項8に記載のスキャン装置保持具。
【請求項10】
請求項1から請求項9のいずれか一項に記載のスキャン装置保持具と、
前記スキャン装置とを備える移動スキャン装置。
発明の詳細な説明
【技術分野】
【0001】
本発明は、スキャン装置保持具および移動スキャン装置に関する。
続きを表示(約 1,900 文字)
【背景技術】
【0002】
従来、スキャン対象に対して移動させながらスキャン対象のスキャン情報を取得するスキャン装置が利用されている(例えば、特許文献1参照)。
このようなスキャン装置としては、例えばスマートフォンなどが利用され、ユーザがスマートフォンを手で把持しながら上下方向に移動させてスキャンすることが考えられる。
【先行技術文献】
【特許文献】
【0003】
特開2016-206131号公報
【発明の概要】
【発明が解決しようとする課題】
【0004】
しかしながら、上記のようなスキャン装置では、手で把持してスキャン装置を移動させるため手元でブレてしまうという問題がある。
【0005】
以上に鑑みて、本発明は、スキャン対象に対して上下方向に迅速かつ精度よくスキャンすることができるスキャン装置保持具および移動スキャン装置を提供することを目的とする。
【課題を解決するための手段】
【0006】
上記課題を解決するために、本発明は以下の手段を提供する。
本発明は、長手方向に延ばされた本体部と、スキャン装置が取り付けられて前記長手方向に移動可能に前記本体部に設けられる移動取付部と、前記本体部に設けられた前記移動取付部を前記長手方向に移動させる移動部と、前記移動取付部が前記本体部から落下することを防止する落下防止部とを備える。
【発明の効果】
【0007】
本願の一観点によれば、スキャン対象に対して上下方向に迅速かつ精度よくスキャンすることができる。
【図面の簡単な説明】
【0008】
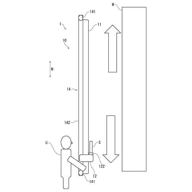
本発明の実施形態としての移動スキャン装置およびスキャン装置保持具を示す側面図である。
図1の移動取付部を拡大して示す側面図である。
図2の移動取付部を拡大して示す平面図である。
落下防止部を示す図であって、伸縮部が解除位置に配されてタイヤ部が回転する様子を示す平面図である。
図4のタイヤ部および落下防止部をタイヤ部の側方から示す側面図である。
落下防止部を示す図であって、伸縮部が規制位置に配されてタイヤ部の回転が規制される様子を示す平面図である。
落下防止部を示す図であって、伸縮部が逆回転して規制位置から解除位置に戻ろうとする様子を示す平面図である。
図1の移動スキャン装置によりスキャンを行う様子を示す説明図である。
図5の落下防止部の変形例をタイヤ部の側方から示す側面図である。
【発明を実施するための形態】
【0009】
(実施形態)
以下、本発明の実施形態における移動スキャン装置およびスキャン装置保持具について説明する。
図1は、本発明の実施形態としての移動スキャン装置1およびスキャン装置保持具10を示す側面図である。
移動スキャン装置1は、スキャン対象である壁等に対して撮影データを連続的に取得して、空間情報を可視化するものである。
移動スキャン装置1は、スキャン装置Sと、このスキャン装置Sを保持して移動させるスキャン装置保持具10とを備えている。
スキャン装置Sは、例えばスマートフォンなどが利用される。
【0010】
スキャン装置保持具10は、本体部11と、移動取付部12と、落下防止部13と、移動部14とを備えている。
本体部11は、長手方向に延ばされた長尺部材として形成され、長手方向Nに伸縮するようになっている。本体部11には、移動取付部12を長手方向Nにスライド移動させる移動部14が設けられている。
移動部14は、滑車部141と紐部142を備えている。
滑車部141は、本体部11の長手方向Nの両端部にそれぞれ設けられている。滑車部141は、本体部11の両端部において回転可能に取り付けられている。これら滑車部141にわたって紐部142が掛け回されている。
紐部142は、長尺状の紐状の部材であって、例えばワイヤーなどからなっている。
移動取付部12は、長手方向Nにスライド移動可能に本体部11に取り付けられている。移動取付部12は紐部142に取り付けられている。
このような構成のもと、紐部142を長手方向Nに動かして回すと、両端部の滑車部141が回転することにより、紐部142を介して移動取付部12が長手方向Nにスライド移動するようになっている。
(【0011】以降は省略されています)
この特許をJ-PlatPat(特許庁公式サイト)で参照する
関連特許
個人
メジャー文具
17日前
個人
アクセサリー型テスター
10日前
個人
高精度同時多点測定装置
9日前
日本精機株式会社
位置検出装置
23日前
ユニパルス株式会社
ロードセル
16日前
株式会社ミツトヨ
測定器
今日
日本精機株式会社
位置検出装置
23日前
日本精機株式会社
位置検出装置
23日前
アズビル株式会社
圧力センサ
22日前
アズビル株式会社
電磁流量計
3日前
株式会社ヨコオ
ソケット
16日前
株式会社チノー
放射光測温装置
16日前
株式会社ヨコオ
ソケット
15日前
トヨタ自動車株式会社
監視装置
15日前
エイブリック株式会社
磁気センサ回路
22日前
ダイキン工業株式会社
監視装置
14日前
TDK株式会社
磁気センサ
15日前
TDK株式会社
ガスセンサ
22日前
TDK株式会社
ガスセンサ
21日前
株式会社東芝
重量測定装置
21日前
個人
システム、装置及び実験方法
3日前
ローム株式会社
半導体装置
8日前
ローム株式会社
半導体装置
8日前
長崎県
形状計測方法
10日前
愛知時計電機株式会社
ガスメータ
今日
TDK株式会社
ガスセンサ
16日前
三菱マテリアル株式会社
温度センサ
17日前
日本特殊陶業株式会社
センサ
14日前
中国電力株式会社
電柱管理システム
14日前
TDK株式会社
電磁波センサ
16日前
日本特殊陶業株式会社
センサ
14日前
多摩川精機株式会社
冗長エンコーダ
15日前
日本特殊陶業株式会社
センサ
14日前
日本特殊陶業株式会社
センサ
14日前
ダイハツ工業株式会社
移動支援装置
15日前
日本特殊陶業株式会社
センサ
14日前
続きを見る
他の特許を見る