TOP
|
特許
|
意匠
|
商標
特許ウォッチ
Twitter
他の特許を見る
10個以上の画像は省略されています。
公開番号
2025159685
公報種別
公開特許公報(A)
公開日
2025-10-21
出願番号
2024110097
出願日
2024-07-09
発明の名称
撮像光学レンズ及びレンズアセンブリ
出願人
チャンジョウ エーエーシー レイテック オプトロニクス カンパニーリミテッド
代理人
個人
,
個人
主分類
G02B
13/00 20060101AFI20251014BHJP(光学)
要約
【課題】撮像光学レンズ及びレンズアセンブリを提供する。
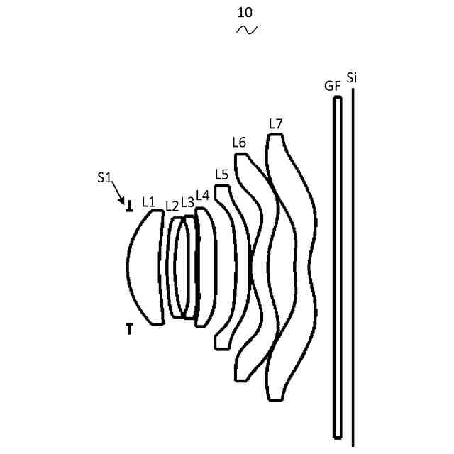
【解決手段】撮像光学レンズは、合計7枚のレンズにより構成され、物体側から像側へ順に、正の屈折力を有する第1レンズ、負の屈折力を有する第2レンズ、負の屈折力を有する第3レンズ、正の屈折力を有する第4レンズ、負の屈折力を有する第5レンズ、正の屈折力を有する第6レンズ、負の屈折力を有する第7レンズであり、撮像光学レンズの各倍率毎の視野での歪み、各レンズの焦点距離、光学定数、曲率半径、撮像光学レンズの入射瞳径、1.0倍視野での画角等が所定の関係式を満たす。
【選択図】図1
特許請求の範囲
【請求項1】
撮像光学レンズであって、
前記撮像光学レンズは、合計7枚のレンズにより構成され、前記7枚のレンズは、物体側から像側へ順に、正の屈折力を有する第1レンズ、負の屈折力を有する第2レンズ、負の屈折力を有する第3レンズ、正の屈折力を有する第4レンズ、負の屈折力を有する第5レンズ、正の屈折力を有する第6レンズ、負の屈折力を有する第7レンズであり、
前記第1レンズは、物体側面が近軸において凸面であり、像側面が近軸において凹面であり、前記第2レンズは、物体側面が近軸において凸面であり、像側面が近軸において凹面であり、前記第3レンズは、物体側面が近軸において凸面であり、像側面が近軸において凹面であり、前記第4レンズは、物体側面が近軸において凸面であり、像側面が近軸において凸面であり、前記第5レンズの像側面は近軸において凹面であり、前記第6レンズは、物体側面が近軸において凸面であり、像側面が近軸において凹面であり、前記第7レンズは、物体側面が近軸において凸面であり、像側面が近軸において凹面であり、
前記撮像光学レンズの1.0倍の視野での歪みをDIST
1.0H
、前記撮像光学レンズの0.8倍の視野での歪みをDIST
0.8H
、前記撮像光学レンズの0.6倍の視野での歪みをDIST
0.6H
、前記撮像光学レンズの0.5倍の視野での歪みをDIST
0.5H
、前記撮像光学レンズの0.3倍の視野での歪みをDIST
0.3H
、前記第1レンズと前記第2レンズと前記第3レンズと前記第4レンズと前記第5レンズとの合成焦点距離をf12345、前記第6レンズと前記第7レンズとの合成焦点距離をf67、前記第7レンズの物体側面の近軸における中心曲率半径をR13、前記第7レンズの像側面の近軸における中心曲率半径をR14、前記第1レンズのアッベ数をv1、前記第3レンズの物体側面の近軸における中心曲率半径をR5、前記第3レンズの像側面の近軸における中心曲率半径をR6、前記撮像光学レンズの焦点距離をf、前記撮像光学レンズの入射瞳径をENPD、前記撮像光学レンズの1.0倍の視野での画角をFOVとし、かつ、以下の関係式(1)~関係式(7)を満たすことを特徴とする撮像光学レンズ。
0.40≦(DIST
0.8H
-DIST
0.5H
)/(DIST
0.5H
-DIST
0.3H
)≦1.60 (1)
-0.13≦(DIST
1.0H
-DIST
0.8H
)/(DIST
0.8H
-DIST
0.6H
)≦2.50 (2)
0.25≦f12345/f67≦2.40 (3)
1.60≦R13/R14≦3.80 (4)
80.00≦v1≦82.00 (5)
4.00≦(R5+R6)/f≦9.00 (6)
0.05≦ENPD/FOV≦0.07 (7)
続きを表示(約 1,200 文字)
【請求項2】
以下の関係式(8)を満たすことを特徴とする請求項1に記載の撮像光学レンズ。
0.40≦(DIST
0.8H
-DIST
0.5H
)/(DIST
0.5H
-DIST
0.3H
)≦1.40 (8)
【請求項3】
以下の関係式(9)を満たすことを特徴とする請求項1に記載の撮像光学レンズ。
-0.12≦(DIST
1.0H
-DIST
0.8H
)/(DIST
0.8H
-DIST
0.6H
)≦2.10 (9)
【請求項4】
以下の関係式(10)を満たすことを特徴とする請求項1に記載の撮像光学レンズ。
0.25≦f12345/f67≦2.10 (10)
【請求項5】
以下の関係式(11)を満たすことを特徴とする請求項1に記載の撮像光学レンズ。
2.00≦R13/R14≦3.20 (11)
【請求項6】
以下の関係式(12)を満たすことを特徴とする請求項1に記載の撮像光学レンズ。
5.00≦(R5+R6)/f≦7.80 (12)
【請求項7】
前記第3レンズの物体側面の最大光学半径をSD31、前記第3レンズの物体側面の最大光学半径における矢高をSAG31、前記第1レンズの物体側面の最大光学半径をSD11、前記第1レンズの物体側面の最大光学半径における矢高をSAG11、前記第1レンズの物体側面の近軸における中心曲率半径をR1、前記第3レンズの物体側面の近軸における中心曲率半径をR5とし、かつ、以下の関係式(13)を満たすことを特徴とする請求項1に記載の撮像光学レンズ。
-6.60≦(SAG31/SD31*R5)/(SAG11/SD11*R1)≦-1.40(13)
【請求項8】
以下の関係式(14)を満たすことを特徴とする請求項7に記載の撮像光学レンズ。
-5.80≦(SAG31/SD31*R5)/(SAG11/SD11*R1)≦-1.70 (14)
【請求項9】
前記第1レンズの軸上厚みをd1、前記第2レンズの軸上厚みをd3、前記第7レンズの軸上厚みをd13とし、かつ、以下の関係式(15)を満たすことを特徴とする請求項1に記載の撮像光学レンズ。
1.45≦(d1+d3+d13)/d1≦2.25 (15)
【請求項10】
以下の関係式(16)を満たすことを特徴とする請求項9に記載の撮像光学レンズ。
1.63≦(d1+d3+d13)/d1≦2.02 (16)
(【請求項11】以降は省略されています)
発明の詳細な説明
【技術分野】
【0001】
本発明は、光学レンズ分野に関し、特にスマートフォン、デジタルカメラなどの携帯端末装置と、モニタ、PCレンズ、車載レンズなどの撮像装置とに適用される撮像光学レンズ及びレンズアセンブリに関する。
続きを表示(約 2,500 文字)
【背景技術】
【0002】
近年、様々なスマートデバイスの発展に伴い、小型化撮像光学レンズの需要がますます高まっており、且つ感光素子の画素サイズが縮小することに加えて、現在の電子製品は、機能性が高く且つ軽量・薄型・携帯便利な外形を発展傾向としているため、良好な結像品質を備えた小型化撮像光学レンズは、現在の市場において主流となっている。優れた結像品質を得るために、多枚式のレンズ構造を採用することが多い。また、技術の発展及びユーザの多様化のニーズの増加に伴い、感光素子の画素面積が縮小しつつあり且つ結像品質に対するシステムからの要求が高くなってきている場合には、7枚式のレンズ構造が徐々にレンズの設計に現れている。優れた光学特性を有し、加工性がよく且つ収差が十分に補正される広角撮像レンズ及びレンズアセンブリの需要が緊迫化している。
【発明の概要】
【発明が解決しようとする課題】
【0003】
上記問題に鑑みて、本発明は、良好な光学性能を有するとともに、収差が小さく、高画質、加工の容易さ及び後期の画像歪みの調節に便利な設計要求を満たす撮像光学レンズを提供することを目的とする。
【課題を解決するための手段】
【0004】
上記目的を達成するために、本発明の技術案は、撮像光学レンズを提供し、前記撮像光学レンズは、合計7枚のレンズにより構成され、前記7枚のレンズは、物体側から像側へ順に、正の屈折力を有する第1レンズ、負の屈折力を有する第2レンズ、負の屈折力を有する第3レンズ、正の屈折力を有する第4レンズ、負の屈折力を有する第5レンズ、正の屈折力を有する第6レンズ、負の屈折力を有する第7レンズであり、
前記第1レンズは、物体側面が近軸において凸面であり、像側面が近軸において凹面であり、前記第2レンズは、物体側面が近軸において凸面であり、像側面が近軸において凹面であり、前記第3レンズは、物体側面が近軸において凸面であり、像側面が近軸において凹面であり、前記第4レンズは、物体側面が近軸において凸面であり、像側面が近軸において凸面であり、前記第5レンズの像側面は近軸において凹面であり、前記第6レンズは、物体側面が近軸において凸面であり、像側面が近軸において凹面であり、前記第7レンズは、物体側面が近軸において凸面であり、像側面が近軸において凹面であり、
前記撮像光学レンズの1.0倍の視野での歪みをDIST
1.0H
、0.8倍の視野での歪みをDIST
0.8H
、0.6倍の視野での歪みをDIST
0.6H
、0.5倍の視野での歪みをDIST
0.5H
、0.3倍の視野での歪みをDIST
0.3H
、前記第1レンズと前記第2レンズと前記第3レンズと前記第4レンズと前記第5レンズとの合成焦点距離をf12345、前記第6レンズと前記第7レンズとの合成焦点距離をf67、前記第7レンズの物体側面の近軸における中心曲率半径をR13、前記第7レンズの像側面の近軸における中心曲率半径をR14、前記第1レンズのアッベ数をv1、前記第3レンズの物体側面の近軸における中心曲率半径をR5、前記第3レンズの像側面の近軸における中心曲率半径をR6、前記撮像光学レンズの焦点距離をf、前記撮像光学レンズの入射瞳径をENPD、前記撮像光学レンズの1.0倍の視野での画角をFOVとし、且つ、以下の関係式(1)~関係式(7)を満たす。
0.40≦(DIST
0.8H
-DIST
0.5H
)/(DIST
0.5H
-DIST
0.3H
)≦1.60 (1)
-0.13≦(DIST
1.0H
-DIST
0.8H
)/(DIST
0.8H
-DIST
0.6H
)≦2.50 (2)
0.25≦f12345/f67≦2.40 (3)
1.60≦R13/R14≦3.80 (4)
80.00≦v1≦82.00 (5)
4.00≦(R5+R6)/f≦9.00 (6)
0.05≦ENPD/FOV≦0.07 (7)
【0005】
好ましくは、以下の関係式(8)を満たす。
0.40≦(DIST
0.8H
-DIST
0.5H
)/(DIST
0.5H
-DIST
0.3H
)≦1.40 (8)
【0006】
好ましくは、 以下の関係式(9)を満たす。
-0.12≦(DIST
1.0H
-DIST
0.8H
)/(DIST
0.8H
-DIST
0.6H
)≦2.10 (9)
【0007】
好ましくは、以下の関係式(10)を満たす。
0.25≦f12345/f67≦2.10 (10)
【0008】
好ましくは、以下の関係式(11)を満たす。
2.00≦R13/R14≦3.20 (11)
【0009】
好ましくは、以下の関係式(12)を満たす。
5.00≦(R5+R6)/f≦7.80 (12)
【0010】
好ましくは、前記第3レンズの物体側面の最大光学半径をSD31、前記第3レンズの物体側面の最大光学半径における矢高をSAG31、前記第1レンズの物体側面の最大光学半径をSD11、前記第1レンズの物体側面の最大光学半径における矢高をSAG11、前記第1レンズの物体側面の近軸における中心曲率半径をR1、前記第3レンズの物体側面の近軸における中心曲率半径をR5とし、且つ、以下の関係式(13)を満たす。
-6.60≦(SAG31/SD31*R5)/(SAG11/SD11*R1)≦-1.40(13)
(【0011】以降は省略されています)
この特許をJ-PlatPat(特許庁公式サイト)で参照する
関連特許
個人
立体像表示装置
18日前
住友化学株式会社
偏光板
15日前
カンタツ株式会社
光学系
10日前
東レ株式会社
積層フィルム
24日前
株式会社シグマ
結像光学系
4日前
住友化学株式会社
垂直偏光板
15日前
東レ株式会社
赤外線遮蔽構成体
18日前
東レ株式会社
貼合体の製造方法
18日前
日本精機株式会社
ミラーユニット
3日前
古河電気工業株式会社
融着機
10日前
日本電気株式会社
光モジュール
4日前
スタンレー電気株式会社
照明装置
25日前
日本電気株式会社
光集積回路素子
22日前
個人
多方向視差効果のための微細穴加工
5日前
三菱電機株式会社
レンズモジュール
15日前
個人
眼鏡装着位置変更具および眼鏡
16日前
京セラ株式会社
光学系
2日前
住友化学株式会社
偏光板
18日前
日東電工株式会社
調光フィルム
23日前
AGC株式会社
インフィニティミラー
11日前
住友化学株式会社
積層体
22日前
住友化学株式会社
偏光板
18日前
住友化学株式会社
偏光積層体
18日前
新光電気工業株式会社
光導波路部品
15日前
日本精機株式会社
ヘッドアップディスプレイ装置
23日前
住友化学株式会社
光学積層体
18日前
新光電気工業株式会社
光導波路部品
15日前
キヤノン株式会社
レンズ装置および撮像装置
23日前
株式会社タムロン
ズームレンズ及び撮像装置
2日前
住友ベークライト株式会社
積層体の製造方法
23日前
Orbray株式会社
MEMS光スイッチの制御方法
23日前
スタンレー電気株式会社
透光性樹脂部材
2日前
富士通株式会社
波長変換装置および波長変換方法
8日前
住友化学株式会社
偏光板及び画像表示装置
24日前
古河電気工業株式会社
光モジュール、光接続構造
23日前
日東電工株式会社
積層光学部材及び光学装置
22日前
続きを見る
他の特許を見る