TOP
|
特許
|
意匠
|
商標
特許ウォッチ
Twitter
他の特許を見る
10個以上の画像は省略されています。
公開番号
2025159572
公報種別
公開特許公報(A)
公開日
2025-10-21
出願番号
2024062249
出願日
2024-04-08
発明の名称
パーツフォーマー用の金型
出願人
大川精螺工業株式会社
代理人
弁理士法人太陽国際特許事務所
主分類
B21K
27/00 20060101AFI20251014BHJP(本質的には材料の除去が行なわれない機械的金属加工;金属の打抜き)
要約
【課題】固定型から押し出されるワークの姿勢が変化するのを抑制することである。
【解決手段】パーツフォーマー用の金型は、一方向に移動してワークを一方向の一方側に移動させる移動型と、移動型によって一方向の一方側からワークが押し付けられる固定型と、固定型に設けられ、固定型に押圧されたワークを一方向の他方側へ押し出す押出し部材と、固定型に設けられ、一方向に対して交差する交差方向に移動可能とされ、押出し部材によって押し出されるワークを挟んでワークの姿勢を保持する一対の保持部材と、を備える。
【選択図】図9
特許請求の範囲
【請求項1】
一方向に移動する移動型と、
移動する前記移動型によって前記一方向の一方側からワークが押圧される固定型と、
前記固定型に設けられ、前記固定型に押圧された前記ワークを前記一方向の他方側へ押し出す押出し部材と、
前記固定型に設けられ、前記一方向に対して交差する交差方向に移動可能とされ、前記押出し部材によって押し出される前記ワークを挟んで前記ワークの姿勢を保持する一対の保持部材と、
を備えるパーツフォーマー用の金型。
続きを表示(約 460 文字)
【請求項2】
前記固定型は、弾性変形して前記保持部材を前記ワークに向けて付勢する付勢部材を備える、
請求項1に記載のパーツフォーマー用の金型。
【請求項3】
前記保持部材には前記交差方向で前記ワークと接触する接触面が形成されており、前記一方向から見て前記接触面は、前記ワークの外形形状に沿っている、
を備える請求項1に記載のパーツフォーマー用の金型。
【請求項4】
前記接触面は、前記一方向に延びている、
を備える請求項3に記載のパーツフォーマー用の金型。
【請求項5】
前記固定型は、前記一方向及び前記交差に対して交差する他の交差方向に移動して前記ワークを押圧可能な押圧部材を有し、
前記移動型は、前記一方向に移動して前記押圧部材に作用して前記押圧部材を前記他の交差方向へ移動させ、前記押圧部材によって、前記ワークが前記交差方向に膨らむように、前記ワークを前記他の交差方向に押圧させる、
請求項1に記載のパーツフォーマー用の金型。
発明の詳細な説明
【技術分野】
【0001】
本発明は、パーツフォーマー用の金型に関する。
続きを表示(約 1,400 文字)
【背景技術】
【0002】
下記特許文献1には、ダイとこれに対向して進退移動するパンチとで素材を粗から精へと順次圧造成形して穴を有する成形品を形成するようにした多段式パーツフォーマーにおいて、パンチ又はダイ内にて、前方押し出し、又は後方押し出しにより穴を成形する工程の次工程に、成形された穴内のパンチの折れ込み、チッピング等を探知する穴検査ケージピンが設けられていることが記載されている。
【先行技術文献】
【特許文献】
【0003】
実願2002-5607号公報
【発明の概要】
【発明が解決しようとする課題】
【0004】
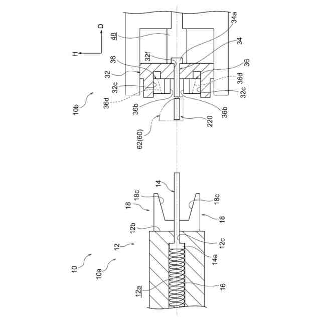
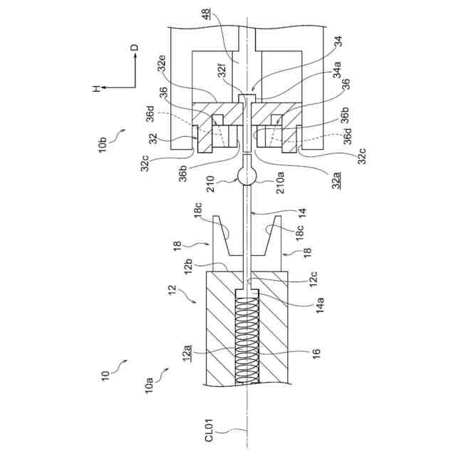
従来、多段式鍛造装置であるパーツフォーマーを用いて製品を加工する場合には、供給された材料を一定寸法に切断して、固定型と移動型とを夫々有する複数の金型でワークを加工する。具体的には、切断されたワークを固定型と移動型とから構成される複数の金型の間に順次搬送し、夫々の固定型(ダイ)と移動型(パンチ)との間で一方向に押圧力をワークに加えることで、ワークが最終的に製品となる。より具体的には、固定型に対して移動型を一方向の一方側に移動させることで、ワークに一方向の一方側から押圧力を加える。
【0005】
また、パーツフォーマーには、一の金型から他の金型へワークを把持してワークを搬送する搬送ユニットが設けられている。ここで、移動型によって一方向の一方側に固定型に押圧されたワークを一方向の他方側へ押し出してワークを搬送ユニットに引き渡さなければならない。そこで、押し出されるワークの姿勢が変化すると、姿勢が変化したワークが搬送ユニットに引き渡されてしまう。
【0006】
本開示の課題は、固定型から押し出されるワークの姿勢が変化するのを抑制することである。
【課題を解決するための手段】
【0007】
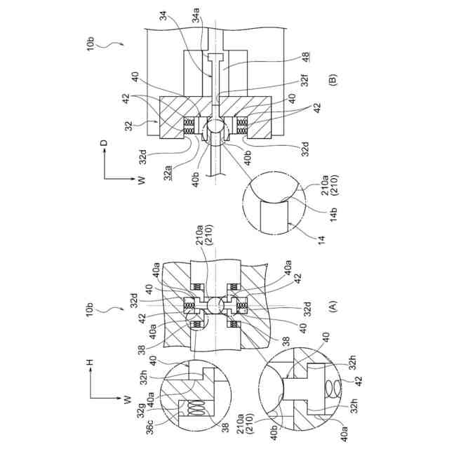
第1態様に記載のパーツフォーマー用の金型は、一方向に移動する移動型と、移動する前記移動型によって前記一方向の一方側からワークが押圧される固定型と、前記固定型に設けられ、前記固定型に押圧された前記ワークを前記一方向の他方側へ押し出す押出し部材と、前記固定型に設けられ、前記一方向に対して交差する交差方向に移動可能とされ、前記押出し部材によって押し出される前記ワークを挟んで前記ワークの姿勢を保持する一対の保持部材と、を備えることを特徴する。
【0008】
以上の構成によると、一対の保持部材が、押出し部材によって固定型から押し出されるワークを交差方向から挟んで押し出されるワークの姿勢を保持する。これにより、固定型から押し出されるワークの姿勢が変化するのを抑制することができる。
【0009】
第2態様に記載のパーツフォーマー用の金型は、第1態様に記載のパーツフォーマー用の金型において、前記固定型は、弾性変形して前記保持部材を前記ワークに向けて付勢する付勢部材を備えることを特徴する。
【0010】
以上の構成によると、付勢部材が、弾性変形して保持部材をワークに向けて付勢する。これにより、カム等の機構を用いて保持部材を付勢する場合と比して、保持部材を簡易な構成でワークに向けて付勢することができる。
(【0011】以降は省略されています)
この特許をJ-PlatPat(特許庁公式サイト)で参照する
関連特許
大川精螺工業株式会社
パーツフォーマー用の金型
2日前
大川精螺工業株式会社
パーツフォーマー用の金型
2日前
大川精螺工業株式会社
パーツフォーマー用の搬送ユニット
2日前
個人
棒鋼連続引抜装置
7か月前
個人
ヘッダー加工機
4か月前
株式会社プロテリアル
鍛造装置
9か月前
株式会社オプトン
曲げ加工装置
7か月前
トヨタ自動車株式会社
金型装置
9か月前
日東精工株式会社
中空軸部品の製造方法
3か月前
株式会社不二越
NC転造盤
3か月前
株式会社不二越
NC転造盤
7か月前
日伸工業株式会社
プレス加工装置
3か月前
オムロン株式会社
導線折り曲げ治具
1か月前
株式会社アマダ
曲げ金型
1か月前
トヨタ紡織株式会社
プレス装置
5か月前
東栄工業株式会社
ダブルデッキヘミング金型
3か月前
トヨタ紡織株式会社
プレス金型
1か月前
株式会社西田製作所
パンチャーヘッド
5か月前
トヨタ紡織株式会社
プレス金型
4か月前
工機ホールディングス株式会社
ニブラ
5か月前
トヨタ紡織株式会社
プレス金型
6か月前
株式会社トラバース
パンチング加工装置
6か月前
株式会社アマダ
曲げ加工機
4か月前
日鉄建材株式会社
成形装置
13日前
株式会社アマダ
曲げ加工機
7か月前
株式会社TMEIC
監視装置
6か月前
日産自動車株式会社
逐次成形方法
8か月前
トヨタ自動車株式会社
打ち抜き加工方法
5か月前
トヨタ自動車株式会社
パイプ曲げ加工装置
7か月前
株式会社三明製作所
転造装置
9か月前
株式会社カネミツ
筒張出部形成方法
8か月前
株式会社吉野機械製作所
プレス機械
8か月前
株式会社三明製作所
転造装置
1か月前
ユニプレス株式会社
プレス加工装置
2か月前
加藤軽金属工業株式会社
押出材の加工装置
7か月前
ユニオンツール株式会社
転造ダイスセット
3か月前
続きを見る
他の特許を見る