TOP
|
特許
|
意匠
|
商標
特許ウォッチ
Twitter
他の特許を見る
公開番号
2025159362
公報種別
公開特許公報(A)
公開日
2025-10-21
出願番号
2024061824
出願日
2024-04-08
発明の名称
膜分離活性汚泥処理に用いられる膜分離装置および膜分離装置を備えた水処理設備
出願人
株式会社クボタ
代理人
弁理士法人森本国際特許事務所
主分類
B01D
63/08 20060101AFI20251014BHJP(物理的または化学的方法または装置一般)
要約
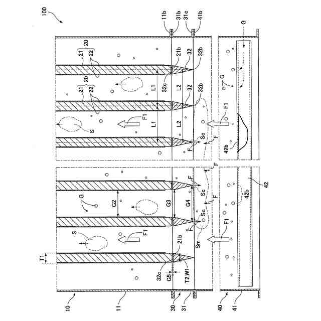
【課題】既設の装置を利用して膜エレメントの損傷を防止することができる膜分離装置を提供する。
【解決手段】膜分離装置100は、複数の膜エレメント20と、散気装置42と、分断装置30とを備える。膜エレメント20は、濾板21と、濾板21の表面に分離膜22を備える。散気装置42は、複数の膜エレメント20の下方から膜エレメント20を散気する。分断装置30は、複数の膜エレメント20の下方かつ散気装置42の上方に着脱自在に配置される。分断装置30は、刃先32bが下方を向く複数の長尺状のカッター32を有する。複数の膜エレメント20は、膜エレメントの厚さ方向に所定間隔をあけて並列に設けられる。複数のカッター32は、カッター32の厚さ方向に、膜エレメントの所定間隔に対応する間隔をあけて並列に設けられる。それぞれのカッター32は膜エレメント20の下方に連なって設けられる。
【選択図】図2
特許請求の範囲
【請求項1】
被処理水を濾過する複数の膜エレメントと、
前記膜エレメントの下方に設けられる散気装置と、
前記膜エレメントの下方かつ前記散気装置の上方に着脱自在に設けられる分断装置と
を備え、
前記膜エレメントは、
上下方向および幅方向に延びる濾板と、
前記濾板の表面に備えられる分離膜と
を有し、
複数の前記膜エレメントは、前記膜エレメントの厚さ方向に所定間隔をあけて並列に設けられ、
前記散気装置は、複数の前記膜エレメントを下方から散気し、
前記分断装置は、刃先が下方を向く複数の長尺状のカッターを有し、
複数の前記カッターは、前記カッターの厚さ方向に前記所定間隔に対応する間隔をあけて並列に設けられるとともに、それぞれの前記カッターは前記膜エレメントの下方に連なって設けられる、膜分離装置。
続きを表示(約 690 文字)
【請求項2】
前記カッターの長手方向は、前記膜エレメントの前記幅方向と同方向である、請求項1に記載の膜分離装置。
【請求項3】
複数の前記カッターは、前記カッターの前記厚さ方向における両下端部のそれぞれに前記刃先が設けられる、請求項2に記載の膜分離装置。
【請求項4】
複数の前記カッターは、前記カッターの厚さが前記膜エレメントの厚さよりも薄い前記カッターを有する、請求項2に記載の膜分離装置。
【請求項5】
複数の前記カッターは、樹脂製の前記カッターを有する、請求項2に記載の膜分離装置。
【請求項6】
複数の前記カッターは、複合材カッターを有し、
前記複合材カッターは、
樹脂製のカッター本体と、
前記カッター本体に設けられるとともに、前記刃先を有する金属製の刃部と
を有する、請求項2に記載の膜分離装置。
【請求項7】
複数の前記カッターは、前記刃先が前記上下方向に傾斜している前記カッターを有する、請求項2から請求項6のいずれか1項に記載の膜分離装置。
【請求項8】
請求項2から請求項6のいずれか1項に記載の膜分離装置を1つ以上有する処理槽と、
前記被処理水を前記処理槽に供給する供給ラインと、
前記供給ラインの途中に設けられた前濾過装置と、
前記処理槽から前記前濾過装置に、前記処理槽内の前記被処理水を返送する返送ラインと
を備え、
前記前濾過装置は、前記被処理水を濾過する、水処理設備。
発明の詳細な説明
【技術分野】
【0001】
本発明は、膜分離活性汚泥処理に用いられる膜分離装置および膜分離装置を備えた水処理設備に関する。
続きを表示(約 1,800 文字)
【背景技術】
【0002】
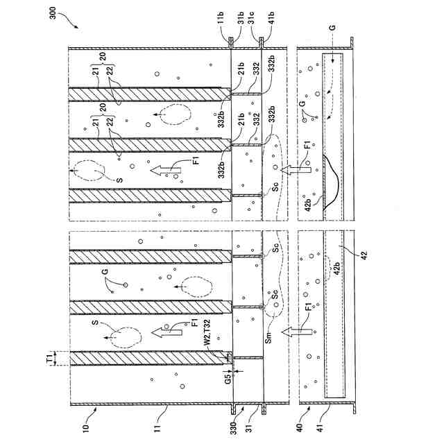
従来、この種の膜分離装置では、分離膜を備える膜エレメントを複数並べて配置する。汚水は、膜エレメントの下方から流れ込み、膜エレメント間を上方に流れる。そして汚水は、分離膜を通ることで透過水と活性汚泥とに分離される。汚水中には、毛髪や紙の断片などの微細な「し渣」が含まれる。微細なし渣は、お互い絡みついて肥大化することがある。肥大化したし渣の塊りは、汚水とともに膜エレメント間を流れる際、例えば膜エレメントの下端部に引っ掛かって膜分離装置内に滞留することがある。滞留したし渣が蓄積して大きくなると、蓄積したし渣が分離膜に到達し、し渣と分離膜とが接触することで、分離膜が損傷するおそれがある。
【先行技術文献】
【特許文献】
【0003】
特開2016-168546号公報
【発明の概要】
【発明が解決しようとする課題】
【0004】
これに対して例えば特許文献1に記載の膜分離装置は、膜エレメントの下方側にし渣接触抑制部材を設ける。そして特許文献1に記載の膜分離装置は、し渣の塊りをし渣接触抑制部材に引っ掛けることで、し渣の滞留によるし渣と分離膜との接触を抑制する。よって特許文献1に記載の膜分離装置は、し渣の滞留による分離膜の損傷を防止する。
【0005】
しかしながら、特許文献1に記載の膜分離装置は、長期間し渣接触抑制部材に引っ掛かったし渣が滞留して蓄積し続けることで、蓄積したし渣が肥大化し、結局膜エレメントの分離膜まで到達するおそれがある。すると、し渣と分離膜とが接触することで、分離膜が損傷するおそれがある。また特許文献1に記載の膜分離装置は、し渣接触抑制部材を設けることで膜エレメントの全長が長くなる結果、既設の膜分離装置をそのまま転用できないことがある。
【0006】
本発明は、上記課題に鑑みてなされたものであり、既設の装置を利用して膜エレメント(分離膜)の損傷を防止することができる膜分離装置を提供することを目的とする。
【課題を解決するための手段】
【0007】
本発明の一局面によれば、膜分離装置は、被処理水を濾過する複数の膜エレメントと、
前記膜エレメントの下方に設けられる散気装置と、
前記膜エレメントの下方かつ前記散気装置の上方に着脱自在に設けられる分断装置と
を備え、
前記膜エレメントは、
上下方向および幅方向に延びる濾板と、
前記濾板の表面に備えられる分離膜と
を有し、
複数の前記膜エレメントは、前記膜エレメントの厚さ方向に所定間隔をあけて並列に設けられ、
前記散気装置は、複数の前記膜エレメントを下方から散気し、
前記分断装置は、刃先が下方を向く複数の長尺状のカッターを有し、
複数の前記カッターは、前記カッターの厚さ方向に前記所定間隔に対応する間隔をあけて並列に設けられるとともに、それぞれの前記カッターは前記膜エレメントの下方に連なって設けられるものである。
【0008】
これによると、前記膜分離装置は、前記分断装置の複数の前記カッターの前記刃先により、前記膜エレメントの下方側において前記し渣の塊りを分断する。すなわちし渣の塊りは、複数の切れ端に分断される。前記し渣の切れ端は、膜エレメント間の流通路を下か上へと流れて、前記膜エレメントの上方へ通過する。よって前記膜分離装置は、前記し渣の塊りが前記膜エレメント下端部に滞留することを防止することができ、滞留した前記し渣が蓄積して前記膜エレメントの前記分離膜に接触することを抑制することができる。また前記膜分離装置は、前記分断装置が着脱自在に構成されることで、既設の装置に前記分断装置を付け加える改良を行うだけで、前記膜分離装置として構成されることができる。
【0009】
本第2発明による膜分離装置は、前記カッターの長手方向は、前記膜エレメントの前記幅方向と同方向であるものである。
【0010】
これによると、前記膜分離装置は、前記カッターが前記膜エレメント下端部を覆うように配置される。よって前記膜分離装置は、前記し渣が前記膜エレメント下端部に滞留することを抑制する。
(【0011】以降は省略されています)
この特許をJ-PlatPat(特許庁公式サイト)で参照する
関連特許
株式会社クボタ
作業車
17日前
株式会社クボタ
作業車
9日前
株式会社クボタ
作業車
18日前
株式会社クボタ
作業車
18日前
株式会社クボタ
作業車
2日前
株式会社クボタ
作業車
17日前
株式会社クボタ
作業車
17日前
株式会社クボタ
作業車
25日前
株式会社クボタ
作業車
10日前
株式会社クボタ
作業車
10日前
株式会社クボタ
移植機
10日前
株式会社クボタ
移植機
10日前
株式会社クボタ
作業車
25日前
株式会社クボタ
作業車
9日前
株式会社クボタ
作業車
27日前
株式会社クボタ
作業車
2日前
株式会社クボタ
作業車
3日前
株式会社クボタ
作業車両
27日前
株式会社クボタ
作業車両
17日前
株式会社クボタ
作業車両
27日前
株式会社クボタ
作業車両
27日前
株式会社クボタ
作業車両
27日前
株式会社クボタ
作業車両
27日前
株式会社クボタ
作業車両
2日前
株式会社クボタ
作業車両
27日前
株式会社クボタ
作業車両
27日前
株式会社クボタ
作業車両
27日前
株式会社クボタ
作業車両
27日前
株式会社クボタ
作業車両
2日前
株式会社クボタ
作業車両
3日前
株式会社クボタ
作業車両
17日前
株式会社クボタ
コンバイン
18日前
株式会社クボタ
多目的車両
18日前
株式会社クボタ
多目的車両
18日前
株式会社クボタ
多目的車両
18日前
株式会社クボタ
多目的車両
18日前
続きを見る
他の特許を見る