TOP
|
特許
|
意匠
|
商標
特許ウォッチ
Twitter
他の特許を見る
10個以上の画像は省略されています。
公開番号
2025159167
公報種別
公開特許公報(A)
公開日
2025-10-17
出願番号
2025136416,2024161123
出願日
2025-08-19,2020-12-23
発明の名称
搬送装置及び印刷装置
出願人
セイコーエプソン株式会社
代理人
個人
,
個人
,
個人
主分類
B65H
5/38 20060101AFI20251009BHJP(運搬;包装;貯蔵;薄板状または線条材料の取扱い)
要約
【課題】搬送経路を開放する場合、搬送経路の一部に下降部及び上昇部が存在することで部材が干渉し、搬送経路を開放できなくなる虞がある。
【解決手段】搬送部30は、装置本体12と、カバー部32と、第1経路形成部42と、第2経路形成部74と、移動部60とを備える。装置本体12は、下降経路R2と上昇経路R3とがZ方向にオーバーラップする搬送経路Tが形成される。カバー部32は、搬送経路Tを開閉する。第1経路形成部42は、第1位置及び第2位置に移動可能である。第2経路形成部74は、上昇経路R3を形成し且つ第1経路形成部42と共に下降経路R2を形成する。移動部60は、カバー部32の開閉に伴って第1経路形成部42を移動させる。第1経路形成部42は、閉止状態で移動領域Sに位置する。移動部60は、第1経路形成部42を、カバー部32の開動作で第2位置へ移動させ、カバー部32の閉動作で第1位置へ移動させる。
【選択図】図9
特許請求の範囲
【請求項1】
媒体が搬送される搬送経路が形成される装置本体と、
前記装置本体に設けられ、前記搬送経路を開閉可能なカバー部と、
前記装置本体において第1位置及び第2位置に移動可能に設けられ、前記第1位置では前記搬送経路の一部を形成し、前記第2位置では前記搬送経路から退避する第1経路形成部と、
前記カバー部に設けられ、前記カバー部が前記装置本体に対して閉止された閉止状態において、前記搬送経路の一部を形成する第2経路形成部と、
前記カバー部の開閉動作に伴って前記第1経路形成部を前記第1位置及び前記第2位置の一方に移動させる移動部と、
を備え、
前記第1経路形成部の少なくとも一部は、前記閉止状態の前記カバー部を正面から見て、前記第2経路形成部とオーバーラップし、
前記移動部は、前記カバー部が開動作される場合、前記第1経路形成部を前記第2位置へ移動させ、前記カバー部が閉動作される場合、前記第1経路形成部を前記第1位置へ移動させる、
ことを特徴とする搬送装置。
続きを表示(約 1,600 文字)
【請求項2】
請求項1に記載の搬送装置において、
前記閉止状態の前記カバー部を正面から見た方向は、水平面に沿った方向である、
ことを特徴とする搬送装置。
【請求項3】
請求項1又は請求項2に記載の搬送装置において、
前記第1位置の前記第1経路形成部の少なくとも一部と、前記第2経路形成部の少なくとも一部とは、前記閉止状態において、対向して前記搬送経路の一部を形成する、
ことを特徴とする搬送装置。
【請求項4】
請求項3に記載の搬送装置において、
前記搬送経路は、下降経路によって上方から下方へ搬送した後に、上昇経路によって装置高さ方向の下方から上方へ媒体を搬送する湾曲経路を含み、
前記上昇経路と、前記下降経路とは、前記装置高さ方向においてオーバーラップする、
ことを特徴とする搬送装置。
【請求項5】
請求項3又は請求項4に記載の搬送装置において、
前記第1経路形成部と前記第2経路形成部は、所定の間隔をあけて対向配置されることで前記搬送経路の一部を形成し、
前記移動部は、前記第1経路形成部を前記第2位置へ移動させる場合、前記第1経路形成部と前記第2経路形成部との間隔を前記所定の間隔以上の間隔とする、
ことを特徴とする搬送装置。
【請求項6】
請求項1から請求項5のいずれか1項に記載の搬送装置において、
前記第1経路形成部は、前記媒体を支持可能な媒体支持部材と、前記媒体支持部材を前記第1位置及び前記第2位置の一方へ回転可能に支持する第1回転軸と、を備え、
前記第1回転軸は、前記閉止状態の前記カバー部を正面から見て、前記第2経路形成部とオーバーラップしない、
ことを特徴とする搬送装置。
【請求項7】
請求項1から請求項6のいずれか1項に記載の搬送装置において、
前記第1経路形成部を前記第1位置において保持する保持部が設けられ、
前記保持部は、前記カバー部が前記開動作される場合、前記第1経路形成部の保持状態を解除する、
ことを特徴とする搬送装置。
【請求項8】
請求項7に記載の搬送装置において、
前記第1経路形成部は、前記媒体を支持可能な媒体支持部材と、前記媒体支持部材を前記第1位置及び前記第2位置の一方へ回転可能に支持する第1回転軸と、を備え、
前記保持部は、第2回転軸と、前記第2回転軸に固定され且つ前記カバー部の開閉動作に連動して前記第2回転軸を回転させるレバー部と、前記第2回転軸に固定され前記媒体支持部材を前記第1位置において支持する支持部と、を備え、
前記レバー部は、前記カバー部が前記閉止状態の場合に前記カバー部と接触し、前記カバー部が開放状態の場合に前記カバー部から離れ、
前記レバー部が前記カバー部と接触する状態において、前記支持部は前記媒体支持部材を支持する、
ことを特徴とする搬送装置。
【請求項9】
請求項7又は請求項8に記載の搬送装置において、
前記移動部は、前記保持部を兼ねる、
ことを特徴とする搬送装置。
【請求項10】
請求項6又は請求項8に記載の搬送装置において、
前記第1回転軸は、前記媒体を搬送可能な第1搬送ローラーが設けられ、
前記第2経路形成部は、前記第1搬送ローラーと共に前記媒体を搬送する第2搬送ローラーが設けられ、
前記カバー部が前記閉止状態となる場合、前記第1搬送ローラーと前記第2搬送ローラーとが前記媒体を挟むニップ部を形成し、前記カバー部が開放状態となる場合、前記ニップ部の形成が解除される、
ことを特徴とする搬送装置。
(【請求項11】以降は省略されています)
発明の詳細な説明
【技術分野】
【0001】
本発明は、搬送装置及び印刷装置に関する。
続きを表示(約 3,300 文字)
【背景技術】
【0002】
特許文献1のインクジェット記録装置は、搬送方向の上流の搬送ローラーから下流の搬ローラーへ向けて、記録媒体が上昇する搬送経路が示される。
【先行技術文献】
【特許文献】
【0003】
特開2019-14253号公報
【発明の概要】
【発明が解決しようとする課題】
【0004】
特許文献1のインクジェット記録装置において、装置を大型化させずに搬送経路の長さを長くする構成として、搬送経路の一部が装置高さ方向にオーバーラップするように、搬送経路の一部に下降部及び上昇部を設ける構成が考えられる。搬送経路は、装置本体に残る部材と、装置本体に対して開閉可能な部材とで構成される。
しかし、この構成では、搬送経路を開放する場合、搬送経路の一部に下降部及び上昇部が存在することで部材が干渉し、搬送経路を開放できなくなる虞がある。
【課題を解決するための手段】
【0005】
上記課題を解決する為の、本発明に係る搬送装置は、媒体が装置高さ方向の下方へ搬送される下降経路と前記媒体が前記装置高さ方向の上方へ搬送される上昇経路とが、前記装置高さ方向においてオーバーラップする搬送経路が形成される装置本体と、前記装置本体に設けられ、前記搬送経路を開閉可能なカバー部と、前記装置本体において第1位置及び第2位置に移動可能に設けられ、前記第1位置では前記下降経路の一部を形成し、前記第2位置では前記下降経路から退避する第1経路形成部と、前記カバー部に設けられ、前記カバー部が前記搬送経路を閉止する閉止状態において、前記上昇経路を形成し且つ前記第1経路形成部と共に前記下降経路を形成する第2経路形成部と、前記カバー部の開閉動作に伴って前記第1経路形成部を前記第1位置及び前記第2位置の一方に移動させる移動部と、を備え、前記第1経路形成部の少なくとも一部は、前記閉止状態において、前記第2経路形成部の移動領域に位置し、前記移動部は、前記カバー部が開動作される場合、前記第1経路形成部を前記第2位置へ移動させ、前記カバー部が閉動作される場合、前記第1経路形成部を前記第1位置へ移動させることを特徴とする。
【図面の簡単な説明】
【0006】
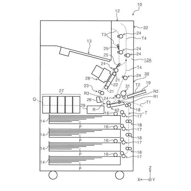
実施形態に係るプリンターの用紙の搬送経路を示す図。
実施形態に係るプリンターの用紙の搬送経路の概略図。
実施形態に係るプリンターの搬送経路が開放された状態を示す斜視図。
実施形態に係る搬送部の下ガイド部材及び移動部を下方から見た斜視図。
実施形態に係る搬送部の下ガイド部材の一部を示す斜視図。
実施形態に係る搬送部の下ガイド部材が本体フレームによって支持される状態を示す縦断面図。
実施形態に係る搬送部の下ガイド部材が支持部に支持される状態を示す縦断面図。
実施形態に係る搬送部のレバー部材がカバー部の被接触面に接触する状態を示す斜視図。
実施形態に係る搬送部の搬送経路の一部を拡大した概略図。
実施形態に係る搬送部のレバー部材の回転に伴って下ガイド部材が第1位置から第2位置へ移動する状態を示す側面図。
実施形態に係るプリンターのカバー部が開動作されることで搬送経路が開放された状態を示す概略図。
【発明を実施するための形態】
【0007】
以下、本発明について概略的に説明する。
第1の態様に係る搬送装置は、媒体が装置高さ方向の下方へ搬送される下降経路と前記媒体が前記装置高さ方向の上方へ搬送される上昇経路とが、前記装置高さ方向においてオーバーラップする搬送経路が形成される装置本体と、前記装置本体に設けられ、前記搬送経路を開閉可能なカバー部と、前記装置本体において第1位置及び第2位置に移動可能に設けられ、前記第1位置では前記下降経路の一部を形成し、前記第2位置では前記下降経路から退避する第1経路形成部と、前記カバー部に設けられ、前記カバー部が前記搬送経路を閉止する閉止状態において、前記上昇経路を形成し且つ前記第1経路形成部と共に前記下降経路を形成する第2経路形成部と、前記カバー部の開閉動作に伴って前記第1経路形成部を前記第1位置及び前記第2位置の一方に移動させる移動部と、を備え、前記第1経路形成部の少なくとも一部は、前記閉止状態において、前記第2経路形成部の移動領域に位置し、前記移動部は、前記カバー部が開動作される場合、前記第1経路形成部を前記第2位置へ移動させ、前記カバー部が閉動作される場合、前記第1経路形成部を前記第1位置へ移動させることを特徴とする。
本態様によれば、前記装置高さ方向に沿って直線状に延びる搬送経路を有する構成に比べて、前記装置高さ方向においてオーバーラップする前記上昇経路及び前記下降経路を有することで、前記搬送経路の経路長を長くすることができる。
また、前記第1経路形成部の少なくとも一部が、前記カバー部の前記閉止状態において、前記第2経路形成部の前記移動領域に位置する。換言すると、前記第1経路形成部の少なくとも一部と前記第2経路形成部の少なくとも一部とが前記装置高さ方向にオーバーラップする配置であるので、前記搬送装置を小型化できる。
さらに、前記移動部が、前記カバー部が開動作される場合、前記第1経路形成部を前記第2位置へ移動させることで、前記第1経路形成部が前記第2経路形成部の前記移動領域から離れるので、前記カバー部の開動作が制限され難くなり、前記搬送経路を開放し易くなる。これにより、前記搬送経路にジャムなどによって留まる前記媒体を、簡単に取り除くことができる。
【0008】
第2の態様に係る搬送装置は、第1の態様において、前記第1経路形成部と前記第2経路形成部は、所定の間隔をあけて対向配置されることで前記下降経路を形成し、前記移動部は、前記第1経路形成部を前記第2位置へ移動させる場合、前記第1経路形成部と前記第2経路形成部との間隔を前記所定の間隔以上の間隔とすることを特徴とする。
本態様によれば、前記第1経路形成部が前記第2位置へ移動される場合、前記所定の間隔以上の間隔が維持される。つまり、前記第1経路形成部と前記第2経路形成部が接触し難くなるので、前記搬送経路に留まる前記媒体が破損することを抑制できる。
【0009】
第3の態様に係る搬送装置は、第1の態様又は第2の態様において、前記第1経路形成部は、前記媒体を支持可能な媒体支持部材と、前記媒体支持部材を前記第1位置及び前記第2位置の一方へ回転可能に支持する第1回転軸と、を備え、前記第1回転軸は、前記装置高さ方向において、前記第2経路形成部の前記移動領域より下方に位置することを特徴とする。
本態様によれば、前記第1経路形成部が前記第1回転軸を中心に回転されることで前記第1位置及び前記第2位置の一方へ移動されるので、簡単な構成で前記第1経路形成部を移動させることができる。また、前記第1回転軸が前記第2経路形成部の前記移動領域より下方に位置するので、前記第1回転軸が前記第2経路形成部と接触するのを防ぐことができる。
【0010】
第4の態様に係る搬送装置は、第3の態様において、前記第1経路形成部を前記第1位置において保持する保持部が設けられ、前記保持部は、前記カバー部が前記開動作される場合、前記第1経路形成部の保持状態を解除することを特徴とする。
本態様によれば、前記カバー部が前記開動作される場合、前記保持部が前記第1経路形成部の保持状態を解除する。ここで、前記第1経路形成部は、保持状態が解除されることで前記第1回転軸による片持ち状態となり、自重によって回転するので、簡単な構成で前記第2経路形成部の前記移動領域を開放させることができる。
(【0011】以降は省略されています)
この特許をJ-PlatPat(特許庁公式サイト)で参照する
関連特許
個人
収容箱
3か月前
個人
コンベア
5か月前
個人
ゴミ収集器
6か月前
個人
段ボール箱
7か月前
個人
段ボール箱
6か月前
個人
容器
9か月前
個人
パウチ補助具
12か月前
個人
バンド
1か月前
個人
角筒状構造体
5か月前
個人
土嚢運搬器具
8か月前
個人
宅配システム
6か月前
個人
楽ちんハンド
4か月前
個人
閉塞装置
10か月前
個人
包装容器
1か月前
個人
コード類収納具
8か月前
個人
廃棄物収容容器
2か月前
個人
お薬の締結装置
5か月前
個人
積み重ね用補助具
2か月前
個人
貯蔵サイロ
6か月前
株式会社バンダイ
物品
14日前
個人
蓋閉止構造
3か月前
個人
把手付米袋
4か月前
個人
蓋閉止構造
3か月前
個人
ゴミ処理機
9か月前
株式会社和気
包装用箱
8か月前
株式会社コロナ
梱包材
5か月前
個人
袋入り即席麺
7か月前
三甲株式会社
容器
1か月前
株式会社イシダ
搬送装置
6か月前
個人
介護用コップ
2か月前
個人
搬送システム
6か月前
個人
コード折り畳み器具
4か月前
三甲株式会社
蓋体
7か月前
三甲株式会社
蓋体
9か月前
個人
包装箱
9か月前
個人
輸送積荷用動吸振器
6か月前
続きを見る
他の特許を見る