TOP
|
特許
|
意匠
|
商標
特許ウォッチ
Twitter
他の特許を見る
公開番号
2025158921
公報種別
公開特許公報(A)
公開日
2025-10-17
出願番号
2025028399
出願日
2025-02-25
発明の名称
量子鍵配送ネットワーク
出願人
株式会社東芝
代理人
弁理士法人鈴榮特許綜合事務所
主分類
H04L
9/12 20060101AFI20251009BHJP(電気通信技術)
要約
【課題】一次ノード及び少なくとも2つの二次ノードを有し、二次ノードが、オフチップレーザと比較して小型かつ低コストになることが可能になるとともに、生産収率を上げることが可能になる量子鍵配送(QKD)システムを提供する。
【解決手段】QKDネットワーク200において、一次ノード(中央ノード)202は、一次レーザ(マスタレーザ)204及び干渉ユニット(測定デバイス)206を含む。複数の二次ノード(ユーザ)208は、フォトニック集積回路(PIC)上に実装される二次レーザ210と、二次レーザによって放出された光上に複数の量子状態を符号化するエンコーダ212と、を含む。二次レーザは、光注入同期方式で一次レーザからの光によって注入され、干渉ユニットは、二次レーザから受け取った光に対して複数の単一光子干渉測定を行う。
【選択図】図2
特許請求の範囲
【請求項1】
量子鍵配送(QKD)システムであって、
一次レーザおよび干渉ユニットを備える一次ノードと、
2つの二次ノードであって、各二次ノードがフォトニック集積回路(PIC)を備える2つの二次ノードと、
を備え、各PICは、前記一次レーザからの光によって注入されるように構成された二次レーザを備え、各二次ノードは、前記二次レーザによって放出された光上に複数の量子状態を符号化するように構成されたエンコーダをさらに備え、
前記干渉ユニットは、複数の二次レーザから受け取られた光に対して複数の単一光子干渉測定を行うように構成されている、QKDシステム。
続きを表示(約 1,000 文字)
【請求項2】
各PICは、入力ポートおよび出力ポートをさらに備え、それぞれの二次レーザは、前記PICの前記入力ポートに接続された入力ポートと、前記PICの前記出力ポートに接続された出力ポートとを備える、請求項1に記載のQKDシステム。
【請求項3】
各PICは、入力ポート、出力ポート、およびスプリッタをさらに備え、前記スプリッタは、前記入力ポート、前記出力ポート、およびそれぞれの二次レーザのポートに結合されている、請求項1に記載のQKDシステム。
【請求項4】
各PICは、入力ポートと、出力ポートと、3つのポートを備えるサーキュレータとをさらに備え、さらに、
前記サーキュレータの第1のポートが、前記入力ポートに結合されており、
前記サーキュレータの第2のポートが、それぞれの二次レーザのポートに結合されており、
前記サーキュレータの第3のポートが、前記出力ポートに結合されている、
請求項1に記載のQKDシステム。
【請求項5】
各PICは、それぞれの二次レーザのポートに結合されたポートをさらに備え、各二次ノードは、前記PICの前記ポートに結合されたビーム合成部品をさらに備える、請求項1に記載のQKDシステム。
【請求項6】
複数のエンコーダのうちの1つは強度変調器を備える、請求項1に記載のQKDシステム。
【請求項7】
複数のエンコーダのうちの1つは位相変調器を備える、請求項1に記載のQKDシステム。
【請求項8】
各エンコーダは、それぞれの二次ノードの前記PIC上に含まれている、請求項1に記載のQKDシステム。
【請求項9】
複数のPICのうちの1つは、可変光減衰器、波長分割マルチプレクサもしくはデマルチプレクサ、光学フィルタ、または偏光子をさらに備える、請求項1に記載のQKDシステム。
【請求項10】
前記干渉ユニットは、2つの二次レーザの各々から光を受け取るように構成されたビームスプリッタを備え、2つの光検出器が前記ビームスプリッタの複数の出力ポートに結合されており、それにより、前記2つの光検出器のうちの一方における検出事象が単一光子干渉測定を示す、請求項1に記載のQKDシステム。
(【請求項11】以降は省略されています)
発明の詳細な説明
【技術分野】
【0001】
本明細書に記載の実施形態は、概して、量子鍵配送に関する。
続きを表示(約 2,000 文字)
【背景技術】
【0002】
量子通信システムにおいて、情報は量子系へと符号化され、送信機と受信機との間で送られる。重ね合わせおよびエンタングルメント(entanglement)などの量子効果を使用して、秘密鍵を配送し、テレポーテーションおよび他の新奇なタスクを行うことができる。
【0003】
量子鍵配送(QKD)とは、多くの場合「アリス」と呼ばれる送信機と多くの場合「ボブ」と呼ばれる受信機の二者間での暗号鍵の共有をもたらす技法である。この技法の魅力は、多くの場合「イブ」と呼ばれる承認されていない盗聴者に、鍵の任意の一部が知られた可能性があるかどうかのテストを提供するということである。量子鍵配送の多くの形態で、アリスとボブは、ビット値を符号化するための2つ以上の非直交基底を使用する。量子力学の法則によれば、イブが各々の符号化基底を事前に知ることなく光子を測定すると、一部の光子の状態の変化を不可避的に引き起こすとされている。これらの光子の状態の変化により、アリスとボブとの間で送られるビット値に誤りが生じることになる。したがって、それらの共通のビット列の一部を比較することによって、アリスとボブは、イブが情報を得たかどうかを決定することができる。
【0004】
測定デバイス非依存(MDI)-QKDおよびツインフィールドQKD(TF-QKD)などのMDIプロトコルが開発されている。これらのプロトコルでは、アリスとボブは、光子を準備し、それらを、チャーリーによってホストされる測定ユニットに送る。チャーリーは、アリスとボブから受け取った光子間で干渉測定を行い、結果を公表する。次いで、アリスとボブは、自分が送った状態ではなく使用した測定基底を公表する。これは、アリスが干渉測定の結果を知り、自分がチャーリーに送った状態を知っているので、基底がマッチしたときに、アリスが、何の状態をボブが送ったのかを知ることを意味している。同様に、ボブは、アリスによって準備された状態を確立することができることになる。
【0005】
光注入同期(OIL:optical injection locking)は、量子通信を含む分野におけるレーザシステムにおいて広く使用されている技法である。光注入同期は、一般に、一次レーザおよび二次レーザを伴う。例えば、一次レーザからの光は、二次レーザによって出力されるパルス間の位相を定義するために使用され得る。
【図面の簡単な説明】
【0006】
図1は、単一光子干渉測定の概略図を示す。
図2は、一実施形態に係る量子鍵配送(QKD)システムを示す。
図3A~図3Dは、図2のシステムにおいて使用され得るフォトニック集積回路(PIC)を示す。
図4は、図2のシステムにおいて使用され得る更なるPICを示す。
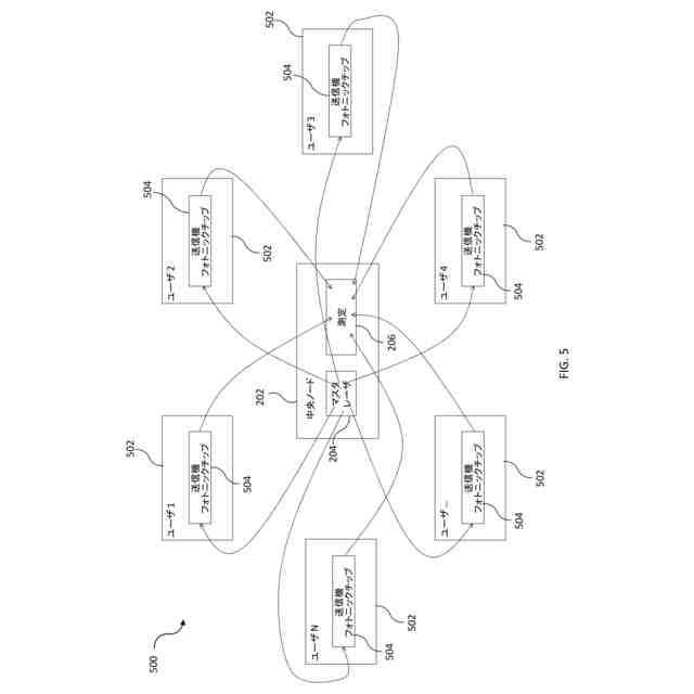
図5は、一実施形態に係る更なるQKDシステムを示す。
図6は、QKDの方法のフローチャートを示す。
【発明を実施するための形態】
【0007】
一実施形態では、量子鍵配送(QKD)システムが提供され、本システムは、一次レーザおよび干渉ユニットを備える一次ノードと、2つの二次ノードであって、各二次ノードがフォトニック集積回路(PIC)を備える、2つの二次ノードと、を備え、各PICは、一次レーザからの光によって注入されるように構成された二次レーザを備え、各二次ノードは、二次レーザによって放出された光上に複数の量子状態を符号化するように構成されたエンコーダをさらに備え、干渉ユニットは、複数の二次レーザから受け取られた光に対して複数の単一光子干渉測定を行うように構成される。
【0008】
オンチップの二次レーザ(すなわち、PIC上に実装された二次レーザ)を使用することにより、二次ノードが、オフチップレーザと比較して小型かつ低コストになることが可能になるとともに、生産収率を上げることが可能になる。
【0009】
一次レーザと二次レーザとの間での光注入同期(OIL)を使用することにより、システムにわたるグローバル位相コヒーレンス(すなわち、一次レーザと各二次レーザとの間、ひいてはすべての二次レーザ間の位相コヒーレンス)が可能になる。これは、一般に、以下で説明するようにツインフィールドQKD(TF-QKD)を実装するための必要条件である。
【0010】
さらに、OILは、各二次レーザの波長を一次レーザの波長に同期させる。これは、特に、オンチップレーザの波長を正確に調整するのが困難である場合が多いことを考慮すると有益である。
(【0011】以降は省略されています)
この特許をJ-PlatPat(特許庁公式サイト)で参照する
関連特許
株式会社東芝
端子台
1か月前
株式会社東芝
電子源
4日前
株式会社東芝
モータ
2か月前
株式会社東芝
電子装置
2か月前
株式会社東芝
除去装置
1か月前
株式会社東芝
吸音装置
2か月前
株式会社東芝
電子装置
1か月前
株式会社東芝
電子回路
1か月前
株式会社東芝
半導体装置
1か月前
株式会社東芝
半導体装置
1か月前
株式会社東芝
真空バルブ
5日前
株式会社東芝
半導体装置
1か月前
株式会社東芝
半導体装置
1か月前
株式会社東芝
半導体装置
2か月前
株式会社東芝
半導体装置
1か月前
株式会社東芝
半導体装置
1か月前
株式会社東芝
高周波回路
1か月前
株式会社東芝
半導体装置
5日前
株式会社東芝
半導体装置
1か月前
株式会社東芝
半導体装置
2か月前
株式会社東芝
真空バルブ
1か月前
株式会社東芝
半導体装置
2か月前
株式会社東芝
半導体装置
11日前
株式会社東芝
半導体装置
5日前
株式会社東芝
半導体装置
1か月前
株式会社東芝
半導体装置
1か月前
株式会社東芝
半導体装置
1か月前
株式会社東芝
真空バルブ
1か月前
株式会社東芝
半導体装置
1か月前
株式会社東芝
半導体装置
1か月前
株式会社東芝
半導体装置
1か月前
株式会社東芝
半導体装置
1か月前
株式会社東芝
真空バルブ
今日
株式会社東芝
半導体装置
1か月前
株式会社東芝
半導体装置
19日前
株式会社東芝
粒子加速器
2か月前
続きを見る
他の特許を見る