TOP
|
特許
|
意匠
|
商標
特許ウォッチ
Twitter
他の特許を見る
公開番号
2025158712
公報種別
公開特許公報(A)
公開日
2025-10-17
出願番号
2024061527
出願日
2024-04-05
発明の名称
温度センサの取付構造
出願人
トヨタ自動車株式会社
代理人
個人
,
個人
主分類
G01K
1/14 20210101AFI20251009BHJP(測定;試験)
要約
【課題】車外に開放された空間に配策される電線に設けられた温度センサの耐久性が低下することを抑制できる温度センサの取付構造を提供する。
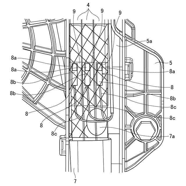
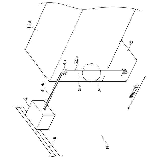
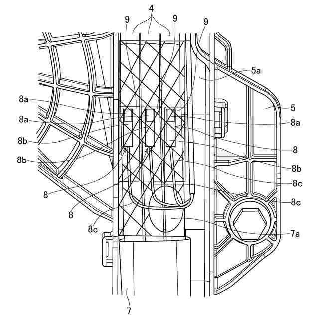
【解決手段】エンジンルーム内に配策されかつ車載機器を電気的に接続する電線4の温度を検出する温度センサ8の取付構造であって、電線4の長手方向における少なくとも一部の外周を囲うプロテクタ5を備え、温度センサ8は、電線4のうちのプロテクタ5に囲われた部分の外表面に取り付けられ、電線4の一部と温度センサ8とが熱収縮チューブ9によって液密状に被覆されている。
【選択図】図2
特許請求の範囲
【請求項1】
車外に開放された空間に配策されかつ車載機器同士を電気的に接続する電線の温度を検出する温度センサの取付構造であって、
前記電線の長手方向における少なくとも一部の外周を囲うプロテクタを備え、
前記温度センサは、前記電線のうちの前記プロテクタに囲われた部分の外表面に取り付けられ、
前記電線の一部と前記温度センサとが液密状に被覆されている
ことを特徴とする温度センサの取付構造。
続きを表示(約 510 文字)
【請求項2】
請求項1に記載の温度センサの取付構造であって、
前記温度センサによって検出された信号を出力するリード線が、前記温度センサに接続され、
前記リード線は、車載状態において前記温度センサから水平よりも下向きに取り出されている
ことを特徴とする温度センサの取付構造。
【請求項3】
請求項2に記載の温度センサの取付構造であって、
前記電線は、ノイズを遮断する編組線によって覆われ、
前記リード線は、前記編組線の網目状の隙間から外部に取り出されている
ことを特徴とする温度センサの取付構造。
【請求項4】
請求項1ないし3のいずれか一項に記載の温度センサの取付構造であって、
前記プロテクタは、車両に連結された振動源に固定されている
ことを特徴とする温度センサの取付構造。
【請求項5】
請求項1ないし3のいずれか一項に記載の温度センサの取付構造であって、
前記温度センサは、前記電線の長手方向における中央部分に取り付けられている
ことを特徴とする温度センサの取付構造。
発明の詳細な説明
【技術分野】
【0001】
本発明は、車載機器に接続された電線の温度を検出する温度センサの取付構造に関するものである。
続きを表示(約 1,400 文字)
【背景技術】
【0002】
特許文献1には、充電インレットとバッテリ装置とを電気的に接続するワイヤーハーネスが記載されている。このワイヤーハーネスは、電線と、電線の端部に接続された端子と、断面コの字型に形成されたホルダと、ホルダに固定されかつ端子の温度を計測する温度センサとによって構成され、上記の温度センサ、および電線と端子との接続部が、熱収縮チューブなどの被覆部材によって被覆されている。
【先行技術文献】
【特許文献】
【0003】
特開2023-91592号公報
【発明の概要】
【発明が解決しようとする課題】
【0004】
特許文献1に記載されたワイヤーハーネスは、車外から隔離された空間に設けられる充電インレットとバッテリ装置とを電気的に接続するように構成されているため、ワイヤーハーネスや温度センサが設けられている箇所に、水や走行時の飛散物などが侵入しにくく、または侵入したとしても、その量が少ないと考えられる。一方、エンジンルームなどの車外に開放された空間に、例えば、インバータとモータとを高圧電線によって接続する場合がある。そのような場合には、充電インレットやバッテリ装置が設けられている空間と比較して、エンジンルームなどの車外に開放された空間に、水や走行時の飛散物などが、侵入しやすく、またその侵入量が多くなる。そのため、車外に開放された空間を配策される高圧電線に温度センサを取り付ける場合には、特許文献1に記載されたワイヤーハーネスのように、断面コの字型に形成されたホルダに温度センサを設け、その温度センサを熱収縮チューブで被覆するのみでは、水や飛散物などがホルダの開口した部分から侵入または接触するなどによる外的要因によって耐久性が低下する可能性がある。
【0005】
本発明は上記の技術的課題に着目してなされたものであり、車外に開放された空間に配策される電線に設けられた温度センサの耐久性が低下することを抑制できる温度センサの取付構造を提供することを目的とするものである。
【課題を解決するための手段】
【0006】
上記の目的を達成するために、本発明は、車外に開放された空間に配策されかつ車載機器同士を電気的に接続する電線の温度を検出する温度センサの取付構造であって、前記電線の長手方向における少なくとも一部の外周を囲うプロテクタを備え、前記温度センサは、前記電線のうちの前記プロテクタに囲われた部分の外表面に取り付けられ、前記電線の一部と前記温度センサとが液密状に被覆されていることを特徴とするものである。
【0007】
また、本発明は、前記温度センサによって検出された信号を出力するリード線が、前記温度センサに接続され、前記リード線は、車載状態において前記温度センサから水平よりも下向きに取り出されていてよい。
【0008】
本発明では、前記電線は、ノイズを遮断する編組線によって覆われ、前記リード線は、前記編組線の網目状の隙間から外部に取り出されていてよい。
【0009】
本発明では、前記プロテクタは、車両に連結された振動源に固定されていてよい。
【0010】
本発明では、前記温度センサは、前記電線の長手方向における中央部分に取り付けられていてよい。
【発明の効果】
(【0011】以降は省略されています)
この特許をJ-PlatPat(特許庁公式サイト)で参照する
関連特許
個人
アクセサリー型テスター
10日前
個人
高精度同時多点測定装置
9日前
アズビル株式会社
電磁流量計
3日前
個人
システム、装置及び実験方法
3日前
ローム株式会社
半導体装置
8日前
ローム株式会社
半導体装置
8日前
長崎県
形状計測方法
10日前
トヨタ自動車株式会社
測定システム
7日前
株式会社デンソー
電流センサ
8日前
コイト電工株式会社
座席濡れ検知装置
14日前
株式会社トプコン
測定装置
14日前
株式会社不二越
X線測定システム
9日前
株式会社不二越
X線測定システム
8日前
ミツミ電機株式会社
超音波風速計
14日前
住鉱潤滑剤株式会社
液体導電率測定装置
14日前
株式会社東芝
電子回路
3日前
アズビル株式会社
位置計測装置および方法
1日前
株式会社東京精密
亀裂測定器
14日前
株式会社サタケ
精白米中の土砂混入率の検査方法
7日前
JFEスチール株式会社
遅れ破壊試験方法
7日前
株式会社日本マイクロニクス
プローブ
1日前
東ソー株式会社
分離剤を充填したカラムの製造方法
10日前
マークテック株式会社
検査装置及び検査方法
14日前
トヨタ自動車株式会社
方法
1日前
株式会社サキコーポレーション
検査装置
10日前
ミツミ電機株式会社
超音波風速計
10日前
アーカイラス株式会社
ペレット及びその製造方法
2日前
株式会社 ミックウェア
情報処理装置、移動端末
1日前
個人
マルチチャンネル二重循環ガス腐食試験装置
9日前
住友ベークライト株式会社
材料の透過性評価方法
14日前
キヤノン株式会社
測距装置
9日前
矢崎総業株式会社
光センシング装置
1日前
株式会社デンソーウェーブ
レーザレーダ装置
7日前
株式会社デンソーウェーブ
レーザレーダ装置
7日前
トヨタ自動車株式会社
温度センサの取付構造
7日前
川崎重工業株式会社
経路作成方法及び経路作成装置
14日前
続きを見る
他の特許を見る