TOP
|
特許
|
意匠
|
商標
特許ウォッチ
Twitter
他の特許を見る
公開番号
2025160546
公報種別
公開特許公報(A)
公開日
2025-10-23
出願番号
2024063106
出願日
2024-04-10
発明の名称
情報処理装置、移動端末
出願人
株式会社 ミックウェア
代理人
個人
主分類
G01C
21/26 20060101AFI20251016BHJP(測定;試験)
要約
【課題】従来、店舗の営業状況の適切な情報を1以上の移動端末に提供できなかった。
【解決手段】2以上の各移動端末から、移動中に撮影された画像を受信する画像受信部121と、画像の中における店舗の営業状況を特定する状況情報を取得する状況取得部と、状況情報に対応する店舗を識別する店舗識別子を取得する識別子取得部132と、営業状況に対応する時に関する時情報を取得する時取得部133と、2以上の各店舗の状況情報を格納する店舗管理部111に、時情報と店舗識別子とに対応付けて、状況情報を蓄積する状況蓄積部134と、1または2以上の各時情報に対応付き、店舗識別子に対応付く状況情報を1以上の移動端末2に送信する状況送信部141とを具備する情報処理装置1により、店舗の営業状況の適切な情報を1以上の移動端末に提供できる。
【選択図】図2
特許請求の範囲
【請求項1】
2以上の各移動端末から、移動中に撮影された画像を受信する画像受信部と、
前記画像の中における店舗の営業状況を特定する状況情報を取得する状況取得部と、
前記状況情報に対応する店舗を識別する店舗識別子を取得する識別子取得部と、
前記営業状況に対応する時に関する時情報を取得する時取得部と、
2以上の各店舗の状況情報を格納する店舗管理部に、前記時情報と前記店舗識別子とに対応付けて、前記状況情報を蓄積する状況蓄積部と、
1または2以上の各時情報に対応付き、店舗識別子に対応付く前記状況情報を1以上の移動端末に送信する状況送信部とを具備する情報処理装置。
続きを表示(約 750 文字)
【請求項2】
前記状況取得部は、
一の店舗について、2以上の異なる各時情報に対応付く状況情報を取得し、
前記一の店舗を識別する店舗識別子に対応付き、2以上の各時情報と対になる状況情報を前記店舗管理部から取得し、当該2以上の状況情報に対して統計処理を行い、統計結果を取得する統計処理部と、
前記一の店舗識別子に対応付く前記統計結果を送信する統計送信部とをさらに具備する請求項1記載の情報処理装置。
【請求項3】
前記時情報は、時間帯を特定する情報であり、
前記統計処理部は、
2以上の各時間帯ごとに、各時間帯に対応付く前記状況情報に対して統計処理を行い、統計結果を取得し、
前記統計送信部は、
1または2以上の各時間帯の前記統計結果を送信する請求項2記載の情報処理装置。
【請求項4】
店舗に関する条件である店舗条件が格納される端末格納部と、
店舗識別子に対応付く状況情報または統計結果を受信する端末受信部と、
前記店舗識別子が識別する店舗が前記店舗条件を満たすか否かを判断する端末判断部と、
前記端末判断部が前記店舗条件を満たすと判断した場合のみ、前記状況情報または前記統計結果を出力する端末出力部とを具備する移動端末。
【請求項5】
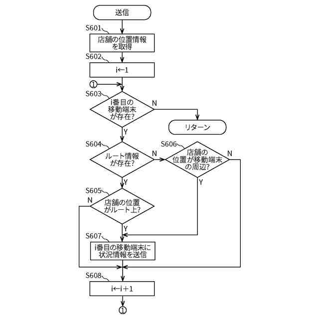
前記端末格納部には、目的地までのルートを特定するルート情報が格納されており、
前記店舗条件は、店舗が前記ルート上または前記ルートの周辺に存在することであり、
前記端末判断部は、
前記店舗識別子と対になる店舗位置を取得し、当該店舗位置を用いて、前記店舗条件を満たすか否かを判断する請求項4記載の移動端末。
発明の詳細な説明
【技術分野】
【0001】
本発明は、店舗の営業状況を取得し、1以上の移動体の端末に送信する情報処理装置等に関するものである。
続きを表示(約 1,200 文字)
【背景技術】
【0002】
従来、車両に搭載された撮像部により取得した画像に基づいて、施設の行列の規模を示す情報を出力する車載装置があった(特許文献1参照)。
【先行技術文献】
【特許文献】
【0003】
特開2018-081052号公報
【発明の概要】
【発明が解決しようとする課題】
【0004】
しかしながら、従来技術においては、店舗の営業状況の適切な情報を1以上の移動端末に提供できなかった。特に、従来技術においては、店舗の状況情報を統計処理した統計結果を1以上の移動端末に提供できなかった。さらに、従来技術においては、2以上の各時間帯における店舗の状況情報を統計処理した統計結果を1以上の移動端末に提供できなかった。
【課題を解決するための手段】
【0005】
本第一の発明の情報処理装置は、2以上の各移動端末から、移動中に撮影された画像を受信する画像受信部と、画像の中における店舗の営業状況を特定する状況情報を取得する状況取得部と、状況情報に対応する店舗を識別する店舗識別子を取得する識別子取得部と、営業状況に対応する時に関する時情報を取得する時取得部と、2以上の各店舗の状況情報を格納する店舗管理部に、時情報と店舗識別子とに対応付けて、状況情報を蓄積する状況蓄積部と、1または2以上の各時情報に対応付き、店舗識別子に対応付く状況情報を1以上の移動端末に送信する状況送信部とを具備する情報処理装置である。
【0006】
かかる構成により、人気のある店舗や新しくできた店舗等の店舗の営業状況の適切な情報を1以上の移動端末に提供できる。
【0007】
また、本第二の発明の情報処理装置は、第一の発明に対して、状況取得部は、一の店舗について、2以上の異なる各時情報に対応付く状況情報を取得し、一の店舗を識別する店舗識別子に対応付き、2以上の各時情報と対になる状況情報を店舗管理部から取得し、2以上の状況情報に対して統計処理を行い、統計結果を取得する統計処理部と、一の店舗識別子に対応付く統計結果を送信する統計送信部とをさらに具備する情報処理装置である。
【0008】
かかる構成により、店舗の状況情報を統計処理した統計結果を提供できる。
【0009】
また、本第三の発明の情報処理装置は、第二の発明に対して、時情報は、時間帯を特定する情報であり、統計処理部は、2以上の各時間帯ごとに、各時間帯に対応付く状況情報に対して統計処理を行い、統計結果を取得し、統計送信部は、1または2以上の各時間帯の統計結果を送信する情報処理装置である。
【0010】
かかる構成により、時間帯ごとの店舗の状況情報を統計処理した統計結果を提供できる。
(【0011】以降は省略されています)
この特許をJ-PlatPat(特許庁公式サイト)で参照する
関連特許
個人
視触覚センサ
2日前
日本精機株式会社
検出装置
1か月前
個人
採尿及び採便具
1か月前
個人
計量機能付き容器
27日前
株式会社ミツトヨ
測定器
1か月前
株式会社カクマル
境界杭
17日前
甲神電機株式会社
電流検出装置
1か月前
日本精機株式会社
発光表示装置
10日前
ユニパルス株式会社
トルク変換器
2日前
株式会社トプコン
測量装置
9日前
ユニパルス株式会社
トルク変換器
2日前
ユニパルス株式会社
トルク変換器
2日前
大成建設株式会社
風洞実験装置
27日前
日本特殊陶業株式会社
ガスセンサ
2日前
日本特殊陶業株式会社
ガスセンサ
9日前
大和製衡株式会社
組合せ計量装置
1か月前
双庸電子株式会社
誤配線検査装置
1か月前
大和製衡株式会社
組合せ計量装置
1か月前
個人
非接触による電磁パルスの測定方法
1か月前
日本特殊陶業株式会社
ガスセンサ
3日前
日本特殊陶業株式会社
ガスセンサ
25日前
愛知電機株式会社
軸部材の外観検査装置
1か月前
個人
計量具及び計量機能付き容器
27日前
日本信号株式会社
距離画像センサ
1か月前
日東精工株式会社
振動波形検査装置
1か月前
個人
液位検視及び品質監視システム
25日前
株式会社不二越
X線測定装置
1か月前
株式会社タイガーカワシマ
揚穀装置
9日前
キーコム株式会社
画像作成システム
17日前
本陣水越株式会社
車載式計測標的物
4日前
日本特殊陶業株式会社
センサ
1か月前
日置電機株式会社
絶縁抵抗測定装置
2日前
日本特殊陶業株式会社
センサ
11日前
株式会社電巧社
試験装置及び試験方法
1か月前
株式会社マグネア
磁界検出素子
1か月前
ユニパルス株式会社
トルク変換器、調整部材
2日前
続きを見る
他の特許を見る