TOP
|
特許
|
意匠
|
商標
特許ウォッチ
Twitter
他の特許を見る
10個以上の画像は省略されています。
公開番号
2025157110
公報種別
公開特許公報(A)
公開日
2025-10-15
出願番号
2024226788
出願日
2024-12-23
発明の名称
マルチチャンネル二重循環ガス腐食試験装置
出願人
個人
代理人
個人
主分類
G01N
17/00 20060101AFI20251007BHJP(測定;試験)
要約
【解決手段】検出対象モジュール、酸検出モジュール、アルカリ検出モジュール、コントローラと排気ガス処理モジュールを備え、排気ガス処理モジュールはバケツ体を含み、バケツ体の底部は酸ガス配管とアルカリガス配管を介してそれぞれ酸検出モジュールとアルカリ検出モジュールの配管ガス排出弁に連通し、バケツ体の頂部にはガス排出配管が連通され、バケツ体内には回転軸が回転可能に接続され、回転軸の表面には螺旋状ブレードとひと組のプルロッドが固定接続される。
【効果】排気ガスをバケツ体内に流入して吸収し、酸性水体またはアルカリ水体を形成した後、後続の検出作業で発生した排気ガスを中和でき、酸検出モジュールとアルカリ検出モジュールで発生した酸排気ガスとアルカリ排気ガスとの間に内部中和反応を行わせ、排気ガスの処理効果を大幅に高める一方、酸またはアルカリを添加不要、取り扱いがより簡単で、腐食試験のコストを低減できる。
【選択図】図2
特許請求の範囲
【請求項1】
検出対象モジュール(1)、酸検出モジュール(2)、アルカリ検出モジュール(3)、コントローラ(4)と排気ガス処理モジュールを備えるマルチチャンネル二重循環ガス腐食試験装置であって、
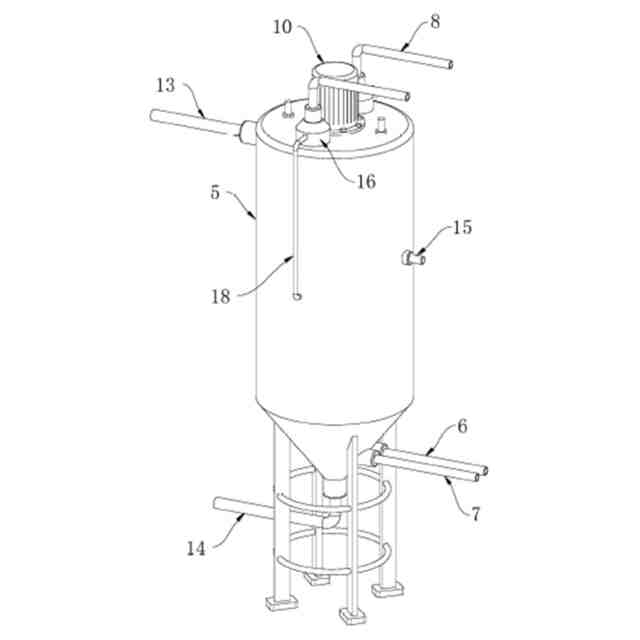
前記排気ガス処理モジュールはバケツ体(5)を含み、前記バケツ体(5)の底部は酸ガス配管(6)とアルカリガス配管(7)を介してそれぞれ酸検出モジュール(2)とアルカリ検出モジュール(3)の配管ガス排出弁(212)に連通し、前記バケツ体(5)の頂部にはガス排出配管(8)が連通されており、かつガス排出配管(8)にはバルブが設けられ、前記バケツ体(5)内には回転軸(9)が回転可能に接続されており、かつ回転軸(9)はモータ(10)によって駆動され、前記回転軸(9)の表面には螺旋状ブレード(11)とひと組のプルロッド(12)が固定接続され、前記プルロッド(12)の長さは螺旋状ブレード(11)の半径よりも大きく、前記バケツ体(5)の頂部内には、酸排気ガスセンサとアルカリ排気ガスセンサとが設けられていることを特徴とするマルチチャンネル二重循環ガス腐食試験装置。
続きを表示(約 1,900 文字)
【請求項2】
前記検出対象モジュール(1)はひと組設けられており、前記検出対象モジュール(1)は収容空気袋(101)と、空気袋ガス供給弁(102)と、2位置三方弁(103)と、空気袋ガス排出弁(104)と、を含み、
前記酸検出モジュール(2)はアルカリ検出モジュール(3)と同じ構造であり、前記酸検出モジュール(2)及びアルカリ検出モジュール(3)は、いずれも第1の接続管(201)、第1の輸送管(202)、第2の輸送管(203)、圧力センサ(204)、配管ガス供給弁(205)、循環ポンプ(206)、第2の接続管(207)、第1の濃度センサ(208)、補給弁(209)、混合装置(210)、第2の濃度センサ(211)及び配管ガス排出弁(212)を含むことを特徴とする請求項1に記載のマルチチャンネル二重循環ガス腐食試験装置。
【請求項3】
前記バケツ体(5)の頂部と底部にはそれぞれ給水管(13)と出水管(14)が連通されており、かつ給水管(13)と出水管(14)にはいずれもバルブが設けられ、前記バケツ体(5)の側面にはPHセンサ(15)が固定接続され、かつPHセンサ(15)の検出端がバケツ体(5)内に入り込むことを特徴とする請求項1に記載のマルチチャンネル二重循環ガス腐食試験装置。
【請求項4】
前記バケツ体(5)とガス排出配管(8)との間はガス排出ケーシング(16)を介して互いに連通し、前記ガス排出ケーシング(16)内には吸着綿(17)が設けられ、前記ガス排出ケーシング(16)とバケツ体(5)の側面との間には導管(18)が連通され、前記導管(18)内には導水綿が設けられ、前記導水綿の一端はバケツ体(5)内まで延び、他端は吸着綿(17)に接触することを特徴とする請求項1に記載のマルチチャンネル二重循環ガス腐食試験装置。
【請求項5】
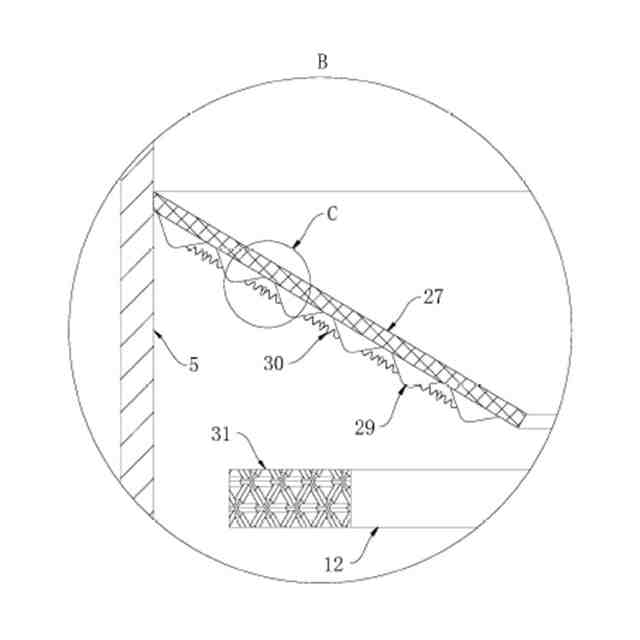
前記吸着綿(17)の上側と下側にはそれぞれ止め板(20)と弾性シート(21)が固定接続されており、かつ止め板(20)と弾性シート(21)はいずれもガス排出ケーシング(16)内に固定接続され、前記止め板(20)と弾性シート(21)との間にはバネ(22)が固定接続され、かつバネ(22)は吸着綿(17)を貫通し、前記止め板(20)の表面にはいずれも通孔(23)がひと組設けられ、前記弾性シート(21)の表面にはいずれもひと組の通溝(24)が設けられ、前記弾性シート(21)の中央部はバケツ体(5)内に下向きに突出し、前記回転軸(9)の頂部には、ホルダー(25)を介してローラ(26)が回転可能に接続されていることを特徴とする請求項4に記載のマルチチャンネル二重循環ガス腐食試験装置。
【請求項6】
前記バケツ体(5)の内側壁表面にはいずれもひと組の止め輪(27)が設けられており、前記止め輪(27)の内側は外側よりも低く、前記止め輪(27)の表面には切欠き(28)が設けられていることを特徴とする請求項1に記載のマルチチャンネル二重循環ガス腐食試験装置。
【請求項7】
隣接する前記止め輪(27)の切欠き(28)の間は、いずれも交互に設けられていることを特徴とする請求項6に記載のマルチチャンネル二重循環ガス腐食試験装置。
【請求項8】
前記止め輪(27)の下側にはいずれもひと組のダンピングブロック(29)が均一に設けられており、隣接する前記ダンパーブロック(29)の間には波状の弾性糸(30)が固定接続されていることを特徴とする請求項7に記載のマルチチャンネル二重循環ガス腐食試験装置。
【請求項9】
前記プルロッド(12)においてかつ止め輪(27)の下側に延在する一端には磁性体(31)が固定接続され、前記弾性糸(30)の中央部にはガイドブロック(32)が固定接続され、かつガイドブロック(32)と磁性体(31)とが近接すると相互に引き付け合うことを特徴とする請求項8に記載のマルチチャンネル二重循環ガス腐食試験装置。
【請求項10】
前記ダンピングブロック(29)内には収容室(33)が開設され、前記収容室(33)内にはゴム膜(34)が固定接続され、かつゴム膜(34)と収容室(33)との間には弾性部材が固定接続され、前記弾性糸(30)の端部は収容室(33)内に延在してかつゴム膜(34)に固定接続され、前記ダンピングブロック(29)の表面にはいずれもひと組のガイド孔(35)が設けられ、かつガイド孔(35)と収容室(33)との間は互いに連通していることを特徴とする請求項9に記載のマルチチャンネル二重循環ガス腐食試験装置。
発明の詳細な説明
【技術分野】
【0001】
本発明は、腐食試験の技術分野に関し、具体的には、マルチチャンネル二重循環ガス腐食試験装置に関する。
続きを表示(約 1,900 文字)
【背景技術】
【0002】
腐食試験とは、指定装置を通じて環境因子による材料に損失や破壊が生じた過程を検出、記録し、それによって材料の耐食性を把握することができる。工業技術の急速な発展に伴い、例えばいくつかのプラスチック、ゴム、金属材料、電子部品のような多くの製品は出荷前に腐食試験を行う必要があり、通常は酸性ガス環境(例えば塩化水素ガス)とアルカリ性ガス環境(例えばアンモニアガス)に測定物を暴露し、ガス濃度の変化によって測定物が腐食されているかどうかを判断する。
【0003】
中国特許出願番号CN117517182Aには、二重循環腐食試験システムを開示し、その技術案のポイントは、検出対象モジュール、アルカリ検出モジュール、酸検出モジュール、コントローラ、中和バケツと混合モジュールを含み、前記アルカリ検出モジュールと酸検出モジュールは検出対象モジュールに接続され、前記コントローラはアルカリ検出モジュールと酸検出モジュールに取り付けられ、前記中和バケツは2つあり、アルカリ検出モジュールと酸検出モジュール内にそれぞれ固定され、前記混合モジュールは2つあり、アルカリ検出モジュールと酸検出モジュール内にそれぞれ固定され、気流動的混合による閉ループ制御を実現し、循環に流れる空気中に腐食ガスなどを混合し、第1のセンサ1と第2のセンサによって閉ループ濃度制御を実現することができる。ガス濃度精密制御を実現し、補給弁により供給ガスを制御し、第1のセンサと第2のセンサによってフィードバックし、動的にリアルタイム濃度を制御する。
【0004】
しかし、上述の技術には、酸検出モジュールとアルカリ検出モジュールにそれぞれ1つの中和バケツが設けられ、酸ガスまたはアルカリガスに対して排気ガスを処理したが、それは使用前に2つの中和バケツにそれぞれアルカリと酸を添加した後、さらに酸排気ガスとアルカリ排気ガスを中和するため、取り扱いが煩雑であるだけでなく、追加の酸またはアルカリを消費し、腐食試験のコストを増加させるという欠点がある。
【0005】
そのため、本発明はマルチチャンネル二重循環ガス腐食試験装置を提供する。
【発明の概要】
【課題を解決するための手段】
【0006】
先行技術の不足を補うために、背景技術において提案された少なくとも1つの技術的問題を解決する。
【0007】
本発明が上記技術問題を解決するために用いた技術手段は、マルチチャンネル二重循環ガス腐食試験装置であって、検出対象モジュール、酸検出モジュール、アルカリ検出モジュール、コントローラと排気ガス処理モジュールを備え、
前記排気ガス処理モジュールはバケツ体を含み、前記バケツ体の底部は酸ガス配管とアルカリガス配管を介してそれぞれ酸検出モジュールとアルカリ検出モジュールの配管ガス排出弁に連通し、前記バケツ体の頂部にはガス排出配管が連通されており、かつガス排出配管にはバルブが設けられ、前記バケツ体内には回転軸が回転可能に接続されており、かつ回転軸はモータによって駆動され、前記回転軸の表面には螺旋状ブレードとひと組のプルロッドが固定接続され、前記プルロッドの長さは螺旋状ブレードの半径よりも大きく、前記バケツ体の頂部内には、酸排気ガスセンサとアルカリ排気ガスセンサとが設けられている。
【0008】
好ましくは、前記検出対象モジュールはひと組設けられており、前記検出対象モジュールは収容空気袋と、空気袋ガス供給弁と、2位置三方弁と、空気袋ガス排出弁と、を含み、
前記酸検出モジュールはアルカリ検出モジュールと同じ構造であり、前記酸検出モジュール及びアルカリ検出モジュールは、いずれも第1の接続管、第1の輸送管、第2の輸送管、圧力センサ、配管ガス供給弁、循環ポンプ、第2の接続管、第1の濃度センサ、補給弁、混合装置、第2の濃度センサ及び配管ガス排出弁を含む。
【0009】
好ましくは、前記バケツ体の頂部と底部にはそれぞれ給水管と出水管が連通されており、かつ給水管と出水管にはバルブが設けられ、前記バケツ体の側面にはPHセンサが固定接続され、かつPHセンサの検出端がバケツ体内に入り込む。
【0010】
好ましくは、前記バケツ体とガス排出配管との間はガス排出ケーシングを介して互いに連通し、前記ガス排出ケーシング内には吸着綿が設けられ、前記ガス排出ケーシングとバケツ体の側面との間には導管が連通され、前記導管内には導水綿が設けられ、前記導水綿の一端はバケツ体内まで延び、他端は吸着綿に接触する。
(【0011】以降は省略されています)
この特許をJ-PlatPat(特許庁公式サイト)で参照する
関連特許
個人
メジャー文具
9日前
個人
高精度同時多点測定装置
1日前
個人
アクセサリー型テスター
2日前
ユニパルス株式会社
ロードセル
8日前
株式会社チノー
放射光測温装置
8日前
株式会社ヨコオ
ソケット
8日前
株式会社ヨコオ
ソケット
7日前
ダイキン工業株式会社
監視装置
6日前
トヨタ自動車株式会社
監視装置
7日前
長崎県
形状計測方法
2日前
TDK株式会社
ガスセンサ
8日前
TDK株式会社
磁気センサ
7日前
ローム株式会社
半導体装置
今日
ローム株式会社
半導体装置
今日
日本特殊陶業株式会社
センサ
6日前
中国電力株式会社
電柱管理システム
6日前
TDK株式会社
電磁波センサ
8日前
日本特殊陶業株式会社
センサ
6日前
日本特殊陶業株式会社
センサ
6日前
多摩川精機株式会社
冗長エンコーダ
7日前
ダイハツ工業株式会社
移動支援装置
7日前
日本特殊陶業株式会社
センサ
6日前
株式会社デンソー
電流センサ
今日
三恵技研工業株式会社
融雪レドーム
7日前
日本特殊陶業株式会社
センサ
6日前
コイト電工株式会社
座席濡れ検知装置
6日前
日鉄テックスエンジ株式会社
聴音装置
8日前
株式会社トプコン
測定装置
6日前
住鉱潤滑剤株式会社
液体導電率測定装置
6日前
ミツミ電機株式会社
超音波風速計
6日前
株式会社不二越
X線測定システム
1日前
株式会社トプコン
測定装置
7日前
株式会社トプコン
測定装置
7日前
大阪瓦斯株式会社
探査装置
7日前
株式会社不二越
X線測定システム
今日
広島県
成形材料挙動検出装置
6日前
続きを見る
他の特許を見る