TOP
|
特許
|
意匠
|
商標
特許ウォッチ
Twitter
他の特許を見る
10個以上の画像は省略されています。
公開番号
2025158233
公報種別
公開特許公報(A)
公開日
2025-10-17
出願番号
2024060578
出願日
2024-04-04
発明の名称
ステータ構造及び同期電動機
出願人
多摩川精機株式会社
,
国立大学法人信州大学
代理人
個人
,
個人
,
個人
,
個人
主分類
H02K
1/16 20060101AFI20251009BHJP(電力の発電,変換,配電)
要約
【課題】ステータ各部の磁束分布の影響による損失を軽減して効率を高めることが可能なステータ構造及び同期電動機を提供する。
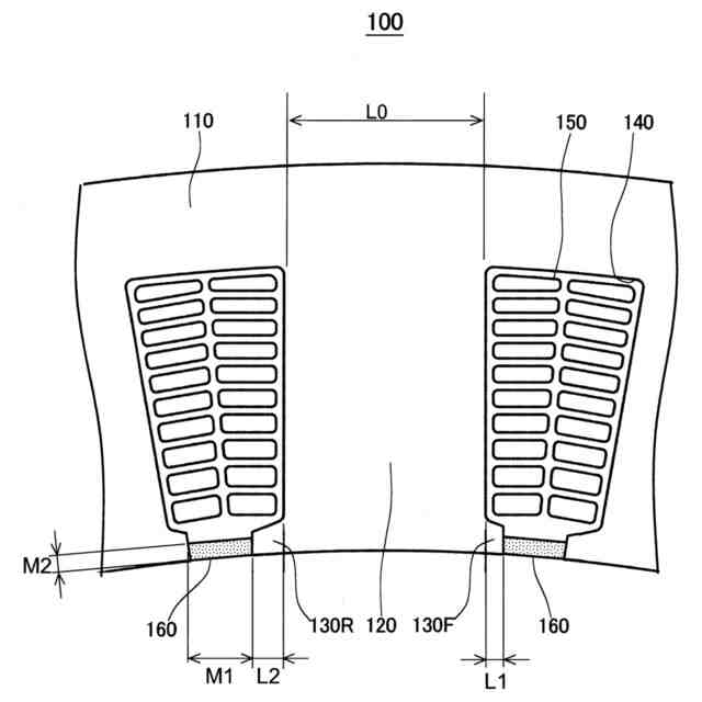
【解決手段】ロータの周囲に配置され、環状磁路部110と、環状磁路部110から径方向内側へ向けて所定角度間隔で突出する複数の突出磁極部120とを有し、複数の突出磁極部120のそれぞれの先端には、ロータ200の回転方向R前方側に延伸する第1つば部130Fと、ロータ200の回転方向R後方側に延伸する第2つば部130Rとが形成され、突出磁極部120から第1つば部130Fの回転方向R前方側の端部までの第1長さL1と、突出磁極部120から第2つば部130Rの回転方向R後方側の端部までの第2長さL2とは、L1<L2の関係を満たす。
【選択図】図2
特許請求の範囲
【請求項1】
ロータ(200)の周囲に配置され、環状磁路部(110)と、前記環状磁路部(110)から径方向内側へ向けて所定角度間隔で突出する複数の突出磁極部(120)とを有し、
前記複数の突出磁極部(120)のそれぞれの先端には、前記ロータ(200)の回転方向(R)前方側に延伸する第1つば部(130F)と、前記ロータ(200)の回転方向(R)後方側に延伸する第2つば部(130R)とが形成され、
前記突出磁極部(120)から前記第1つば部(130F)の回転方向(R)前方側の端部までの第1長さL1と、前記突出磁極部(120)から前記第2つば部(130R)の回転方向(R)後方側の端部までの第2長さL2とは、L1<L2の関係を満たすよう構成される、
ステータ構造。
続きを表示(約 670 文字)
【請求項2】
前記第1つば部(130F)の前記第1長さL1と前記第2つば部(130R)の前記第2長さL2とは、0.45≦(L1/L2)≦0.95
の関係を満たすよう構成される、
請求項1に記載のステータ構造。
【請求項3】
前記突出磁極部(120)には、コイル(150)が集中巻として巻回される、
請求項1に記載のステータ構造。
【請求項4】
前記複数の突出磁極部(120)のうちの隣接する突出磁極部(120)において、周方向に対向する前記第1つば部(130F)と前記第2つば部(130R)との間に、磁性粉体成型体により構成された磁性くさび(160)を備える、
請求項1に記載のステータ構造。
【請求項5】
前記磁性くさび(160)は、前記環状磁路部(110)と前記突出磁極部(120)とを構成する磁性材より小さい透磁率を有する前記磁性粉体成型体により構成される、
請求項4に記載のステータ構造。
【請求項6】
コイル(150)は、前記第1つば部(130F)から一定の距離を保つように前記突出磁極部(120)に巻回される、
請求項1に記載のステータ構造。
【請求項7】
永久磁石を埋め込まれてN極とS極とを表面の周方向に交互に生じさせる前記ロータ(200)と、
前記ロータ(200)の周囲に配置される請求項1~6のいずれか一項にステータ(100)と、
を有する永久磁石埋込み型の同期電動機。
発明の詳細な説明
【技術分野】
【0001】
本発明は、ステータ構造及び同期電動機に関し、特に、ステータ内の磁束分布に起因する損失に配慮されたステータ構造及び同期電動機に関する。
続きを表示(約 1,200 文字)
【背景技術】
【0002】
同期電動機において、永久磁石を埋め込まれたロータの周囲に、突出磁極部にステータコイル(以下、「コイル」と言う)を巻回されるステータが存在している。この種の永久磁石埋込型の同期電動機において、ステータの突出磁極部先端のつば部の形状を調整することで、効率を高める試みが、特許文献1に記載されている。
【先行技術文献】
【特許文献】
【0003】
特開2005-27369号公報
【発明の概要】
【発明が解決しようとする課題】
【0004】
特許文献1に開示された技術は、図14に示すように、ロータ200の周囲に配置されたステータ100について、環状磁路部110から径方向内側へ向けて所定角度間隔で突出する複数の突出磁極部120を有し、突出磁極部120の先端には、ロータ200の回転方向R前方側に延伸する第1つば部130Fを設けると共に、ロータ200の回転方向R後方側のつば部を切り落としている。これにより、ステータにおける鉄損を改善しようと試みている。
【0005】
同期電動機のステータ各部の磁束分布の影響を考慮し、各種の損失を総合的に判断すると、図14に示す従来の構成では総合的に損失を軽減できず、効率を高めることが難しいと判明した。
【0006】
本発明は、以上のような課題を解決するためになされたもので、ステータ各部の磁束分布の影響による損失を軽減して効率を高めることが可能なステータ構造及び同期電動機を提供することを目的とする。
【課題を解決するための手段】
【0007】
この発明に係るステータ構造は、ロータの周囲に配置され、環状磁路部と、環状磁路部から径方向内側へ向けて所定角度間隔で突出する複数の突出磁極部とを有し、複数の突出磁極部のそれぞれの先端には、ロータの回転方向前方側に延伸する第1つば部と、ロータの回転方向後方側に延伸する第2つば部とが形成され、突出磁極部から第1つば部の回転方向前方側の端部までの第1長さL1と、突出磁極部から第2つば部の回転方向後方側の端部までの第2長さL2とは、L1<L2の関係を満たすよう構成される。
【0008】
この発明に係るステータ構造において、第1つば部の第1長さL1と第2つば部の第2長さL2とは、0.45≦(L1/L2)≦0.95の関係を満たすよう構成されていてもよい。
【0009】
この発明に係るステータ構造の突出磁極部には、コイルが集中巻として巻回される構成であってもよい。
【0010】
この発明に係るステータ構造において、複数の突出磁極部のうちの隣接する突出磁極部において、周方向に対向する第1つば部と第2つば部との間に、磁性粉体成型体により構成された磁性くさびを備えていてもよい。
(【0011】以降は省略されています)
特許ウォッチbot のツイートを見る
この特許をJ-PlatPat(特許庁公式サイト)で参照する
関連特許
多摩川精機株式会社
レバー装置
29日前
多摩川精機株式会社
角度検出信号処理装置
今日
多摩川精機株式会社
角度検出信号処理装置
5日前
多摩川精機株式会社
角度伝達カップリング
26日前
多摩川精機株式会社
結線構造、及びステータ構造
1か月前
多摩川精機株式会社
結線構造、及びステータ構造
1か月前
日本精工株式会社
回転センサ一体型軸受
13日前
個人
高圧電気機器の開閉器
14日前
個人
電気を重力で発電装置
27日前
キヤノン電子株式会社
モータ
1か月前
キヤノン電子株式会社
モータ
26日前
コーセル株式会社
電源装置
1か月前
日星電気株式会社
ケーブル組立体
1か月前
株式会社アイドゥス企画
減反モータ
14日前
トヨタ自動車株式会社
モータ
26日前
株式会社デンソー
端子台
7日前
個人
二次電池繰返パルス放電器用印刷基板
1か月前
株式会社デンソー
電力変換装置
1か月前
本田技研工業株式会社
回転電機
今日
ローム株式会社
半導体集積回路
5日前
トヨタ自動車株式会社
固定子の加熱装置
1か月前
矢崎総業株式会社
給電装置
6日前
矢崎総業株式会社
電源回路
13日前
株式会社TMEIC
制御装置
6日前
株式会社日立製作所
回転電機
5日前
ローム株式会社
モータドライバ回路
21日前
山洋電気株式会社
モータ
1か月前
個人
非対称鏡像力を有する4層PWB電荷搬送体
21日前
日産自動車株式会社
ロータシャフト
21日前
日産自動車株式会社
ロータシャフト
21日前
トヨタ自動車株式会社
ステータの製造装置
27日前
大和ハウス工業株式会社
敷設用機器
6日前
トヨタ自動車株式会社
可変界磁ロータ
29日前
株式会社土井製作所
ケーブル保護管路
5日前
株式会社アイシン
電力変換装置
26日前
個人
電線盗難防止方法及び電線盗難防止装置
1か月前
続きを見る
他の特許を見る