TOP
|
特許
|
意匠
|
商標
特許ウォッチ
Twitter
他の特許を見る
公開番号
2025167467
公報種別
公開特許公報(A)
公開日
2025-11-07
出願番号
2024072097
出願日
2024-04-26
発明の名称
角度伝達カップリング
出願人
多摩川精機株式会社
代理人
個人
,
個人
,
個人
,
個人
主分類
F16D
3/04 20060101AFI20251030BHJP(機械要素または単位;機械または装置の効果的機能を生じ維持するための一般的手段)
要約
【課題】互いに直交するX方向、Y方向、及びZ方向について、回転角度変化の中心軸に沿う方向をZ方向とし、XY方向の変位だけでなく、Z方向の変位も含めたXYZ方向の変位を、従来より簡易な構造により吸収する角度伝達カップリングを提供する。
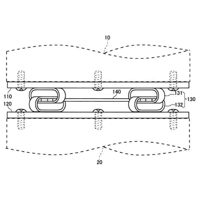
【解決手段】2軸間で回転角度変化を伝達する角度伝達カップリング100であって、互いに直交するX方向、Y方向、及びZ方向について、回転角度変化の中心軸に沿う方向をZ方向とした場合、X方向、Y方向、及びZ方向の変位を吸収しうる1以上の変位吸収体130を備え、変位吸収体130は、X方向及びZ方向の変位を吸収しうる第1吸収体131と、Y方向及びZ方向の変位を吸収しうる第2吸収体132とを有する。
【選択図】図2
特許請求の範囲
【請求項1】
2軸間で回転角度変化を伝達する角度伝達カップリング(100)であって、
互いに直交するX方向、Y方向、及びZ方向について、回転角度変化の中心軸に沿う方向を前記Z方向とした場合、前記X方向、前記Y方向、及び前記Z方向の変位を吸収しうる1以上の変位吸収体(130)を備え、
前記変位吸収体(130)は、
前記X方向及び前記Z方向の変位を吸収しうる第1吸収体(131)と、
前記Y方向及び前記Z方向の変位を吸収しうる第2吸収体(132)と、
を有する、角度伝達カップリング。
続きを表示(約 830 文字)
【請求項2】
前記第1吸収体(131)は、前記X方向及び前記Z方向に変形しうる環状弾性体により構成され、
前記第2吸収体(132)は、前記Y方向及び前記Z方向に変形しうる環状弾性体により構成される、
請求項1に記載の角度伝達カップリング。
【請求項3】
前記第1吸収体(131)を構成する前記環状弾性体には、前記Y方向を中心軸方向とする中空領域が形成され、
前記第2吸収体(132)を構成する前記環状弾性体には、前記X方向を中心軸方向とする中空領域が形成される、
請求項2に記載の角度伝達カップリング。
【請求項4】
前記第1吸収体(131)と前記第2吸収体(132)とは、前記Z方向に鎖状に互いにつなぎ合わされて構成される、
請求項3に記載の角度伝達カップリング。
【請求項5】
前記角度伝達カップリング(100)の一端に第1回転体(10)を取り付け可能な第1取り付け部(110)と、
前記角度伝達カップリング(100)の他端に第2回転体(20)を取り付け可能な第2取り付け部(120)と、
を更に有する請求項1に記載の角度伝達カップリング。
【請求項6】
前記変位吸収体(130)は、前記X方向及び前記Y方向を含む平面内に複数設けられ、
複数の前記変位吸収体(130)は、連結部材(140)により相互に結合される、
請求項1~請求項5のいずれか一項に記載の角度伝達カップリング。
【請求項7】
前記連結部材(140)は、
それぞれの前記変位吸収体(130)を構成する前記第1吸収体(131)と前記第2吸収体(132)とを接続する複数の接続片(141)と、
前記複数の接続片(141)を結合する結合部(142)と、
を含んで構成される、請求項6に記載の角度伝達カップリング。
発明の詳細な説明
【技術分野】
【0001】
本発明は、角度伝達カップリングに関し、特に、2軸間で偏心及び振動を吸収しつつ回転角度変化を伝達するフレキシブルな角度伝達カップリングに関する。
続きを表示(約 1,200 文字)
【背景技術】
【0002】
角度伝達カップリングとして、金属製ディスクのたわみを利用するディスク型、金属の円筒にスリットを入れてたわみ性を備えるスリット型、及び中間部品のスペーサの摺動を利用するオルダム型など各種のものが用いられている。この種の角度伝達カップリングの一例が特許文献1に記載されている。
【先行技術文献】
【特許文献】
【0003】
特開2013-050197号公報
【発明の概要】
【発明が解決しようとする課題】
【0004】
特許文献1に開示された角度伝達カップリング及び既存の各種カップリングは、2軸間の偏心及び振動を吸収するように構成されている。以下、偏心と振動とを総称して変位と呼ぶことにする。
【0005】
互いに直交するX方向、Y方向、及びZ方向について、回転角度変化の中心軸に沿う方向をZ方向として、XY方向の変位だけでなく、Z方向の変位も含めたXYZ方向の変位を吸収するカップリングは、構造が複雑化する問題を有している。
【0006】
このため、XY方向の変位だけでな、Z方向の変位も含めたXYZ方向の変位を、従来より簡易な構造で吸収するカップリングが望まれていた。
本発明は、以上のような課題を解決するためになされたもので、互いに直交するX方向、Y方向、及びZ方向について、回転角度変化の中心軸に沿う方向をZ方向とし、XY方向の変位だけでなく、Z方向の変位も含めたXYZ方向の変位を、従来より簡易な構造により吸収することが可能な角度伝達カップリングを提供することを目的とする。
【課題を解決するための手段】
【0007】
この発明に係る角度伝達カップリングは、2軸間で回転角度変化を伝達するものであって、互いに直交するX方向、Y方向、及びZ方向について、回転角度変化の中心軸に沿う方向をZ方向とした場合、X方向、Y方向、及びZ方向の変位を吸収しうる1以上の変位吸収体を備え、変位吸収体は、X方向及びZ方向の変位を吸収しうる第1吸収体と、Y方向及びZ方向の変位を吸収しうる第2吸収体とを有する。
【0008】
この発明に係る角度伝達カップリングにおいて、第1吸収体は、X方向及びZ方向に変形しうる環状弾性体により構成され、第2吸収体は、Y方向及びZ方向に変形しうる環状弾性体により構成されてもよい。
【0009】
この発明に係る角度伝達カップリングにおいて、第1吸収体を構成する環状弾性体には、Y方向を中心軸方向とする中空領域が形成され、第2吸収体を構成する環状弾性体には、X方向を中心軸方向とする中空領域が形成されてもよい。
【0010】
この発明に係る角度伝達カップリングにおいて、第1吸収体と第2吸収体とは、鎖状に互いにつなぎ合わされて構成されてもよい。
(【0011】以降は省略されています)
この特許をJ-PlatPat(特許庁公式サイト)で参照する
関連特許
多摩川精機株式会社
レバー装置
29日前
多摩川精機株式会社
冗長エンコーダ
1か月前
多摩川精機株式会社
角度検出信号処理装置
今日
多摩川精機株式会社
角度検出信号処理装置
5日前
多摩川精機株式会社
角度伝達カップリング
26日前
多摩川精機株式会社
ロータリーエンコーダ
1か月前
多摩川精機株式会社
結線構造、及びステータ構造
1か月前
多摩川精機株式会社
結線構造、及びステータ構造
1か月前
多摩川精機株式会社
ステータ構造及び同期電動機
1か月前
日本精工株式会社
回転センサ一体型軸受
13日前
多摩川精機株式会社
結線部材、ステータ構造、及び結線部材接続方法
1か月前
多摩川精機株式会社
電磁誘導式角度温度検出システム及び温度検出方法
1か月前
個人
留め具
1か月前
個人
鍋虫ねじ
3か月前
個人
ホース保持具
7か月前
個人
紛体用仕切弁
3か月前
個人
回転伝達機構
3か月前
個人
トーションバー
8か月前
個人
差動歯車用歯形
5か月前
個人
ジョイント
2か月前
個人
給排気装置
1か月前
株式会社不二工機
電磁弁
5か月前
個人
ナット
28日前
個人
ナット
2か月前
株式会社不二工機
電磁弁
6か月前
個人
地震の揺れ回避装置
4か月前
個人
ゲート弁バルブ
13日前
個人
吐出量監視装置
3か月前
カヤバ株式会社
緩衝器
4か月前
カヤバ株式会社
緩衝器
4か月前
カヤバ株式会社
ダンパ
5か月前
カヤバ株式会社
ダンパ
5か月前
カヤバ株式会社
緩衝器
1か月前
柿沼金属精機株式会社
分岐管
3か月前
兼工業株式会社
バルブ
29日前
株式会社三協丸筒
枠体
8か月前
続きを見る
他の特許を見る