TOP
|
特許
|
意匠
|
商標
特許ウォッチ
Twitter
他の特許を見る
10個以上の画像は省略されています。
公開番号
2025164320
公報種別
公開特許公報(A)
公開日
2025-10-30
出願番号
2024068186
出願日
2024-04-19
発明の名称
結線構造、及びステータ構造
出願人
多摩川精機株式会社
代理人
個人
,
個人
,
個人
,
個人
,
個人
主分類
H02K
3/50 20060101AFI20251023BHJP(電力の発電,変換,配電)
要約
【課題】本開示は、種々のステータ本体に対応できるように汎用性を高めることができる結線構造、及びステータ構造を提供することを目的としている。
【解決手段】本開示よる結線構造1は、バスバーホルダー10と、バスバーホルダー10上に配置された中点バスバー20と、複数のリード線端子30と、を備え、中点バスバー20には、配線111が直接接続される一つ以上の中点接続部が形成され、各リード線端子30には、配線111が直接接続される配線接続部がそれぞれ形成され、バスバーホルダー10の第一面10aには、這わされる配線111のそれぞれを固定するための複数の配線固定部が形成されている。
【選択図】図4
特許請求の範囲
【請求項1】
環状、又は環状の一部であるバスバーホルダー(10)と、
前記バスバーホルダー(10)上に配置された中点バスバー(20)と、
複数のリード線端子(30)と、
を備え、
前記中点バスバー(20)には、コイル(110)から延びる配線(111)のうち前記中点バスバー(20)に接続されるべき前記配線(111)の全てが直接接続される一つ以上の中点接続部(21)が形成されており、
各前記リード線端子(30)には、前記配線(111)のうち対応する前記リード線端子(30)に接続されるべき前記配線(111)の全てが直接接続される配線接続部(31)がそれぞれ形成されており、
各前記リード線端子(30)、及び前記中点バスバー(20)に接続するために前記配線(111)を這わせる前記バスバーホルダー(10)の一方の表面である第一面(10a)には、這わされる前記配線(111)のそれぞれを固定するための複数の配線固定部(11)が形成されている、
結線構造(1)。
続きを表示(約 1,600 文字)
【請求項2】
環状、又は環状の一部である前記バスバーホルダー(10)の中心を通る軸線を中心軸(L)としたときに、
前記複数の配線固定部(11)は、前記バスバーホルダー(10)の前記第一面(10a)から前記中心軸(L)に沿って延びる突出した部分である、
請求項1に記載された結線構造(1)。
【請求項3】
環状、又は環状の一部である前記バスバーホルダー(10)の中心を通る軸線を中心軸(L)としたときに、
前記バスバーホルダー(10)には、前記バスバーホルダー(10)の内周側の縁部に沿って一つ以上の内周側壁部(16)が形成されており、
前記一つ以上の内周側壁部(16)は、前記第一面(10a)から前記中心軸(L)に沿って延びた部分である、
請求項1に記載された結線構造(1)。
【請求項4】
前記中点バスバー(20)の形状は、前記中心軸(L)に沿ってみたときにC字状の形状であり、
前記バスバーホルダー(10)には、一つ以上の中点バスバー受け部(13)が形成されており、
各前記中点バスバー受け部(13)は、それぞれ前記バスバーホルダー(10)の前記第一面(10a)から突出した部分であり、
前記バスバーホルダー(10)に前記中点バスバー(20)を配置した状態では、前記中点バスバー(20)が、前記中点バスバー受け部(13)に対向して配置され、かつ前記中点バスバー(20)が、各前記内周側壁部(16)に対向して配置されることで、前記バスバーホルダー(10)に前記中点バスバー(20)が固定されている、
請求項3に記載された結線構造(1)。
【請求項5】
前記中点バスバー(20)の一部には、前記中心軸(L)に沿ってみたときに、C字状の外側、又は内側に膨らむ一つ以上の膨出部(22)が形成されており、
前記バスバーホルダー(10)には、前記第一面(10a)上に一つ以上の膨出受け部(12)が形成されており、
前記バスバーホルダー(10)に前記中点バスバー(20)を配置した状態では、前記膨出受け部(12)と前記膨出部(22)とが対向して配置されることで、前記バスバーホルダー(10)に前記中点バスバー(20)が固定されている、
請求項4に記載された結線構造(1)。
【請求項6】
前記バスバーホルダー(10)に配置された前記中点バスバー(20)を覆って配置されているカバー(40)を更に備え、
前記カバー(40)には、対応する前記リード線端子(30)を通すことができる一つ以上の貫通孔(41)が形成されている、
請求項1に記載された結線構造(1)。
【請求項7】
前記カバー(40)には、一つ以上の取付部(43)が形成されており、
前記バスバーホルダー(10)には、各前記取付部(43)と接続されるカバー取付部(15)が一つ以上形成されており、
対応する前記取付部(43)と、前記カバー取付部(15)とが互いに接続されることで、前記カバー(40)が前記バスバーホルダー(10)に固定される、
請求項6に記載された結線構造(1)。
【請求項8】
前記バスバーホルダー(10)の外周側の縁部には、前記配線(111)を嵌め込むことができる複数の配線溝(17)が形成されている、
請求項1に記載された結線構造(1)。
【請求項9】
前記配線溝(17)は、対応する前記コイル(110)に対して二つ形成されている、
請求項8に記載された結線構造(1)。
【請求項10】
各前記中点接続部(21)は、前記中点バスバー(20)の一部が折り曲げれてフック状に形成された部分である、
請求項1に記載された結線構造(1)。
(【請求項11】以降は省略されています)
発明の詳細な説明
【技術分野】
【0001】
本開示は、結線構造、及びステータ構造に関するものである。
続きを表示(約 2,000 文字)
【背景技術】
【0002】
従来、同心円状に多重に形成された円環状の本体支持溝のそれぞれに対応する環状、又はC字状のバスバーを有するバスバーユニットが知られている。当該バスバーは、対応するコイル線端末と接合される端子部を有しており、当該端子部は、環状、又はC字状の本体部から突出して設けられている(例えば特許文献1参照)。
【先行技術文献】
【特許文献】
【0003】
特開2011-205876号公報
【発明の概要】
【発明が解決しようとする課題】
【0004】
従来のバスバーユニットでは、対応するモータに応じて、複数のコイル線端末に対応する複数の端子部を配置するために、端子部を有する環状、又はC字状のバスバーを専用設計にて用意し、同心円状に配置していた。つまり、モータのスロット数、回路数、及び結線パターンに応じて一品一様でバスバーユニットを製造しており、たとえモータの外形が同一であったとしても専用のバスバーユニットを製造していた。このように、バスバーユニットをモータに対して一品一様で製造していたため、バスバーユニットについて、汎用性を高めることができないという問題があった。
【0005】
本開示は、上記問題を解決するために、種々のステータ本体に対応できるように汎用性を高めることができる結線構造、及びステータ構造を提供することを目的としている。
【課題を解決するための手段】
【0006】
本開示に係る結線構造は、環状、又は環状の一部であるバスバーホルダーと、バスバーホルダー上に配置された中点バスバーと、複数のリード線端子と、を備え、中点バスバーには、コイルから延びる配線のうち中点バスバーに接続されるべき配線の全てが直接接続される一つ以上の中点接続部が形成されており、各リード線端子には、配線のうち対応するリード線端子に接続されるべき配線の全てが直接接続される配線接続部がそれぞれ形成されており、各リード線端子、及び中点バスバーに接続するために配線を這わせるバスバーホルダーの一方の表面である第一面には、這わされる配線のそれぞれを固定するための複数の配線固定部が形成されている。
【0007】
本開示に係るステータ構造は、本開示の結線構造と、環状のヨーク部から径方向内側に突出する複数のティース部に対応してコイルが配置されているステータ本体と、を備え、各コイルには、各配線が電気的に接続されており、中点バスバーには、対応する配線がそれぞれ電気的に接続されている。
【発明の効果】
【0008】
本開示に係る結線構造、及びステータ構造によれば、種々のステータ本体に対応することができるように汎用性を高めることができる。
【図面の簡単な説明】
【0009】
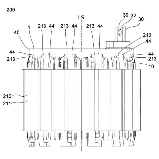
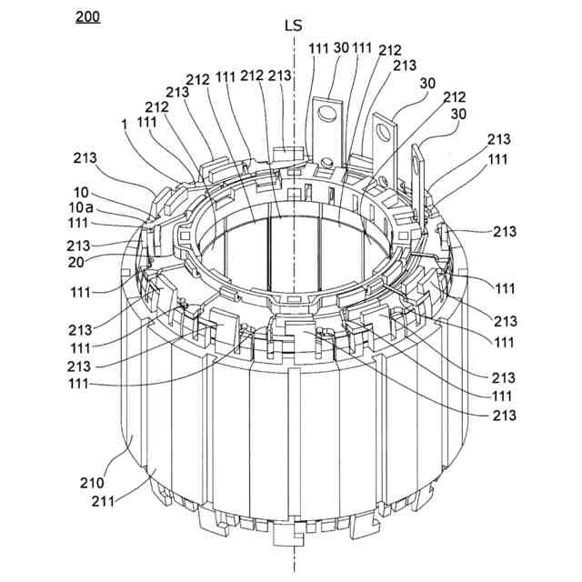
実施の形態1によるステータ構造の概略を示す斜視図である。
図1におけるステータ構造を示す上面図である。
図1におけるステータ構造を示す側面図である。
図1におけるステータ構造においてカバーを外した状態の概略を示す斜視図である。
図4におけるステータ構造を示す上面図である。
図4におけるステータ構造を示す側面図である。
図1におけるバスバーホルダーの第一面の概略を示す斜視図である。
図7におけるバスバーホルダーの第一面の反対側の面の概略を示す斜視図である。
図7におけるバスバーホルダーを示す上面図である。
図7におけるバスバーホルダーを示す側面図である。
図7におけるバスバーホルダーを示す下面図である。
図4における中点バスバーを示す斜視図である。
図1におけるリード線端子を示す斜視図である。
図1におけるカバーの概略を示す斜視図である。
図14におけるカバーの裏面の概略を示す斜視図である。
図14におけるカバーを示す上面図である。
図14におけるカバーを示す側面図である。
図14におけるカバーを示す下面図である。
図1におけるステータ本体の概略を示す斜視図である。
図1におけるステータ構造の分解図である。
【発明を実施するための形態】
【0010】
以下、本開示の実施の形態について図面を参照して説明する。
実施の形態1.
図1は、実施の形態1によるステータ構造200の概略を示す斜視図である。図2は、図1におけるステータ構造200を示す上面図である。図3は、図1におけるステータ構造200を示す側面図である。
(【0011】以降は省略されています)
特許ウォッチbot のツイートを見る
この特許をJ-PlatPat(特許庁公式サイト)で参照する
関連特許
多摩川精機株式会社
レバー装置
1か月前
多摩川精機株式会社
角度検出信号処理装置
1日前
多摩川精機株式会社
角度検出信号処理装置
6日前
多摩川精機株式会社
角度伝達カップリング
27日前
日本精工株式会社
回転センサ一体型軸受
14日前
多摩川精機株式会社
音叉型角速度センサ、その電気機械漏れ調整方法、電気機械漏れ調整システム、および慣性計測装置
今日
個人
高圧電気機器の開閉器
15日前
株式会社アイドゥス企画
減反モータ
15日前
株式会社デンソー
端子台
8日前
本田技研工業株式会社
回転電機
1日前
ローム株式会社
半導体集積回路
6日前
矢崎総業株式会社
電源回路
14日前
矢崎総業株式会社
給電装置
7日前
株式会社TMEIC
制御装置
7日前
株式会社日立製作所
回転電機
6日前
日産自動車株式会社
ロータシャフト
22日前
日産自動車株式会社
ロータシャフト
22日前
ローム株式会社
モータドライバ回路
22日前
個人
非対称鏡像力を有する4層PWB電荷搬送体
22日前
大和ハウス工業株式会社
敷設用機器
7日前
株式会社土井製作所
ケーブル保護管路
6日前
京商株式会社
模型用非接触電力供給システム
15日前
サンデン株式会社
モータ
今日
株式会社TMEIC
電力変換装置
7日前
サンデン株式会社
モータ
今日
Astemo株式会社
充電制御装置
6日前
株式会社日立産機システム
回転電機
6日前
ローム株式会社
半導体装置
6日前
矢崎総業株式会社
電気接続箱
1日前
ローム株式会社
半導体装置
6日前
本田技研工業株式会社
回転電機用ロータ
15日前
トヨタ自動車株式会社
熱利用回路
8日前
株式会社京三製作所
パルス電源装置
14日前
株式会社京三製作所
パルス電源装置
14日前
トヨタ紡織株式会社
モータコアの製造方法
6日前
日動電工株式会社
壁内配線用のブランクプレート
14日前
続きを見る
他の特許を見る