TOP
|
特許
|
意匠
|
商標
特許ウォッチ
Twitter
他の特許を見る
10個以上の画像は省略されています。
公開番号
2025162022
公報種別
公開特許公報(A)
公開日
2025-10-27
出願番号
2024065105
出願日
2024-04-15
発明の名称
結線構造、及びステータ構造
出願人
多摩川精機株式会社
代理人
個人
,
個人
,
個人
,
個人
,
個人
主分類
H02K
3/51 20060101AFI20251020BHJP(電力の発電,変換,配電)
要約
【課題】本開示は、種々のステータ本体に対応できるように汎用性を高めることができる結線構造、及びステータ構造を提供することを目的としている。
【解決手段】本開示よる結線構造1は、円環状であるバスバーホルダ10と、バスバーホルダ10の一方の面である第一面10aに配置された複数のバスバー端子20と、を備え、各バスバー端子20には、対応するコイル110に接続された配線111を直接接続することができる配線接続部20aと、対応するリード線31を接続することができるリード線端子接続部20bと、が形成されており、バスバーホルダ10の中心を通る軸線から半径方向外側に向かう任意の線上には、バスバー端子20が一つのみ配置されている。
【選択図】図1
特許請求の範囲
【請求項1】
円環状、又は円環状の一部であるバスバーホルダ(10)と、
前記バスバーホルダ(10)の一方の面である第一面(10a)に配置された複数のバスバー端子(20)と、
を備え、
各前記バスバー端子(20)には、対応するコイル(110)に接続された配線(111)を直接接続することができる配線接続部(20a)と、対応するリード線(31)を接続することができるリード線端子接続部(20b)と、が形成されており、
円環状、又は円環状の一部である前記バスバーホルダ(10)の中心を通る軸線を中心軸(L)としたときに、
前記中心軸(L)から半径方向外側に向かう任意の線上には、前記バスバー端子(20)が一つのみ配置されている、
結線構造(1)。
続きを表示(約 1,200 文字)
【請求項2】
前記バスバーホルダ(10)には、前記第一面(10a)に複数の台座部(12)が形成されており、
前記バスバー端子(20)は、前記台座部(12)に配置されている、
請求項1に記載された結線構造(1)。
【請求項3】
前記バスバーホルダ(10)は、円環状、又は円環状の一部であるホルダ本体(11)と、
前記ホルダ本体(11)の一方の面に配置された複数の台座(13)と、
を有しており、
前記ホルダ本体(11)の一方の面に各前記台座(13)が配置されることで、前記バスバーホルダ(10)にそれぞれの前記台座部(12)が形成され、
前記台座(13)のそれぞれは、前記ホルダ本体(11)の任意の位置に配置することができる、
請求項2に記載された結線構造(1)。
【請求項4】
各前記台座(13)には、固定構造部(13a)が形成されており、
前記ホルダ本体(11)には、複数の受け部(11a)が形成されており、
各前記台座(13)は、前記固定構造部(13a)が任意の前記受け部(11a)に接続されることで、前記ホルダ本体(11)に配置されている、
請求項3に記載された結線構造(1)。
【請求項5】
前記バスバーホルダ(10)の外周縁部には、前記配線(111)を嵌め込むことができる複数の配線溝(17)が形成されている、
請求項1に記載された結線構造(1)。
【請求項6】
前記配線溝(17)は、対応する前記コイル(110)に対して二つ形成されている、
請求項5に記載された結線構造(1)。
【請求項7】
前記バスバーホルダ(10)の内周縁部には、前記中心軸(L)に沿って延びる環状壁部(14)が形成されている、
請求項1に記載された結線構造(1)。
【請求項8】
前記バスバーホルダ(10)には、前記第一面(10a)から前記中心軸(L)に沿って延びる突起状、又は壁状の抑え部(15)が形成されている、
請求項1に記載された結線構造(1)。
【請求項9】
前記バスバーホルダ(10)の前記第一面(10a)に対向して配置されているカバー(40)を更に備え、
前記カバー(40)には、リード線(31)を通すことができる一つ以上の貫通孔(41)が形成されている、
請求項1に記載された結線構造(1)。
【請求項10】
前記カバー(40)には、複数の脆弱部(40a)が形成されており、
各前記脆弱部(40a)は、前記脆弱部(40a)以外の前記カバー(40)の構造よりも脆弱な構造の部分であり、
前記脆弱部(40a)を取り除くことで前記貫通孔(41)を形成することができる、
請求項9に記載された結線構造(1)。
(【請求項11】以降は省略されています)
発明の詳細な説明
【技術分野】
【0001】
本開示は、結線構造、及びステータ構造に関するものである。
続きを表示(約 1,800 文字)
【背景技術】
【0002】
従来、同心円状に多重に形成された円環状の本体支持溝のそれぞれに対応する環状、又はC字状のバスバーを有するバスバーユニットが知られている。当該バスバーは、対応するコイル線端末と接合される端子部を有しており、当該端子部は、環状、又はC字状の本体部から突出して設けられている(例えば特許文献1参照)。
【先行技術文献】
【特許文献】
【0003】
特開2011-205876号公報
【発明の概要】
【発明が解決しようとする課題】
【0004】
従来のバスバーユニットでは、対応するモータに応じて、複数のコイル線端末に対応する複数の端子部を設置するために、端子部を有する環状、又はC字状のバスバーを専用設計にて用意し、同心円状に配置していた。つまり、モータのスロット数、回路数、結線パターンに応じて一品一様でバスバーユニットを製造しており、たとえモータの外形が同一であったとしても専用のバスバーユニットを製造していた。このように、バスバーユニットをモータに対して一品一様で製造していたため、バスバーユニットについて、汎用性を高めることができないという問題があった。
【0005】
本開示は、上記問題を解決するために、種々のステータ本体に対応できるように汎用性を高めることができる結線構造、及びステータ構造を提供することを目的としている。
【課題を解決するための手段】
【0006】
本開示に係る結線構造は、円環状、又は円環状の一部であるバスバーホルダと、バスバーホルダの一方の面である第一面に設置された複数のバスバー端子と、を備え、各バスバー端子には、対応するコイルに接続された配線を直接接続することができる配線接続部と、対応するリード線を接続することができるリード線端子接続部と、が形成されており、円環状、又は円環状の一部であるバスバーホルダの中心を通る軸線を中心軸としたときに、中心軸から半径方向外側に向かう任意の線上には、バスバー端子が一つのみ配置されている。
【0007】
本開示に係るステータ構造は、本開示の結線構造と、ステータ本体と、を備え、ステータ本体は、円環状のヨーク部と、ヨーク部から径方向内側に突出する複数のティース部と、各ティース部に対応してそれぞれ配置されている複数のコイルと、各コイルにそれぞれ電気的に接続されている複数の配線と、を有し、バスバー端子には、対応する配線がそれぞれ電気的に接続されている。
【発明の効果】
【0008】
本開示に係る結線構造、及びステータ構造によれば、種々のステータ本体に対応することができるように汎用性を高めることができる。
【図面の簡単な説明】
【0009】
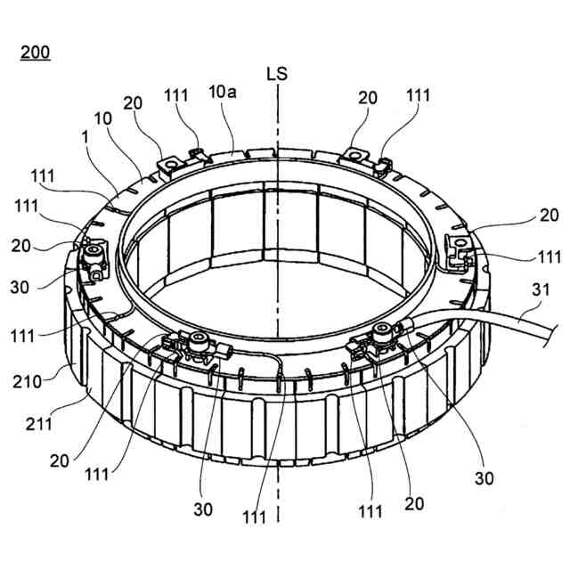
実施の形態1によるステータ構造の概略を示す斜視図である。
図1におけるステータ構造を示す上面図である。
図1におけるステータ構造を示す側面図である。
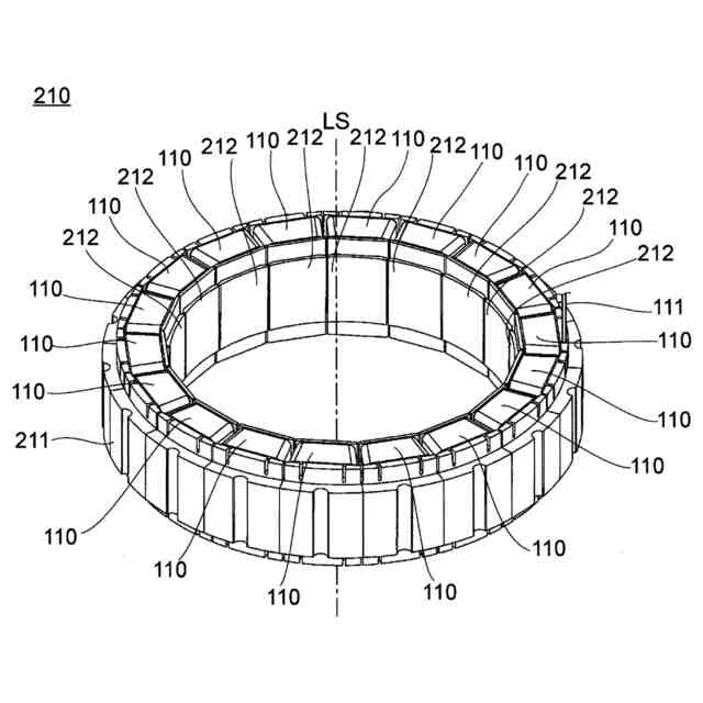
図1におけるバスバーホルダの概略を示す斜視図である。
図1におけるバスバー端子を示す斜視図である。
図1におけるバスバー端子の配置方法を示す一部切欠き斜視図である。
図1によるリード線取付機構を示す斜視図である。
図1におけるステータ本体の概略を示す斜視図である。
実施の形態2におけるホルダ本体を示す一部切欠き斜視図である。
実施の形態2における台座を示す斜視図である。
実施の形態3におけるバスバーホルダの概略を示す斜視図である。
実施の形態4におけるカバーの概略を示す斜視図である。
実施の形態4におけるバスバーホルダの概略を示す斜視図である。
【発明を実施するための形態】
【0010】
以下、本開示の実施の形態について図面を参照して説明する。
実施の形態1.
図1は、実施の形態1によるステータ構造200の概略を示す斜視図である。図2は、図1におけるステータ構造200を示す上面図である。図3は、図1におけるステータ構造200を示す側面図である。
(【0011】以降は省略されています)
この特許をJ-PlatPat(特許庁公式サイト)で参照する
関連特許
多摩川精機株式会社
レバー装置
1か月前
多摩川精機株式会社
角度検出信号処理装置
1日前
多摩川精機株式会社
角度検出信号処理装置
6日前
多摩川精機株式会社
角度伝達カップリング
27日前
日本精工株式会社
回転センサ一体型軸受
14日前
多摩川精機株式会社
音叉型角速度センサ、その電気機械漏れ調整方法、電気機械漏れ調整システム、および慣性計測装置
今日
個人
電気を重力で発電装置
28日前
個人
高圧電気機器の開閉器
15日前
キヤノン電子株式会社
モータ
1か月前
キヤノン電子株式会社
モータ
27日前
日星電気株式会社
ケーブル組立体
1か月前
コーセル株式会社
電源装置
1か月前
株式会社アイドゥス企画
減反モータ
15日前
トヨタ自動車株式会社
モータ
27日前
株式会社デンソー
端子台
8日前
個人
二次電池繰返パルス放電器用印刷基板
1か月前
株式会社デンソー
電力変換装置
1か月前
ローム株式会社
半導体集積回路
6日前
本田技研工業株式会社
回転電機
1日前
矢崎総業株式会社
電源回路
14日前
株式会社日立製作所
回転電機
6日前
株式会社TMEIC
制御装置
7日前
株式会社デンソー
非接触受電装置
1か月前
トヨタ自動車株式会社
固定子の加熱装置
1か月前
矢崎総業株式会社
給電装置
7日前
大和ハウス工業株式会社
敷設用機器
7日前
トヨタ自動車株式会社
ステータの製造装置
28日前
個人
非対称鏡像力を有する4層PWB電荷搬送体
22日前
ローム株式会社
モータドライバ回路
22日前
日産自動車株式会社
ロータシャフト
22日前
日産自動車株式会社
ロータシャフト
22日前
山洋電気株式会社
モータ
1か月前
トヨタ自動車株式会社
可変界磁ロータ
1か月前
個人
電線盗難防止方法及び電線盗難防止装置
1か月前
京商株式会社
模型用非接触電力供給システム
15日前
株式会社土井製作所
ケーブル保護管路
6日前
続きを見る
他の特許を見る