TOP
|
特許
|
意匠
|
商標
特許ウォッチ
Twitter
他の特許を見る
10個以上の画像は省略されています。
公開番号
2025157895
公報種別
公開特許公報(A)
公開日
2025-10-16
出願番号
2024060228
出願日
2024-04-03
発明の名称
グループ生成装置、グループの決定方法
出願人
日立ヴァンタラ株式会社
代理人
弁理士法人サンネクスト国際特許事務所
主分類
G06F
16/11 20190101AFI20251008BHJP(計算;計数)
要約
【課題】分散トランザクションに関するボリュームのバックアップに一貫性を持たせるためのコンシステンシーグループを自動で決定できる。
【解決手段】グループ生成装置は、複数のボリュームを含む第1サイトから複数のボリュームを含む第2サイトへのレプリケーション処理に一貫性を持たせるためのコンシステンシーグループを決定するグループ生成装置であって、第1サイトにおける分散トランザクションの関係に基づき第1サイトにおけるボリュームのグループである第1グループを1以上形成し、第2サイトにおける分散トランザクションの関係に基づき第2サイトにおけるボリュームのグループである第2グループを1以上形成し、第1グループと第2グループとの対応関係を特定し、特定した対応関係に基づき対応する第1グループおよび第2グループを同一のコンシステンシーグループに含めるグループ決定部を備える。
【選択図】図1
特許請求の範囲
【請求項1】
複数のボリュームを含む第1サイトから複数のボリュームを含む第2サイトへのレプリケーション処理に一貫性を持たせるためのコンシステンシーグループを決定するグループ生成装置であって、
前記第1サイトにおける分散トランザクションの関係に基づき前記第1サイトにおけるボリュームのグループである第1グループを1以上形成し、前記第2サイトにおける分散トランザクションの関係に基づき前記第2サイトにおけるボリュームのグループである第2グループを1以上形成し、前記第1グループと前記第2グループとの対応関係を特定し、特定した前記対応関係に基づき対応する前記第1グループおよび前記第2グループを同一の前記コンシステンシーグループに含めるグループ決定部を備える、グループ生成装置。
続きを表示(約 1,000 文字)
【請求項2】
請求項1に記載のグループ生成装置において、
前記グループ決定部は、ポッドを頂点とし、前記ボリュームへの書き込みの関係を辺とする無向グラフを作成し、接続関係にない前記無向グラフ同士を異なる前記第1グループに分類し、
前記ポッドは前記ボリュームに接続される、または前記ポッドは前記ボリュームに接続される他の前記ポッドに書き込みを行う、グループ生成装置。
【請求項3】
請求項1に記載のグループ生成装置において、
前記グループ決定部は、ソースコードを解析することにより前記分散トランザクションの関係を特定する、グループ生成装置。
【請求項4】
請求項1に記載のグループ生成装置において、
前記分散トランザクションは分散トランザクション管理フレームワークにより管理され、
前記グループ決定部は、分散トランザクション管理フレームワークのAPIを利用することにより前記分散トランザクションの関係を特定する、グループ生成装置。
【請求項5】
請求項1に記載のグループ生成装置において、
前記グループ決定部が設定した前記コンシステンシーグループを提示し、ユーザからレプリケーションの要否の指定を受けるユーザインタフェースを提供するコピーコントロール部をさらに備える、グループ生成装置。
【請求項6】
請求項1に記載のグループ生成装置において、
前記コンシステンシーグループを対象にレプリケーション処理を実行するコピーコントロール部をさらに備える、グループ生成装置。
【請求項7】
複数のボリュームを含む第1サイトから複数のボリュームを含む第2サイトへのレプリケーション処理に一貫性を持たせるためのコンシステンシーグループを決定するグループの決定方法であって、
前記第1サイトにおける分散トランザクションの関係に基づき前記第1サイトにおけるボリュームのグループである第1グループを1以上形成することと、
前記第2サイトにおける分散トランザクションの関係に基づき前記第2サイトにおけるボリュームのグループである第2グループを1以上形成することと、
前記第1グループと前記第2グループとの対応関係を特定することと、
特定した前記対応関係に基づき対応する前記第1グループおよび前記第2グループを同一の前記コンシステンシーグループに含めることと、を含むグループの決定方法。
発明の詳細な説明
【技術分野】
【0001】
本発明は、グループ生成装置、およびグループの決定方法に関する。
続きを表示(約 2,500 文字)
【背景技術】
【0002】
ストレージの分野におけるバックアップ処理の1つとして、レプリケーション処理が知られている。特許文献1には、メモリに結合されたプロセッサを含む少なくとも1つの処理デバイスを含む装置が示されている。この、少なくとも1つの処理デバイスは、アクティブ-アクティブ構成における第1のストレージシステムと第2のストレージシステムとの間の第1の同期レプリケーションセッションの第1の整合性グループに追加されるストレージボリュームを識別し、第1のストレージシステムと第2のストレージシステムとの間で追加されたストレージボリュームのための第2の同期レプリケーションセッションを作成し、1つ以上の指定された基準に応答して第1および第2の同期レプリケーションセッションをマージするように構成される。第2の同期レプリケーションセッションは、例示的に、第1の同期レプリケーションセッションから完全に独立するように構成される。1つ以上の指定された基準に応答して第1および第2の同期レプリケーションセッションをマージすることは、例示的に、指定された定常状態に到達する第2の同期レプリケーションセッションに応答して第1および第2の同期レプリケーションセッションをマージすることを含む。
【先行技術文献】
【特許文献】
【0003】
米国特許第11275765号明細書
【発明の概要】
【発明が解決しようとする課題】
【0004】
特許文献1に記載されている発明では、分散トランザクションに関するボリュームのバックアップに一貫性を持たせるためのコンシステンシーグループを自動で決定できない。
【課題を解決するための手段】
【0005】
本発明の第1の態様によるグループ生成装置は、複数のボリュームを含む第1サイトから複数のボリュームを含む第2サイトへのレプリケーション処理に一貫性を持たせるためのコンシステンシーグループを決定するグループ生成装置であって、前記第1サイトにおける分散トランザクションの関係に基づき前記第1サイトにおけるボリュームのグループである第1グループを1以上形成し、前記第2サイトにおける分散トランザクションの関係に基づき前記第2サイトにおけるボリュームのグループである第2グループを1以上形成し、前記第1グループと前記第2グループとの対応関係を特定し、特定した前記対応関係に基づき対応する前記第1グループおよび前記第2グループを同一の前記コンシステンシーグループに含めるグループ決定部を備える。
本発明の第2の態様によるグループの決定方法は、複数のボリュームを含む第1サイトから複数のボリュームを含む第2サイトへのレプリケーション処理に一貫性を持たせるためのコンシステンシーグループを決定するグループの決定方法であって、前記第1サイトにおける分散トランザクションの関係に基づき前記第1サイトにおけるボリュームのグループである第1グループを1以上形成することと、前記第2サイトにおける分散トランザクションの関係に基づき前記第2サイトにおけるボリュームのグループである第2グループを1以上形成することと、前記第1グループと前記第2グループとの対応関係を特定することと、特定した前記対応関係に基づき対応する前記第1グループおよび前記第2グループを同一の前記コンシステンシーグループに含めることと、を含む。
【発明の効果】
【0006】
本発明によれば、分散トランザクションに関するボリュームのバックアップに一貫性を持たせるためのコンシステンシーグループを自動で決定できる。
【図面の簡単な説明】
【0007】
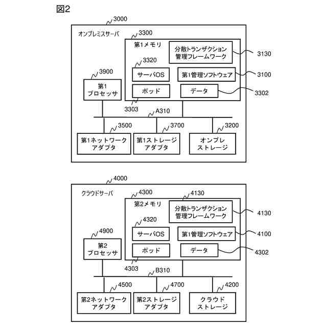
データ同期システムの全体構成図
オンプレミスサーバおよびクラウドサーバのハードウエア構成図
コンシステンシーコピーコントローラのハードウエア構成図
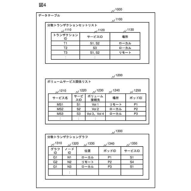
データテーブルに含まれる分散トランザクションセットリスト、ボリュームサービス関係リスト、および分散トランザクショングラフの一例を示す図
データテーブルに含まれる関連リスト、整合性グループセット、およびレプリケーションリストの一例を示す図
グループ決定部の処理を示すフローチャート
図6のステップS32においてソースコードを解析する場合の詳細処理を示すフローチャート
無向グラフの一例を示す図
図6のステップS32においてAPIを利用する場合の詳細処理を示すフローチャート
ユーザインタフェースの一例を示す図
【発明を実施するための形態】
【0008】
―第1の実施の形態―
以下、図1~図10を参照して、データ同期システムの第1の実施の形態を説明する。
【0009】
図1は、データ同期システム1の全体構成図である。データ同期システム1は、オンプレミスサーバ3000と、クラウドサーバ4000と、コンシステンシーコピーコントローラ6000と、を備える。コンシステンシーコピーコントローラ6000は、オンプレミスサーバ3000上のシステムをレプリケーション元、クラウドサーバ4000上のシステムをレプリケーション先とするレプリケーションを行う。オンプレミスサーバ3000およびクラウドサーバ4000は、いわゆるアクティブ-アクティブ構成である。
【0010】
以下では、オンプレミスサーバ3000を「ローカル」とも呼び、クラウドサーバ4000を「リモート」とも呼ぶ。ただしオンプレミスサーバ3000およびクラウドサーバ4000は、環境が異なることを示す典型的な環境として名称を挙げているにすぎず、「第1サイト」や「第2サイト」と呼ぶこともできる。また、第1サイトと第2サイトの物理的な距離は不問であり、同一のサーバラック内でもよいし数千kmや数万kmの隔たりがあってもよい。
(【0011】以降は省略されています)
この特許をJ-PlatPat(特許庁公式サイト)で参照する
関連特許
個人
詐欺保険
1か月前
個人
縁伊達ポイン
1か月前
個人
職業自動販売機
14日前
個人
RFタグシート
1か月前
個人
5掛けポイント
21日前
個人
QRコードの彩色
1か月前
個人
ペルソナ認証方式
29日前
個人
地球保全システム
1か月前
個人
自動調理装置
1か月前
個人
情報処理装置
24日前
個人
農作物用途分配システム
1か月前
個人
残土処理システム
1か月前
個人
インターネットの利用構造
28日前
個人
タッチパネル操作指代替具
1か月前
個人
サービス情報提供システム
16日前
個人
知的財産出願支援システム
1か月前
個人
携帯端末障害問合せシステム
1か月前
個人
スケジュール調整プログラム
1か月前
株式会社キーエンス
受発注システム
1か月前
個人
食品レシピ生成システム
1か月前
株式会社キーエンス
受発注システム
1か月前
個人
エリアガイドナビAIシステム
29日前
株式会社キーエンス
受発注システム
1か月前
株式会社ケアコム
項目選択装置
24日前
キヤノン株式会社
印刷システム
1か月前
株式会社ワコム
電子ペン
23日前
株式会社ケアコム
項目選択装置
24日前
キヤノン株式会社
画像認識装置
8日前
キヤノン株式会社
情報処理装置
8日前
個人
帳票自動生成型SaaSシステム
1か月前
キヤノン株式会社
情報処理装置
22日前
個人
音声・通知・再配達UX制御構造
1か月前
エッグス株式会社
情報処理装置
1か月前
キヤノン株式会社
表示システム
1か月前
トヨタ自動車株式会社
通知装置
1か月前
株式会社ワコム
電子ペン
23日前
続きを見る
他の特許を見る